P-0107-002 - 第150页
在线预览 P-0107-002 PDF 文档。



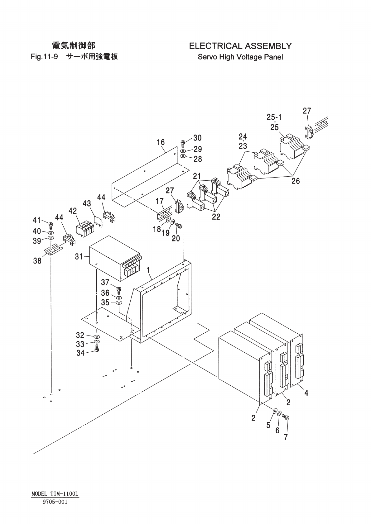
Key No. PART No. PART NAME Q'ty REMARKS REGISTERED No.
1 630 067 6020 BRACKET 1 648BE-21B-009
2 630 062 9088 UNIT,DRIVER 2 648JF-21D-511
4 630 062 9095 UNIT,DRIVER 1 648JF-21D-512
5 411 141 4107 WASHER V 5X10X1 12 FW5
6 411 141 6705 WASHER SPR 5 12 SW5
7 630 000 7749 BOLT,HEX-SCT 12 M5X10
16 630 062 1686 BRACKET 1 648GC-21V-003
18 411 119 2104 WASHER V 4X9X0.8 5 FW4 F
19 411 008 1706 WASHER SPR 4 5 SW4 F
20 411 043 5004 SCR PAN 4X8 5 M4X8 PAN
21 630 059 1934 ACCESSORY,RELAY 3 648GD-21D-509
22 630 059 1958 TIMER 3 648GD-21D-505
23 630 059 2016 EM-CONTACTOR 2 648GC-21D-505
24 630 059 1910 ACCESSORY,RELAY 2 648GC-21D-508
25 630 059 2023 EM-CONTACTOR 1 648GC-21D-504
25 -1 630 059 1927 ACCESSORY,RELAY 1 648GC-21D-509
26 616 121 5031 CONTACTOR 3 648GC-21D-506 1CC4S26000380
27 616 121 3600 TERMINAL HOLDER 2 648GB-21D-523 1CC4J36200010
31 630 039 8267 UNIT,POWER 1 648GB-21D-504
32 411 119 2104 WASHER V 4X9X0.8 8 FW4 F
33 411 008 1706 WASHER SPR 4 8 SW4 F
34 411 043 5004 SCR PAN 4X8 4 M4X8 PAN
35 411 141 4305 WASHER V 6X12.5X1.6 4 FW6
36 411 141 3001 WASHER SPR 6 4 SW6
37 630 000 7886 BOLT,HEX-SCT 4 M6X16
39 411 119 2104 WASHER V 4X9X0.8 3 FW4 F
40 411 008 1706 WASHER SPR 4 3 SW4 F
41 411 043 5004 SCR PAN 4X8 3 M4X8 PAN
42 616 121 3556 TERMINAL 4 648GB-21D-518 1CC4J36000061
43 616 121 3594 END PLATE 1 648GB-21D-522 1CC4J36400021
44 616 121 3600 TERMINAL HOLDER 2 648GB-21D-523 1CC4J36200010
NOTE
11-9
9705-001
MODEL TIM-1100L