P-0107-002 - 第161页
Key No. PART No. PART NAME Q'ty REMARKS REGISTERED No. 1 630 064 2100 BOX 1 648GH-21B-006 2 616 121 9695 BRACKET 3 648GH-21B-002 1CC2FC1005530 3 616 121 4706 CONNECTOR 24 648HG-21D-511 1CC4J13006190 4 411 141 4008 W…


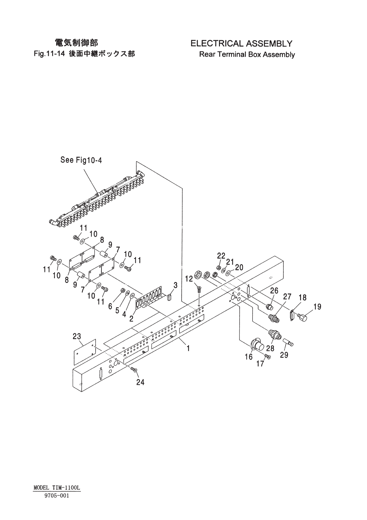
Key No. PART No. PART NAME Q'ty REMARKS REGISTERED No.
1 630 064 2100 BOX 1 648GH-21B-006
2 616 121 9695 BRACKET 3 648GH-21B-002 1CC2FC1005530
3 616 121 4706 CONNECTOR 24 648HG-21D-511 1CC4J13006190
4 411 141 4008 WASHER V 4X9X0.8 6 FW4
5 411 141 2905 WASHER SPR 4 6 SW4
6 411 141 0307 NUT HEX 4 6 M4
7 616 901 4810 PRINTED BOARD 6 648HG-21D-501 1CC4B18000121
8 616 123 8603 PRINTED BOARD ASSY 6 1CC0B18100061
9 630 061 2646 ACCESSORY,P.C.B 18 648HG-21D-524
10 411 119 1909 WASHER V 3X7X0.5 18 FW3 F
11 411 041 8908 SCR PAN 3X6 18 M3X6 PAN
12 411 108 7103 SCR FLT 3X10 6 M3X10 FLT
16 616 121 4904 CONNECTOR 1 648HB-21D-507 1CC4J13004041
17 411 034 7208 SCR FLT 3X8 3 M3X8 FLT
18 616 121 4928 CONNECTOR 1 648HB-21D-520 1CC4J13002120
19 616 121 4935 CONNECTOR HOLDER 2 648HB-21D-521 1CC4J13400011
26 616 121 4911 RECEPTACLE 1 648HB-21D-522 1CC4J11500030
27 616 125 6492 SELECTOR SWITCH 1 648GH-21D-503 1CC4S13500370
28 616 121 4126 PUSH SWITCH 1 648GH-21D-504 1CC4S11000220
29 616 121 4133 PUSH SWITCH 1 648GH-21D-505 1CC4S11000170
NOTE
11-14
9705-001
MODEL TIM-1100L
