P-0107-002 - 第169页
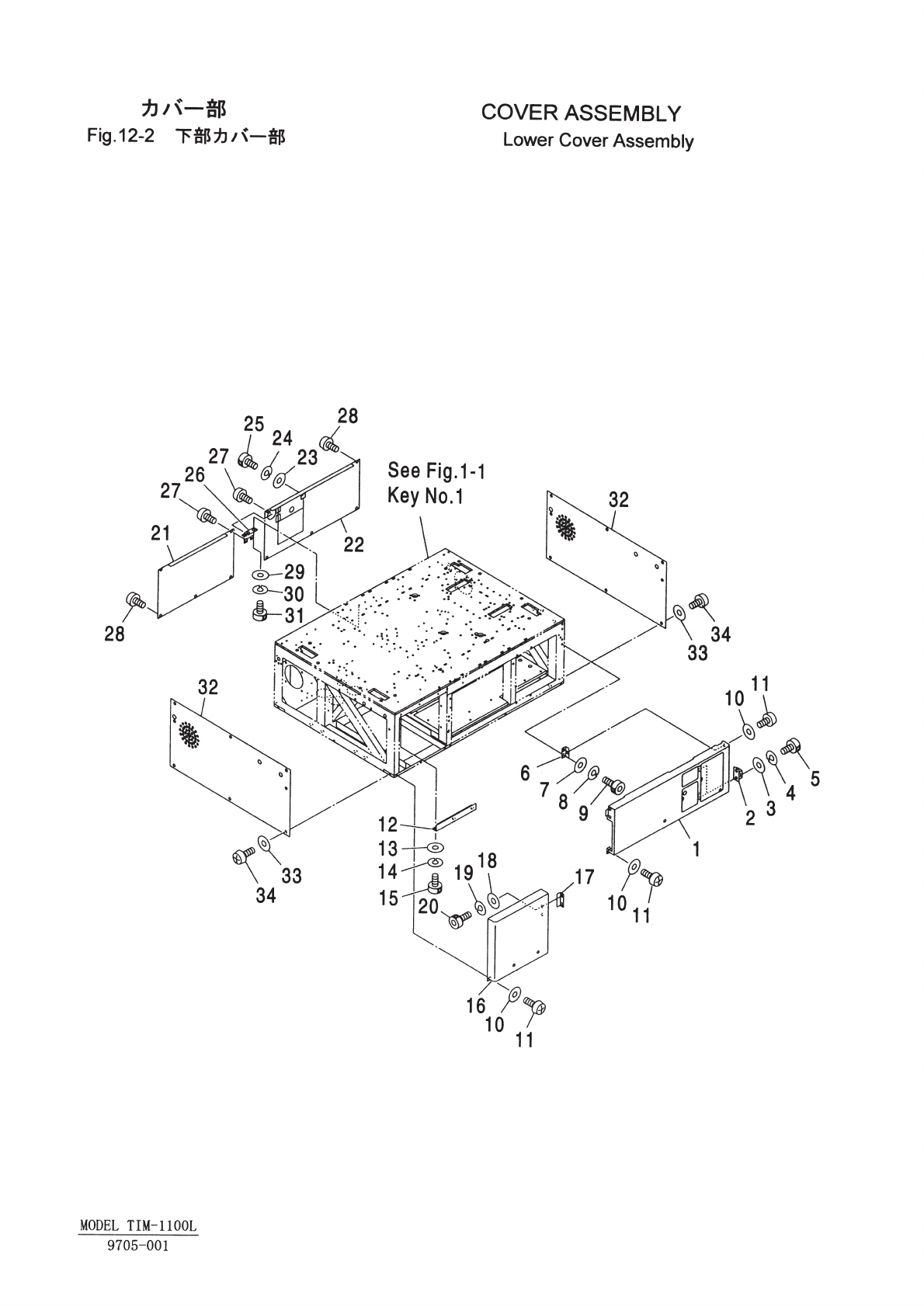
Key No. PART No. PART NAME Q'ty REMARKS REGISTERED No. 1 630 057 8553 COVER 1 648BE-21B-020 2 616 121 7219 MAGNET CATCH 2 648BE-21H-535 1CC2FG1000080 3 411 119 1909 WASHER V 3X7X0.5 4 FW3 F 4 411 086 4408 WASHER SPR…


Key No. PART No. PART NAME Q'ty REMARKS REGISTERED No.
1 630 057 8553 COVER 1 648BE-21B-020
2 616 121 7219 MAGNET CATCH 2 648BE-21H-535 1CC2FG1000080
3 411 119 1909 WASHER V 3X7X0.5 4 FW3 F
4 411 086 4408 WASHER SPR 3 4 SW3 F
5 411 042 0703 SCR PAN 3X8 4 M3X8 PAN
6 616 125 8489 HOLDER 2 648BE-21B-025 1CC2FC0506871
7 411 141 4107 WASHER V 5X10X1 4 FW5
8 411 141 6705 WASHER SPR 5 4 SW5
9 630 000 7749 BOLT,HEX-SCT 4 M5X10
10 411 141 4107 WASHER V 5X10X1 4 FW5
11 411 113 9109 SCR TRS 5X10 4 M5X10 TRS
12 616 121 6946 HOLDER 1 648BE-21B-026 1CC2FC0506881
13 411 141 4107 WASHER V 5X10X1 3 FW5
14 411 141 6705 WASHER SPR 5 3 SW5
15 630 000 7749 BOLT,HEX-SCT 3 M5X10
16 616 121 6892 COVER 1 648BE-21B-021 1CC2CA0504771
17 616 121 6960 BRACKET 1 648BE-21B-028 1CC2FC1005251
18 411 141 4008 WASHER V 4X9X0.8 2 FW4
19 411 141 2905 WASHER SPR 4 2 SW4
20 630 000 7626 BOLT,HEX-SCT 2 M4X10
21 616 121 6915 COVER 1 648BE-21B-023 1CC2CA0504790
22 616 121 6908 COVER 1 648BE-21B-022 1CC2CA0504780
23 411 141 4008 WASHER V 4X9X0.8 1 FW4
24 411 141 2905 WASHER SPR 4 1 SW4
25 630 000 7626 BOLT,HEX-SCT 1 M4X10
26 616 121 9725 BRACKET 1 648GH-21B-007 1CC2FC1005540
27 411 113 9109 SCR TRS 5X10 2 M5X10 TRS
28 411 113 9109 SCR TRS 5X10 10 M5X10 TRS
29 411 141 4107 WASHER V 5X10X1 2 FW5
30 411 141 6705 WASHER SPR 5 2 SW5
31 630 000 7749 BOLT,HEX-SCT 2 M5X10
32 616 121 6922 COVER 2 648BE-21B-024 1CC2CA0504801
33 411 141 4107 WASHER V 5X10X1 16 FW5
34 411 113 9109 SCR TRS 5X10 16 M5X10 TRS
NOTE
12-2
9705-001
MODEL TIM-1100L
