P-0107-002 - 第61页
Key No. PART No. PART NAME Q'ty REMARKS REGISTERED No. 1 630 057 8225 ACCESSORY,LIGHT(A) 1 648CC-21B-101 2 630 057 8270 ACCESSORY,LIGHT(DEFFUSER) 1 648CC-21B-106 3 630 057 8232 ACCESSORY,LIGHT(LED) 1 648CC-21B-102 4…


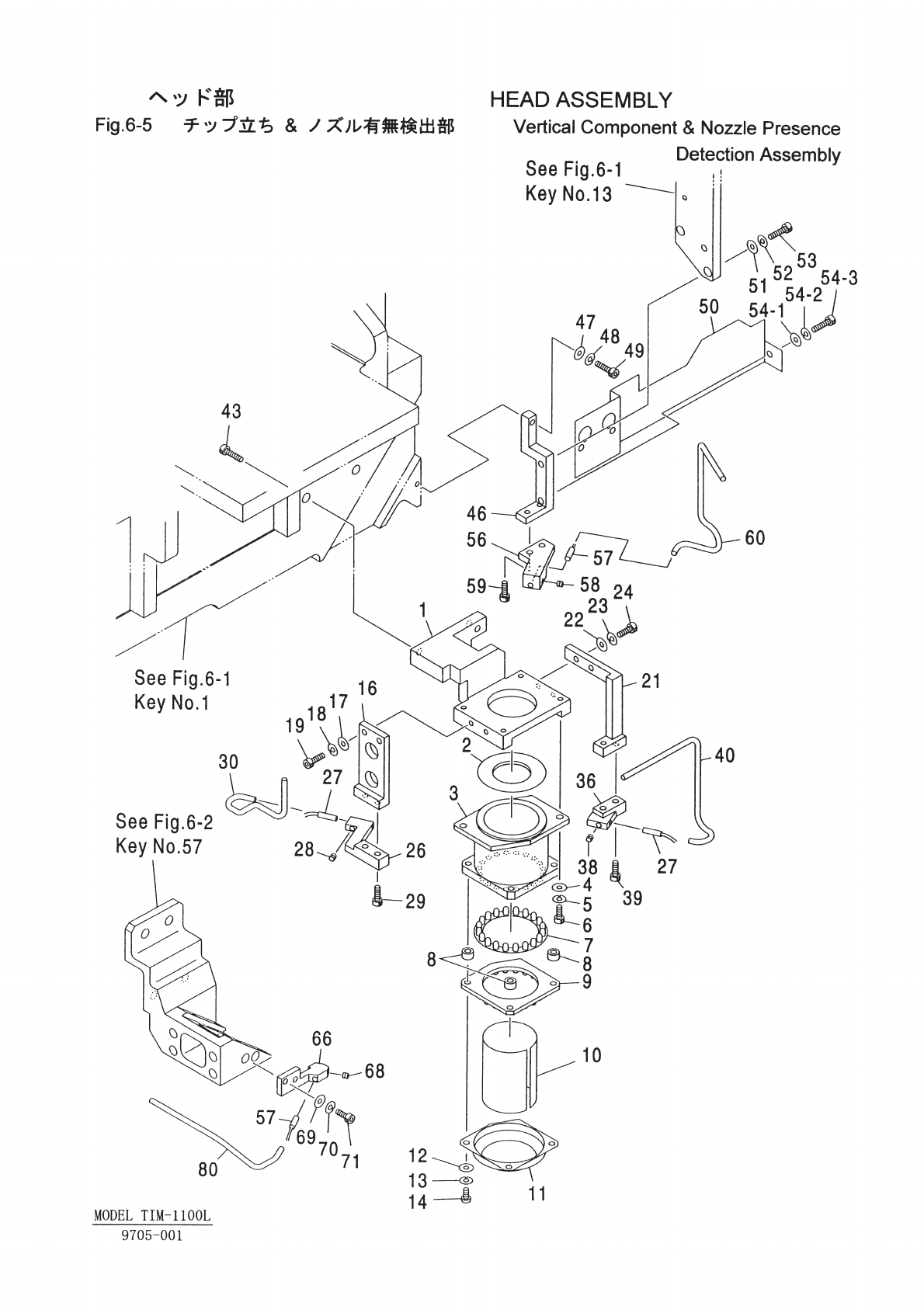
Key No. PART No. PART NAME Q'ty REMARKS REGISTERED No.
1 630 057 8225 ACCESSORY,LIGHT(A) 1 648CC-21B-101
2 630 057 8270 ACCESSORY,LIGHT(DEFFUSER) 1 648CC-21B-106
3 630 057 8232 ACCESSORY,LIGHT(LED) 1 648CC-21B-102
4 411 141 3902 WASHER V 3X7X0.5 4 FW3
5 411 141 2806 WASHER SPR 3 4 SW3
6 630 000 7527 BOLT,HEX-SCT 4 M3X10
7 630 057 8263 P.C.BOARD(LED) 1 648CC-21V-502
8 616 122 2282 SPACER 3 648CC-21H-506 1CC4S60500120
9 630 057 8249 ACCESSORY,LIGHT(LED) 1 648CC-21V-501
10 630 062 8678 SHEET(DIFFUSER) 1 648CC-21B-109
11 630 057 8256 ACCESSORY,LIGHT(LED HOOD) 1 648CC-21B-104
12 411 141 3902 WASHER V 3X7X0.5 3 FW3
13 411 141 2806 WASHER SPR 3 3 SW3
14 630 062 8739 BOLT,HEX-SCT(BUTTON HEAD) 3 648CC-21H-604
16 616 124 1160 HOLDER 1 648CC-21B-021 1CC2FC0506962
17 411 141 3902 WASHER V 3X7X0.5 2 FW3
18 411 141 2806 WASHER SPR 3 2 SW3
19 630 000 7527 BOLT,HEX-SCT 2 M3X10
21 616 125 7390 HOLDER 1 648CC-21B-023 1CC2FC0506972
22 411 141 3902 WASHER V 3X7X0.5 2 FW3
23 411 141 2806 WASHER SPR 3 2 SW3
24 630 000 7527 BOLT,HEX-SCT 2 M3X10
26 616 122 2138 BRACKET 1 648CC-21B-025 1CC2FC1005301
27 616 122 2268 FIBER 1 648CC-21H-503 1CC4V23500430
28 630 000 8883 SET SCREW 1 M3X4 SET
29 630 000 7510 BOLT,HEX-SCT 2 M3X8
30 616 122 2176 TUBE 1 648CC-21B-033 1CC2BF2001270
36 616 122 2145 BRACKET 1 648CC-21B-027 1CC2FC1005311
38 630 000 8883 SET SCREW 1 M3X4 SET
39 630 000 7510 BOLT,HEX-SCT 2 M3X8
40 616 122 2183 TUBE 1 648CC-21B-035 1CC2BF2001280
43 630 000 7633 BOLT,HEX-SCT 2 M4X12
46 616 125 7369 HOLDER 1 648CC-21B-015 1CC2FC0506953
47 411 141 3902 WASHER V 3X7X0.5 1 FW3
48 411 141 2806 WASHER SPR 3 1 SW3
49 630 000 7534 BOLT,HEX-SCT 1 M3X12
50 616 125 7246 COVER 1 648HH-21B-025 1CC2CA0505691
51 411 141 3902 WASHER V 3X7X0.5 1 FW3
52 411 141 2806 WASHER SPR 3 1 SW3
53 630 000 7510 BOLT,HEX-SCT 1 M3X8
56 616 125 7376 BRACKET 1 648CC-21B-017 1CC2FC1005282
57 616 122 2251 FIBER 1 648CC-21H-501 1CC4V23500440
58 630 000 8883 SET SCREW 1 M3X4 SET
59 630 000 7503 BOLT,HEX-SCT 2 M3X6
60 616 122 2152 TUBE 1 648CC-21B-029 1CC2BF2001250
66 616 125 7383 BRACKET 1 648CC-21B-019 1CC2FC1005293
68 630 000 8883 SET SCREW 1 M3X4 SET
69 411 141 3902 WASHER V 3X7X0.5 2 FW3
70 411 141 2806 WASHER SPR 3 2 SW3
71 630 000 7510 BOLT,HEX-SCT 2 M3X8
NOTE
6-5
9705-001
MODEL TIM-1100L

Key No. PART No. PART NAME Q'ty REMARKS REGISTERED No.
80 616 122 2169 TUBE 1 648CC-21B-031 1CC2BF2001260
NOTE
6-5
9705-001
MODEL TIM-1100L