00190970-02 - 第217页
5 Visionfunktionen Betriebsanleitung SIPLACE 80S-20/F4/F4-6 5.1 Übersicht über die Visi onsysteme an den SIPLACE 80S-20/F4/F4-6 - Automaten Ausgabe 07/97 ab Softwareversion SR.403.xx 5 - 10 Einricht er Abb. 5.1.7 Visiona…

Betriebsanleitung SIPLACE 80S-20/F4/F4-6 5 Visionfunktionen
Ausgabe 07/97 ab Softwareversion SR.403.xx 5.1 Übersicht über die Visionsysteme an den SIPLACE 80S-20/F4/F4-6 - Automaten
Einrichter 5 - 9
Abb. 5.1.6 Lage der BE-Kamerasysteme für den IC-Bestückkopf
➀
IC-Kamerasystem
➁
FC-(Flipchip)Kamerasystem
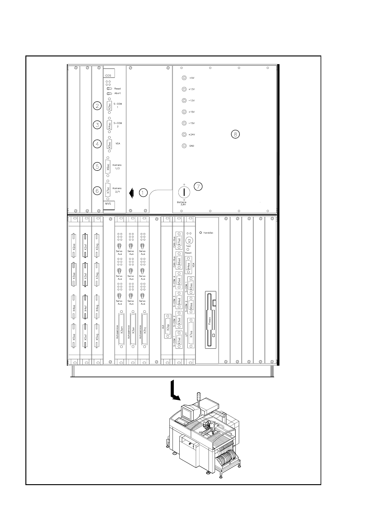
Die Auswerteeinheit (ICOS-MVS - System), im Steuereinschub des Automaten untergebracht (siehe Abb.
5.1.7, Seite 5 - 10) verarbeitet und wertet die Signale der LP- und BE-Kamerasysteme des 12er Revolver-
und IC-Bestückkopfs aus. Aus den Sollwertabweichungen werden Korrekturwerte ermittelt, die wiederum in
die Neuberechnung der Bestückpositionen und Drehwinkel der zu bestückenden Bauelemente eingehen.
Legende Abb. 5.1.7:
➀
LP- und BE- Vision-Auswerteeinheit
➁
COM1
➂
COM2
➃
Bildschirmanschluß
➄
Kameraanschlüsse
➅
Kameraanschlüsse
1LP-Kamera 2IC-Kopf-Kamera
3 BE-Kamera 12er Revolverkopf 4 FC-Kamera
➆
Batterie
➇
Netzteil
1 2

5 Visionfunktionen Betriebsanleitung SIPLACE 80S-20/F4/F4-6
5.1 Übersicht über die Visionsysteme an den SIPLACE 80S-20/F4/F4-6 - Automaten Ausgabe 07/97 ab Softwareversion SR.403.xx
5 - 10 Einrichter
Abb. 5.1.7 Visionauswerteeinheit am SIPLACE 80F
4
-Bestückautomaten

Betriebsanleitung SIPLACE 80S-20/F4/F4-6 5 Visionfunktionen
Ausgabe 07/97 ab Softwareversion SR.403.xx 5.1 Übersicht über die Visionsysteme an den SIPLACE 80S-20/F4/F4-6 - Automaten
Einrichter 5 - 11
5.1.3 Visionsysteme am SIPLACE 80F
4
-6 - Bestückautomaten
Am Einfachportalsystem des SIPLACE 80F
4
-6-Automaten (siehe Abb. 5.1.8) sitzen ein 6er Revolverbestück-
kopf und ein IC-Bestückkopf. Der Revolverbestückkopf ist mit einem Kamerasystem für die BE-Lageerken-
nung ausgestattet (siehe Abb. 5.1.9, Seite 5 - 12). Die Kamerasysteme (bis zu zwei) für die BE-
Lageerkennung des IC-Bestückkopfes sind am Maschinenständer befestigt (siehe Abb. 5.1.6, Seite 5 - 9).
Abb. 5.1.8 Lage der Bestückköpfe und des LP-Visionsystems am SIPLACE 80F
4
-6
➀
IC-Bestückkopf
➁
6er Revolverbestückkopf
➂
LP-Visionsystem an der Portalunterseite
Während der 6er Revolverbestückkopf Bauelemente bis zu einer Größe von 32 mm x 32 mm optisch zentriert
und bestückt, deckt der IC-Kopf das Bauelementespektrum bis zu einer Größe von 55 mm x 55 mm ab.
Das Kamerasystem zur LP-Lageerkennung befindet sich auf der Portalunterseite. Es zentriert standardmäßig
Leiterplatten der Größen von minimal 50 mm x 50 mm bis 460 mm x 460 mm, optional bis 508 mm x 460 mm.
Die Leiterplattendicke darf sich dabei im Bereich zwischen 0,5 mm und 3 mm bewegen.