00190970-02 - 第323页
5 Visionfunktionen Betriebsanleitung SIPLACE 80S-20/F4/F4-6 5.7 Leitfaden zum Beschreiben von Gehäuseformen Ausgabe 07/97 ab Softwarevers ion SR.403.xx 5 - 116 Einric hter Abb. 5.7.4 F lußdiagramm ’Programmieren und Test…

Betriebsanleitung SIPLACE 80S-20/F4/F4-6 5 Visionfunktionen
Ausgabe 07/97 ab Softwareversion SR.403.xx 5.7 Leitfaden zum Beschreiben von Gehäuseformen
Einrichter 5 - 115
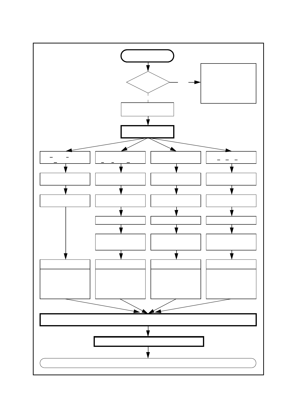
Abb. 5.7.3 Flußdiagramm ’Programmieren und Testen einer Gehäuseform (GF), Teil 1 - Linienrechner
Beachten Sie bitte, daß bei
den Standard-GF’s durch
BE-TESTEN eine Änderung
der BE-Erkennung vorge-
nommen werden kann.
(nötigenfalls GF-file
[_.SST file] umkopieren)
Ja
GF
Datei vor-
handen ?
GF Datei mit Nr. >1499
programmieren
Nein
Gehäusetyp wählen
Unregelmäßige
FDC
Regelmäßige
F
ully defined Comp.
Partially defined
C
omponent
Ball Grid Array
Anwenderkommentar
eintragen
Anwenderkommentar
eintragen
Anwenderkommentar
eintragen
Anwenderkommentar
eintragen
GF-Nennmaße und
Toleranzwerte
GF-Nennmaße und
Toleranzwerte
GF-Nennmaße und
Toleranzwerte
GF-Nennmaße und
Toleranzwerte
KörperdimensionenKörperdimensionen Körperdimensionen
Beinchengruppen-,
Beinchenmodell-
daten programm.
Beinchengruppen-,
Beinchenmodell-
daten programm.
Ballraster-,
Ballmodelldaten
programm.
Neues Bauelement
Bearbeitungsdaten
Pipettentyp (Kamera)
Sensorsystemtyp
Vakuumchecks / Bearbei-
tungsparameter / Redu-
zier. Beschleunigungen
Bearbeitungsdaten
Pipettentyp (Kamera)
Sensorsystemtyp
Vakuumchecks / Bearbei-
tungsparameter / Redu-
zier. Beschleunigungen
Bearbeitungsdaten
Pipettentyp (Kamera)
Sensorsystemtyp
Vakuumchecks / Bearbei-
tungsparameter / Redu-
zier. Beschleunigungen
Bearbeitungsdaten
Pipettentyp (Kamera)
Sensorsystemtyp
Vakuumchecks / Bearbei-
tungsparameter / Redu-
zier. Beschleunigungen
SICHERN
Fortsetzung der Programmierung an der Station (siehe Abb. 5.7.4)
Datei - Zusatzinformationen programmieren

5 Visionfunktionen Betriebsanleitung SIPLACE 80S-20/F4/F4-6
5.7 Leitfaden zum Beschreiben von Gehäuseformen Ausgabe 07/97 ab Softwareversion SR.403.xx
5 - 116 Einrichter
Abb. 5.7.4 Flußdiagramm ’Programmieren und Testen einer Gehäuseform (GF), Teil 2 - Stationsrechner
Nein
Programm und Rüstung mit dieser Gehäuseform an Station schicken und rüsten
Im „Visionsystem“ „BE testen“ GF nach Bedarf verändern
Revolverkopf
GF (BE) abholen
IC-Bestückkopf
GF (BE) abholen
BE darstellen BE messen
GF (BE) prüfen
Return für nächsten Meßschritt
BE darstellen
GF (BE) prüfen
Return für nächsten Meßschritt
GF (BE) messen
Tritt
Fehlermeldung
auf ?
Ja
Meßvorgang mehrmals wieder-
holen (BE auf Pipette verschieben
simuliert Abholen versch. BE) und
Resultate überprüfen
Immer gleich ?
Ja
Mehrmals bestücken !
Wichtiger Hinweis:
Das Manipulieren von
Bauelementen an der Station
muß die Ausnahme bleiben.
Im allgemeinen müssen nur
wenige Bauelemente verändert
werden.
8. Kontrast programmieren
(Tafel programmieren)
7. Pin/Ball-Dimensionen
verändern
6. Pin/Ball-Kontrast verändern
5. Bauteildimension verändern
4. Meßmodi und Meßparameter
verändern
3. Beleuchtung verändern
2. Bauelement darstellen
1. Hantierfehler: Abholwinkel,
Pipettentyp, BT an Pipette, etc.
Nein

Betriebsanleitung SIPLACE 80S-20/F4/F4-6 5 Visionfunktionen
Ausgabe 07/97 ab Softwareversion SR.403.xx 5.7 Leitfaden zum Beschreiben von Gehäuseformen
Einrichter 5 - 117
5.7.3 Bauformen und mögliche Meßmethoden zur Grob- (G) und Fein-
zentrierung (F)
*) LEAD mit kombinierten Auswertefenstern für jede PIN-Reihe ersetzt die CORNER-Meßmethode.
Die Messung der Teilung wird durch eine Messung der (normierten) Beinchenabweichung ersetzt.
Sind einer oder mehrere der Resultatswerte außerhalb der Toleranz,
so wird das Bauelement nicht bestückt.
Wird das Bauelement korrekt zentriert, kann auf zusätzliche Meßmethoden verzichtet werden. Führen Sie
dennoch alle Grobzentrierschritte aus, da diese die Meßfenster verkleinern.
–
Im Menü ’BE-Testen’ wird die optische Zentrierung der Bauelemente über die Funktion ’BE prüfen’ in den
einzelnen Meßschritten ohne Ausgabe der Meßresultate durchgeführt.
–
Im Menü ’BE-Testen’ wird die optische Zentrierung der Bauelemente über die Funktion ’BE messen’ in
allen Meßschritten mit Ausgabe von Meßresultaten durchgeführt.
Bauform
SIZE
ROW
CORNER
Lead *)
Kombinierte
Lead Separate
Auswertefenster
Grid
Ball
Resultat des letztes Meßschritts
PDC ohne Beinchen G/F
∆
X,
∆
Y, (
∆φ
), BE-Länge
Breite, (Qualität)
PDC rund abbildend G/F Winkeltoleranz
Kleine FDCs, z.B.
2 Beinchen
G/F
∆
X,
∆
Y, (
∆φ
), BE-Länge
Breite, (Qualität)
FDC regelmäßig mit
kurzen PIN-Reihen
G F (F)
Max. Abweichung von der Teilung:
∆
X,
∆
Y,
∆φ,
(Qualität)
FDC regelmäßig mit
langen PIN-Reihen
G F (F)
Max. Abweichung von der Teilung:
∆
X,
∆
Y, (
∆φ
),
Qualität
FDC
un
regelmäßig mit
kurzen PIN-Reihen
G(G)F(F)
∆
X,
∆
Y, Anzahl PINs (Qualität)
max. Abweichung der Teilung
FDC unregelmäßig mit
langen PIN-Reihen
G(G)F(F)
∆
X,
∆
Y, Anzahl PINs (Qualität)
max. Abweichung der Teilung
FDC unregelmäßig mit
einer PIN-Reihe, meh-
reren PIN-Modellen
oder Teilung
GGF
∆
X,
∆
Y, (
∆φ
), normierte Beinchen-
abweichung (Qualität)
Anzahl PINs Sekundäroffset
FDCs mit kreisseg-
mentförmigen PIN-
Anordnungen
(G) G F
∆
X,
∆
Y, (
∆φ
), normierte Beinchen-
abweichung (Qualität)
Anzahl PINs Sekundäroffset
BGA, Flip-Chip G G F
∆
X,
∆
Y, (
∆φ
), Teilung,
Winkel,
Qualität)
Tab. 5.7.1 Meßmethoden für Bauelemente