P-195-001e - 第63页
MODEL TCM-3000Z-2 0108-001 61 Key No. P AR T No. P AR T NAME Q’ ty REMARKS NOTE 3-15 1 630 048 9736 SUPPOR T 2 628K--03B-062 2 41 1 141 4305 W ASHER V 6X12.5X1.6 4 F W 6 3 41 1 141 3001 W ASHER SPR 6 4 S W 6 4 630 000 79…

MODEL TCM-3000Z-2
0108-001
60
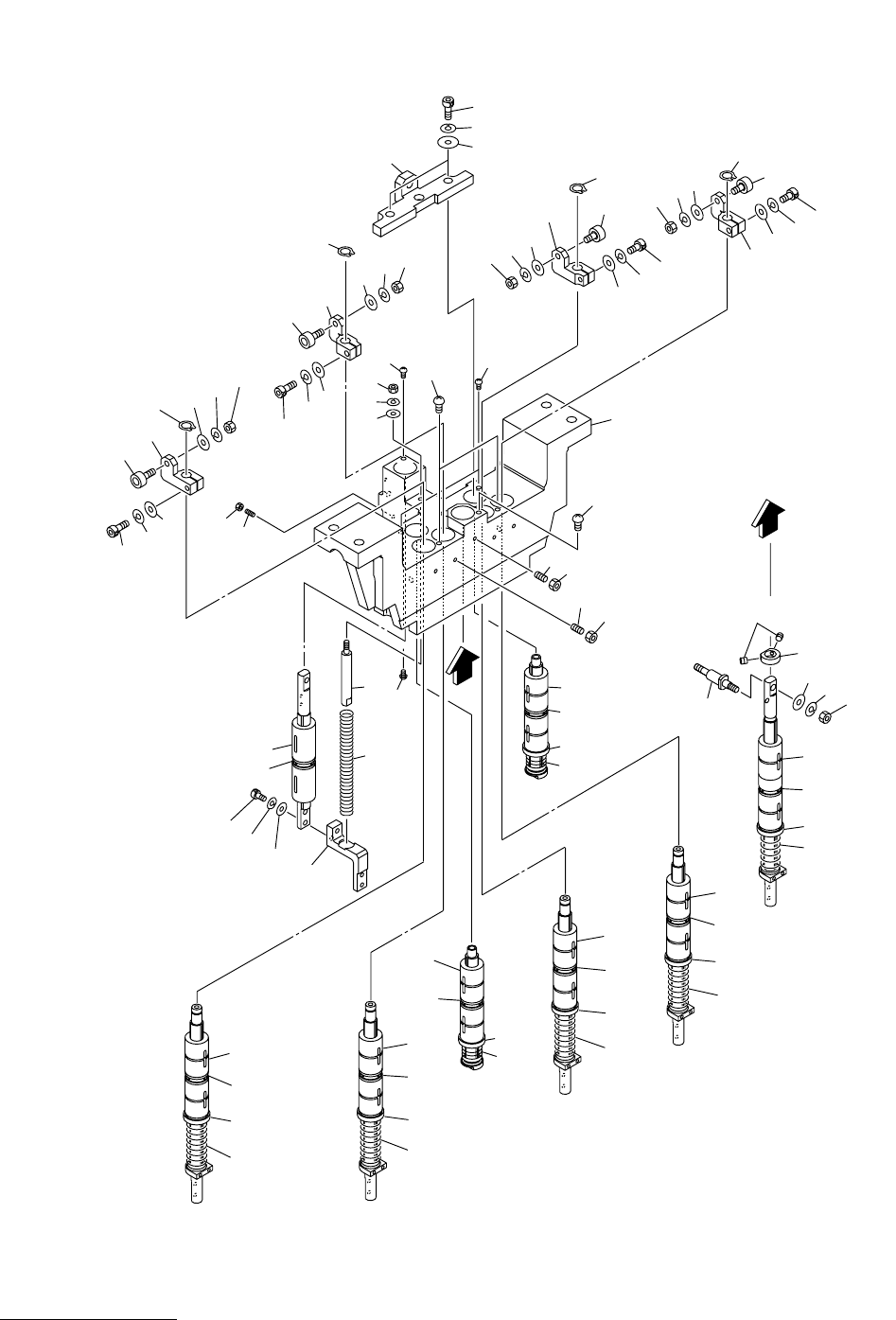
ࡋ࠶࠼㚟േㇱ HEAD DRIVING SECTION
Fig. 3-15 ࠞࡓゲ㧙 3 ࠬ࠻࠶ࡄ Cam Shaft-3 Stopper
11
11
12
12
15
15
16
13
14
17
21
20
22
19
19
18
18
5
6
7
8
See Fig.1-1
Key No.13
15
16
11
12
12
15
15
15
16
16
16
13
14
14
17
17
20
20
21
21
22
22
19
18
1
1
2
3
4
54
55
56
57
57
58
58
53
52
52
51
10
10
Fig.3-15
TCM-3000Z-2

MODEL TCM-3000Z-2
0108-001
61
Key No. PART No. PART NAME Q’ty REMARKS
NOTE
3-15
1 630 048 9736 SUPPORT 2 628K--03B-062
2 411 141 4305 WASHER V 6X12.5X1.6 4 FW6
3 411 141 3001 WASHER SPR 6 4 SW6
4 630 000 7923 BOLT,HEX-SCT 4 M6X35
5 630 052 1559 PLATE 1 628K--03B-063
6 411 141 4305 WASHER V 6X12.5X1.6 4 FW6
7 411 141 3001 WASHER SPR 6 4 SW6
8 630 000 7909 BOLT,HEX-SCT 4 M6X25
10 630 060 4856 ASSY,LEVER(STOPPER TYPE3) 4
11 630 051 6494 BASE 1 628K--03B-093
12 630 055 2881 SHAFT 1 628K--03B-030
13 630 048 7251 LEVER 1 628K--03B-032
14 630 000 8944 SET SCREW 1 M5X6 SET
15 630 001 1272 BEARING,RADIAL 2 628K--03H-012
16 411 051 1708 SCR TRS 4X6 4 M4X6 TRS
17 630 060 4931 ASSY,CYLINDER(STOPPER R) 4 SV22, SV25, SV26, SV27
17 -1 630 055 2874 CYLINDER 1 628K--03H-053
17 -2 630 000 0436 CASE,CONN 1
17 -3 630 000 4281 CABLE JOINT,TERMINAL 2
18 411 118 8503 NUT HEX 5 4 M5 F
19 630 000 8630 BOLT,HEX 4 M5X20 HEX
20 630 029 1391 WASHER 16 628K--03H-048
21 411 141 6705 WASHER SPR 5 16 SW5
22 630 000 7770 BOLT,HEX-SCT 16 M5X20
51 630 051 3813 PIPE FITTINGS 1 628K--03H-054
52 630 003 7814 PIPE FITTINGS 1
53 630 003 7791 PIPE FITTINGS 2
54 411 141 3902 WASHER V 3X7X0.5 2 FW3
55 411 141 2806 WASHER SPR 3 2 SW3
56 630 000 7572 BOLT,HEX-SCT 2 M3X25

MODEL TCM-3000Z-2
0108-001
62
ࡋ࠶࠼㚟േㇱ HEAD DRIVING SECTION
Fig. 3-16 ࠹ࡊㅍࠅㇱ 1 Tape Feed Section-1
21
21-1
21-2
21-3
21
21
21-1
21-1
21-2
21-2
21-3
21-3
21
21-1
21-2
21-3
21-3
22
12
12
11
11-1
11-3
15
15
16
17
11-2
11-2
20
19
18
21
21
21-1
21-2
21-3
25-1
26
27
27
28
28
29
33
33
32
31
31
30
13
13
14
14
10
23
24
24
25-4
29
28
27
26
26
31
32
33
30
25-2
31
32
33
29
29
28
28
27
26
30
51-1
56
56
57
57
58
59
47
47
55
55
52
52
52
52
53
53
54
54
50
50
49
49
48
48
42
43
43
44
44
45
45
46
46
41
41
41-1
41-1
41-2
41-3
41
41-1
41-2
41-3
51
51
33
25-3
26
27
28
29
29
32
31
30
A
A
Fig.3-16
TCM-3000Z-2