KE-2070-2080保守(Maintenance Guide) - 第256页
Rev1.00c 维修调整要领书 15-6. 传感器调整 接近传感器 :40002120 AWC ORG SENS ASM 图 15−6−1 15-7. 驱动器支架的安装 支撑台用 5 箱步进马达驱动器 A WC 用 5 箱步进马达驱动器 XY驱动器 驱动器架 或 5 箱步进马达驱动器 5 箱步进马达驱动器 图 15−7−1 注)安装位置为 XY 驱动器装置的上侧。(机器正面) 15-9

Rev1.00c
维修调整要领书
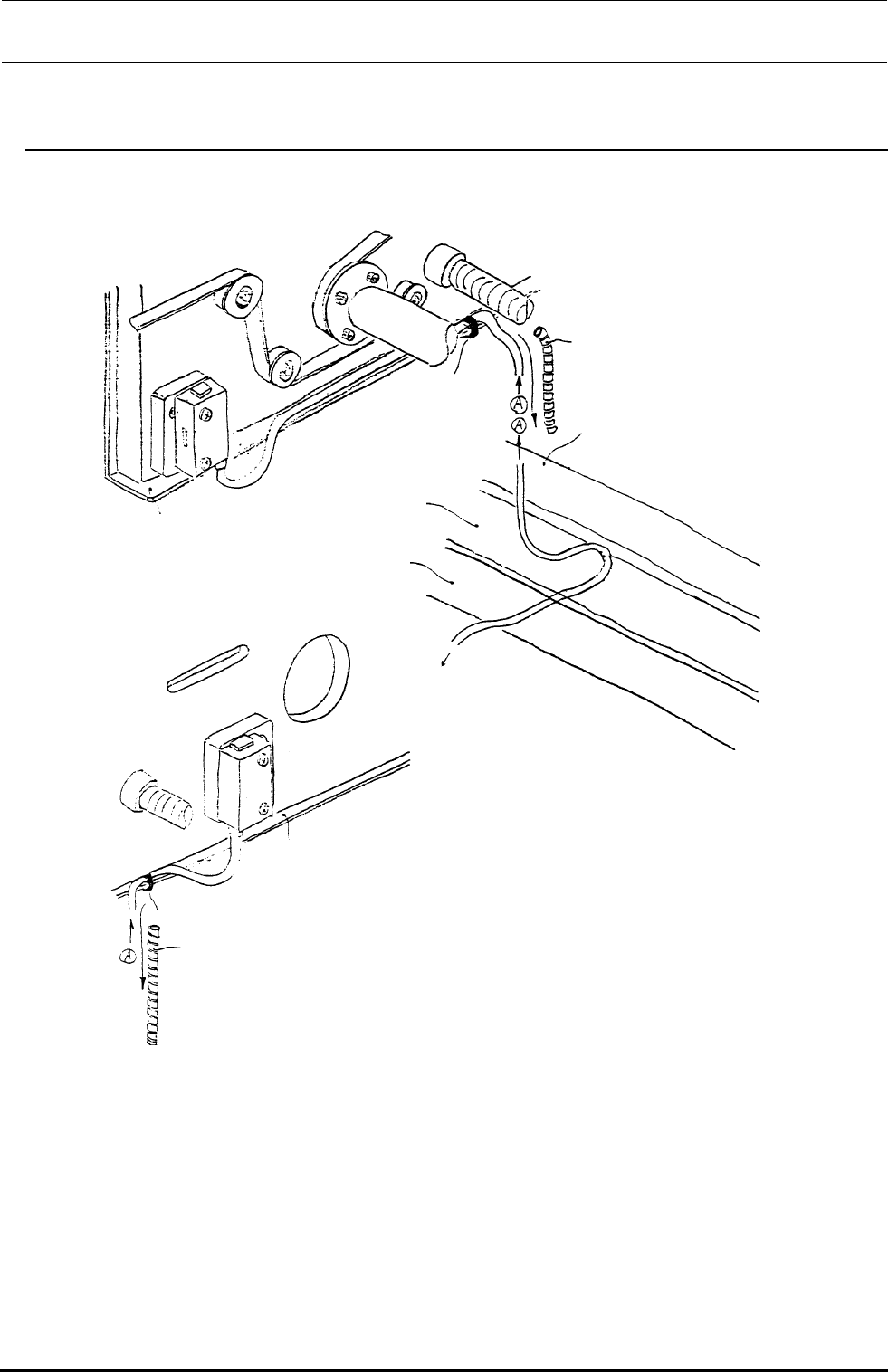
15-5-2.支撑销检测传感器的安装(束线)
L、E 尺寸
HX003140000
ス
图15−5−2−1
パイラルチューブ
0.5 m
ート RL
ベースフレ
Y L
レ トRR
HX003140000
スパイラルチューブ
0.5 m
束
ベ
ド
螺旋软管
螺旋软管
在固定的位置卷绕螺旋软管
HX003140000。
束线分别使用轨板 RR、
轨板RL的孔用束线带固定。
束線バン
束线带
ースバー
底座条
(基板へ)
通基板
線バンド
束线带
ールプレー
轨板 RR
軸フレーム R/
Y
轴架 R/L
ーム
底座
レールプレ
轨板 RL
有电磁阀的一侧,为了防止被挂住,穿过 Y 轴架的下面,从 Y 轴架和底座的间隙向上拉出。
把轨道宽度从最大←→最小移动,把束线卷到不能被电磁阀或轨道架等挂住的位置。
15-8

Rev1.00c
维修调整要领书
15-6.传感器调整
接近传感器:40002120 AWC ORG SENS ASM
图15−6−1
15-7.驱动器支架的安装
支撑台用
5 箱步进马达驱动器
A
WC 用
5 箱步进马达驱动器
XY驱动器
驱动器架
或
5 箱步进马达驱动器
5 箱步进马达驱动器
图15−7−1
注)安装位置为 XY 驱动器装置的上侧。(机器正面)
15-9

Rev1.00c
维修调整要领书
15-8.驱动器的设定
① 把设定用旋转SW按照下表进行设定。
SW名称 设定值
STOP 5
RUN C
M2(仅EN) 0
M1 0
② 把设定SW按照下表进行设定。
旋转部箭头指向设定值。
开关杆位置:
下为ON,上为OFF
RUN
STOP
SW名称 设定值
TEST OFF
2/1CK OFF
C.D OFF
L/HV ON
M.SEL OFF
M2(仅EN机)
※ [M.SEL]只适用于 EN 机
M1
15-10