P-0241-011 - 第87页
1012-006 85 Key No. P AR T No. P AR T NAME Q’ty REMARKS New Code NOTE T -5 404 6301614823 P .C.B,MOUNT 1 804T --1 10-504 4B1 1 1599 405 6301274836 LINK(KAIJYO) 1 804T --1 10-015 214B0218 406 6301265872 LEVER(GRIP) 1 804T…

0409-001
84
テープフィーダ
TAPE FEEDER
GT-72000 GT-72000
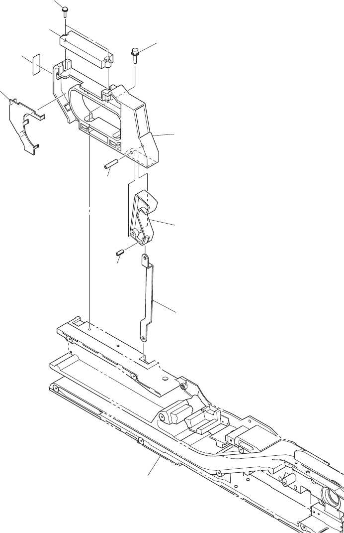
Fig.
T-5
操作パネル部
Operation Panel Section
431
405
438
436
404
407
408
406
439
440
442
445
See Fig.T-1
Key No.1
.
.

1012-006
85
Key No. PART No. PART NAME Q’ty REMARKS New Code
NOTE
T-5
404 6301614823 P.C.B,MOUNT 1 804T--110-504 4B111599
405 6301274836 LINK(KAIJYO) 1
804T--110-015 214B0218
406 6301265872 LEVER(GRIP) 1
804T--110-016 216S2642
407 6301265919 GRIP 1
804T--110-017 226D0108
408 6301265728 COVER(GRIP) 1
804T--110-018 211A8625
431 6300007657 BOLT,HEX-SCT 2
804T--110-031 221A0020
436 4111151507 SCR TPG PAN 3X12 2 804T--110-036 221N0005
438 6300010336 SPRING PIN 1
804T--110-038 221J0007
439 6301180038 SPRING PIN 1
804T--110-039 221J0058
440 4111412905 WASHER SPR 4 2
804T--110-040 221H0284
442 4111414008 WASHER V 4X9X0.8 2 804T--110-042 221H0315
445 08040008 NAME PLATE,INDEX 1
804T--110-045 08040008
GT-72000

0710-004
86
テープフィーダ
TAPE FEEDER
GT-72000 GT-72000
Fig.
T-6
モーターコントロール基板
Motor Control P.C.B.
A
506
See Fig.T-3
Key No.257
508
See Fig.T-2
Key No.139
See Fig.T-3
Key No.221
516
516
516
501
505
502
503
See Fig.T-1
Key No.2
VIEW "A"
See Fig.T-5
Key No.404