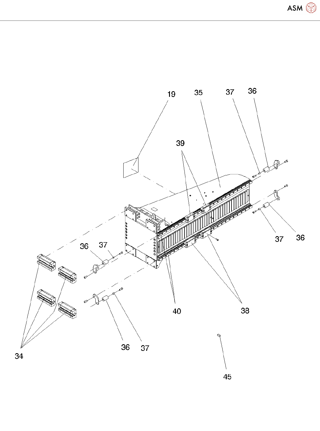
Gantry system micron X-S_X4i-S(1 3) cpl. Hxx_20211122_064421 - 第8页
Gantry system micron X-S_X4i-S(1+3) cpl. Hxx Page 8 / 19 22.11.2021

Gantry system micron X-S_X4i-S(1+3) cpl. Hxx
Page 7 / 19 22.11.2021

Gantry system micron X-S_X4i-S(1+3) cpl. Hxx
Page 8 / 19 22.11.2021

Gantry system micron X-S_X4i-S(1+3) cpl. Hxx
Page 9 / 19 22.11.2021