CN_Nordson_EFD_PROPlus_PRO_Series_Operating_Manual - 第91页
www.nordsonefd.com/cn china@nordsonefd.com +86 (21) 3866 9006 诺信 EFD 在全球范围内销售专业点胶系统并提供技术支持服务 PROPlus / PRO PROPlus / PRO 系列自动点胶系统 91 调用模式 (Call Pattern) 调用模式 (Call Pattern) 点击 点击 功能 功能 双击地址并从下拉 菜单中进行选择 使系统以类似于该程序的另一个模式运行…

www.nordsonefd.com/cn china@nordsonefd.com +86 (21) 3866 9006 诺信EFD在全球范围内销售专业点胶系统并提供技术支持服务
PROPlus / PRO PROPlus / PRO 系列自动点胶系统
90
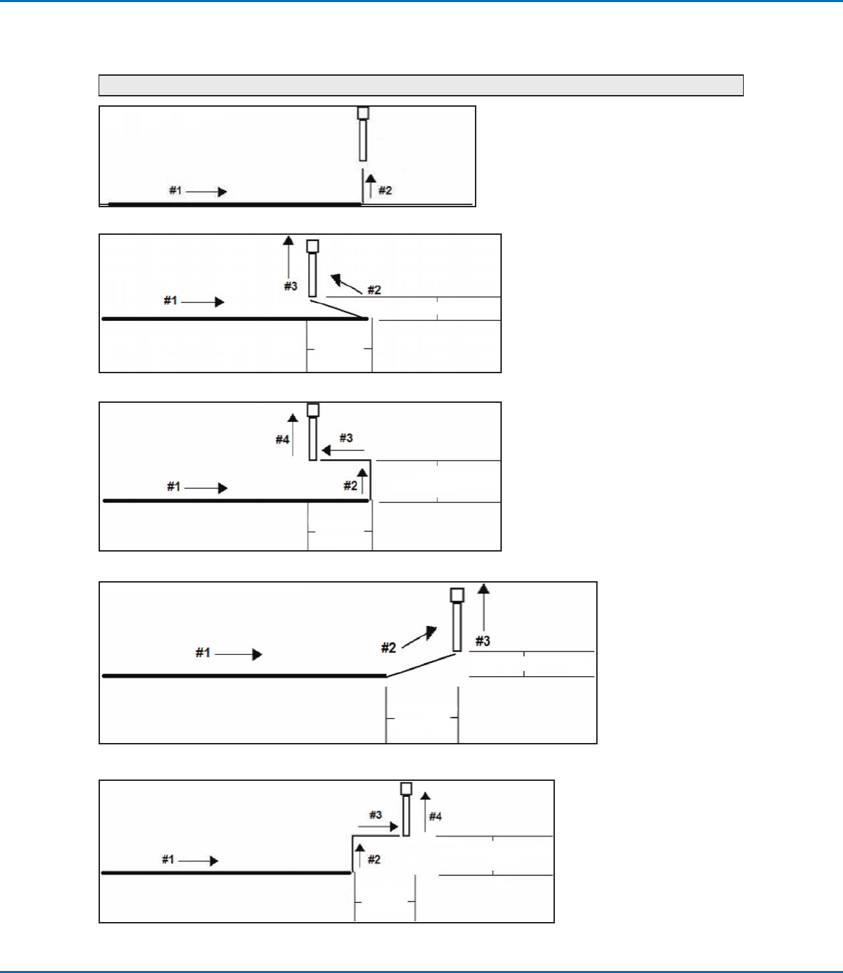
返回设置(续)返回设置(续)
返回设置图例
0或空(正常)
返回高度
1(向后)
返回高度
返回长度
2(直角向后)
返回高度
返回长度
3(向前)
返回高度
返回长度
4(直角向前)
返回高度
返回长度
附录A - 命令功能参考(续)附录A - 命令功能参考(续)

www.nordsonefd.com/cn china@nordsonefd.com +86 (21) 3866 9006 诺信EFD在全球范围内销售专业点胶系统并提供技术支持服务
PROPlus / PRO PROPlus / PRO 系列自动点胶系统
91
调用模式 (Call Pattern)调用模式 (Call Pattern)
点击点击 功能功能
双击地址并从下拉
菜单中进行选择
使系统以类似于该程序的另一个模式运行,但是位置为执行调用模式命令所在的程序的位置。该模式必须被分
配一个标签。当系统达到结束模式命令,系统停止该模式的点胶。
含有调用模式命令的程序示例
调用子程序 (Call Subtoutine)调用子程序 (Call Subtoutine)
点击点击 功能功能
双击地址并从下拉
菜单中进行选择
子程序是位于程序结尾后面的一组命令。调用子程序可使程序跳至位于指定地址的一个子程序,然后在该地址
执行命令。在到达“结束子程序”命令(位于子程序内)后,程序会继续在紧接着“调用子程序”命令后面
的地址处运行。在同一工件上任何位置重复某一图案时,调用子程序用处最大(相比于“步骤&重复”命令而
言) -- 对于后者来说,图案分别在各个直线排列并且保持固定间距的工件上重复。
含有“调用子程序”命令的程序实例
附录A - 命令功能参考(续)附录A - 命令功能参考(续)

www.nordsonefd.com/cn china@nordsonefd.com +86 (21) 3866 9006 诺信EFD在全球范围内销售专业点胶系统并提供技术支持服务
PROPlus / PRO PROPlus / PRO 系列自动点胶系统
92
摄像头触发器 (Camera Trigger)摄像头触发器 (Camera Trigger)
点击点击 功能功能
双击地址并
从下拉菜单
中进行选择
仅在“步骤&重复”程序中使用,并与“ 触发标记”和“矩阵调整”命令一起使用,以定义系统如何评估矩阵中一
行工件上的“ 触发标记”。摄像头无需暂停一行中每个工件上的每个触发标记,而是为该行中的所有触发标记拍
照,然后在行末评估它们。评估后,针头返回到行的开头以点胶在工件上,并根据需要进行调整。
摄像头在标记行上连续移动的速度可以调节。此值是基于反复试验设置的。标准值为25至50(mm / s),但高度取
决于可视区域的大小和工件表面的复杂性。
注:注:
· 关于使用此命令的详细步骤,请参见第68页“如何在步骤&重复程序中使用触发标记”。
· 为获得最佳的系统性能,请在确保可以清楚看到工件的同时,将“快门”设置(单击“摄像头”>“镜头”以访问
此设置)调得尽可能低。
· 使用摄像头触发器时,必须将路径的“步骤&重复”参数设置为“ S路径”。
参数参数 描述描述
速度 (Speed) 摄像头在矩阵中跨工件移动以执行“摄像头触发器”命令的速度。
范围:0–100 (mm/s)
圆形 (Circle)圆形 (Circle)
点击点击 功能功能
记录一个圆(圆心位于当前XYZ位置的情况下)
参数参数 描述描述
直径 圆直径(mm)
起点角度 相对于圆所在处圆心的起点角度(单位:度)。默认0度相当于时钟3:00位置。
默认 = 0(度)
值范围:0–360
注:注:您可以输入一个负值。例如,如果输入-90,圆起点将为12:00位置。
终点角度 位于角度起点值之后、点胶操作将在此停止的角度(单位:度)。
默认 = 0(度)
要想按逆时针方向点胶,可输入一个负值。
单点点胶 (Dispense Dot)单点点胶 (Dispense Dot)
点击点击 功能功能
将当前XYZ位置记录为一个Dispense Dot(单点胶点)
附录A - 命令功能参考(续)附录A - 命令功能参考(续)