JM-20-Rev06 - 第82页
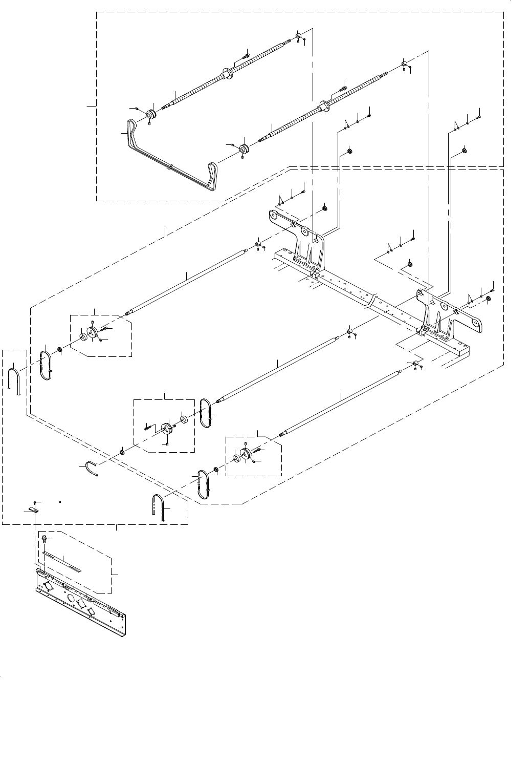
- 77 - 39. PWB CONVEYOR COMP ONENTS(15)(TYPE XL) 基板搬送関係(15) (XL 仕様) 26 25 23 24 22 26 25 23 24 22 20 20 26 21 21 12 9 15 6 5 7 11 10 8 10 13 5 14 6 7 11 14 16 27 27 19 27 28 25 23 29 24 22 19 26 21 17 30 17 18 30 18 26 2…

- 76 -
NOTE( 注記 ) *INSTALLATION POSITION AND DIRECTION VARY IF THE PWB TRANSFER
REFERENCE IS DIFFERENT.
基板搬送基準が異なると取付位置、方向が変わります。
REF.NO NOTE PART NO D E S C R I P T I O N
品 名
Qty
1 401-37180 RAIL_PLATE_RR_ASM
レールプレートRR組
1
2 E3931-750-000 PULLEY WASHER
プーリスラストワッシャ
(4)
3 401-38183 CONVEYOR_RAIL
搬送レール
(1)
4 SB-8200001-00 BEARING
ころがり軸受
(2)
5 SM-4040855-SC SCREW
なべ小ねじ M4 L=8
(2)
6 E2089-721-0A0 CONVEYOR PULLEY B ASM.
搬送プーリB組
(1)
7 E2055-721-000 PULLEY SPACER
プーリスペーサ
(1)
8 SM-4042501-SC SCREW M4X0.7 L=25
なべ小ねじ M4X0.7 L=25
(2)
9 WP-0430801-SC WASHER M4
平座金 M4
(2)
10 WS-0410002-KN SPRING WASHER M4
ばね座金 M4
(2)
11 NM-6040001-SC NUT M4X0.7 TYPE1
六角ナット M4X0.7 1種
(2)
12 SM-6051002-TN SCREW
六角穴ボルト
(8)
13 400-00839 DRIVE PULLEY R ASM
ドライブプーリR組
(2)
14 400-00840 DRIVE PULLEY R
ドライブプーリR
(1)
15 E2160-721-000 PULLEY FLANGE
プーリフランジ
(1)
16 SL-6030892-TN SCREW M3 L=8
座金付き六角穴ボルト M3 L=8
(3)
17 SL-6030892-TN SCREW M3 L=8
座金付き六角穴ボルト M3 L=8
(6)
18 E2160-721-000 PULLEY FLANGE
プーリフランジ
(2)
19 SL-6031492-TN SCREW M3 L=14
座金付き六角穴ボルト M3 L=14
(4)
20 SL-6041092-TN SCREW M4 L=10
座金付き六角穴ボルト M4 L=10
(2)
21 E2111-715-0A0 CONVEYOR PULLEY ASM.
搬送プーリ(組)
(2)
22 WP-0430800-SC WASHER M4
平座金小形丸 M4
(2)
23 401-37181 SUPPORT PLATE RR ASM
サポートプレートRR組
(1)
24 E2111-715-0A0 CONVEYOR PULLEY ASM.
搬送プーリ(組)
(6)
25 WP-0430800-SC WASHER M4
平座金小形丸 M4
(6)
26 SM-4040855-SC SCREW
なべ小ねじ M4 L=8
(6)
27 401-36816 SUPPORT_PLATE_RR
サポートパネルRR
(1)
28 E2111-715-0A0 CONVEYOR PULLEY ASM.
搬送プーリ(組)
(1)
29 WP-0430800-SC WASHER M4
平座金小形丸 M4
(1)
30 401-36814 RAIL_PLATE_RR
レールプレートRR
(1)
31 401-38303 RESIST_LIGHTEN_ROLLER_ASM
レイジストライテンローラ組
(2)
32 SM-4041201-SC SCREW M4X0.7 L=12
なべ小ねじ M4X0.7 L=12
(2)
33 WP-0430800-SC WASHER M4
平座金小形丸 M4
(2)
34 SL-6052092-TN SCREW M5 L=20
座金付き六角穴ボルト M5 L=20
2
35 401-36817 RAIL_STAND_RL
レールスタンドRL
1
36 SL-6052092-TN SCREW M5 L=20
座金付き六角穴ボルト M5 L=20
2
37 401-37167 GUIDE_SHAFT_ASM_L
ガイドシャフト組L
4
38 SL-6052042-TN SCREW
座金付き六角穴ボルト
(1)
39 WP-0501046-SC WASHER 5 X 14 X 1
平座金 5X14X1
(2)
40 401-36819 GUIDE_SHAFT_L
ガイドシャフトL
(1)
41 SL-6051292-TN SCREW M5 L=12
座金付き六角穴ボルト M5 L=12
(1)
42 SL-6041292-TN SCREW M4 L=12
座金付き六角穴ボルト M4 L=12
4
43 401-46998 CONVEYOR_SUPPORT_PLATE
搬送サポートプレート
1
44 401-36818 RAIL_STAND_RR
レールスタンドRR
1

- 77 -
39.PWB CONVEYOR COMPONENTS(15)(TYPE XL)
基板搬送関係(15)(XL 仕様)
26
25
23
24
22
26
25
23
24
22
20
20
26
21
21
12
9
15
6
5
7
11
10
8
10
13
5
14
6
7
11
14
16
27
27
19
27
28
25
23
29
24
22
19
26
21
17
30
17
18
30
18
26
26
17
18
30
33
33
31
12
9
15
8
19
4
34
28
28
2
35
32
36
3
1

- 78 -
NOTE( 注記 ) *INSTALLATION POSITION AND DIRECTION VARY IF THE PWB TRANSFER
REFERENCE IS DIFFERENT.
基板搬送基準が異なると取付位置、方向が変わります。
REF.NO NOTE PART NO D E S C R I P T I O N
品 名
Qty
1 400-00860 PWB GUIDE ASM
基板ガイド組
1
2 400-00861 PWB GUIDE U
基板ガイドU
(8)
3 SL-6031092-TN SCREW M3 L=10
座金付き六角穴ボルト M3 L=10
(16)
4 401-37200 SCREW_SHAFT_ASM_XL
スクリュウシャフト組XL
1
5 SM-8040602-TP SCREW M4X0.7 L=6
止めねじ
(4)
6 WP-0330516-SC WASHER 3.3X8X0.5
平座金 3.3X8X0.5
(4)
7 SM-6030602-TN SCREW M3X6
六角穴ボルト M3X6
(4)
8 E2141-721-000 STOPPER COLLAR
ストッパカラー
(2)
9 SM-8040402-TP SCREW M4X0.7 L=4
止めねじ M4X0.7 L=4
(4)
10 E2156-721-000 PULLEY A
プーリ A
(2)
11 WP-0320500-SF WASHER M3
平座金小形丸 M3
(8)
12 SL-6041692-TN SCREW M4 L=16
座金付き六角穴ボルトM4 L=16
(8)
13 E2146-721-000 TIMING BELT
タイミングベルト
(1)
14 SB-1080002-00 SIDE BEARING
サイドベアリング
(4)
15 400-97730 SCREW_SHAFT_XL
スクリュウシャフトXL
(2)
16 401-37201 DRIVE_SHAFT_ASM_XL
ドライブシャフト組XL
1
17 WP-0330516-SC WASHER 3.3X8X0.5
平座金 3.3X8X0.5
(6)
18 SM-6030602-TN SCREW M3X6
六角穴ボルト M3X6
(6)
19 E2141-721-000 STOPPER COLLAR
ストッパカラー
(3)
20 400-46033 DRIVE BELT S(6)
ドライブベルトS(6)
(2)
21 400-00849 DRIVE PULLEY F ASM
ドライブプーリF組
(3)
22 SL-6031642-TN SCREW
座金付き六角穴ボルト
(3)
23 400-00850 DRIVE PULLEY F
ドライブプーリF
(1)
24 SM-8040602-TP SCREW M4X0.7 L=6
止めねじ
(2)
25 400-00851 MOTOR PULLEY B
モータプーリB
(1)
26 SB-1080002-00 SIDE BEARING
サイドベアリング
(6)
27 SM-8040402-TP SCREW M4X0.7 L=4
止めねじ M4X0.7 L=4
(6)
28 400-98132 DRIVE_SHAFT_C_XL
ドライブシャフトC_XL
(3)
29 400-01005 DRIVE BELT C(L)
ドライブベルトC(L)
(1)
30 WP-0320500-SF WASHER M3
平座金小形丸 M3
(12)
31 400-01068 CONVEYOR BELT ASM(L)
搬送ベルト組(L)
1
32 SL-6031092-TN SCREW M3 L=10
座金付き六角穴ボルト M3 L=10
(16)
33 400-00863 CONVEYOR BELT S
搬送ベルトS
(4)
34 400-01070 CONVEYOR BELT C(L)
搬送ベルトC(L)
(2)
35 E2046-725-000 PWB INNER
基板インナ
(12)
36 SL-4031091-SC SCREW M3 L=10
座金付きなべ小ねじ M3 L=10
(8)