P-118-001e - 第251页
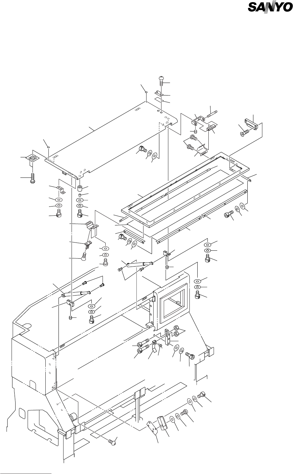
MODEL TCM-3100J 981 1-001 12- 5 Key No. PART No. PART NAME Q'ty REMA RK S 1 630 058 0921 COVER 1 659R--03B-051 2 630 035 7219 MECH PART S(URETHANES) 2 659R--03H-011 3 630 038 9708 COLLAR 2 659R--03B-060 4 411 141 40…

MODEL TCM-3100J
9811-001
カバー部 COVER SECTION
Fig.12-5 前扉 Front Cover
1
27
28
14
15
17
16
18
19
20
17
11
12
13
3
2
4
5
6
35
30
31
32
33
36
30-1
TCM-3000Z
18
19
20
35
36
31
32
33-1
39
40
41
42
49
50
51
52
53
54
55
56
43
44
45
46
47
34
34
23
24
7
9
10
22
21
8
25
23-1
23
26
26
16
16
31
32
33
16
62
63
64
65
57
50
61
58
59
60
66

MODEL TCM-3100J
9811-001
12- 5
Key No. PART No. PART NAME Q'ty REMARKS
1 630 058 0921 COVER 1 659R--03B-051
2 630 035 7219 MECH PARTS(URETHANES) 2 659R--03H-011
3 630 038 9708 COLLAR 2 659R--03B-060
4 411 141 4008 WASHER V 4X9X0.8 2 FW4
5 411 141 2905 WASHER SPR 4 2 SW4
6 630 000 7664 BOLT,HEX-SCT 2 M4X20
7 630 051 3578 SUPPORT 2 659R--03B-053
8 630 051 3585 SUPPORT 2 659R--03B-065
9 630 038 9715 PIN,HINGE 2 659R--03B-059
10 630 000 8920 SET SCREW 4 M4X6 SET
11 411 141 4107 WASHER V 5X10X1 4 FW5
12 411 141 6705 WASHER SPR 5 4 SW5
13 630 000 7756 BOLT,HEX-SCT 4 M5X12
14 630 058 2086 COVER 1 659R--03B-052
15 630 058 0938 COVER 1 659R--03B-061
16 630 051 3592 SUPPORT 4 659R--03B-062
17 630 051 3608 SUPPORT 2 659R--03B-063
18 411 141 4008 WASHER V 4X9X0.8 16 FW4
19 411 141 2905 WASHER SPR 4 16 SW4
20 630 000 7619 BOLT,HEX-SCT 16 M4X8
21 630 051 3561 SUPPORT 2 659R--03B-054
22 411 113 9109 SCR TRS 5X10 12 M5X10 TRS
23 630 003 5032 HANDLE 1 659R--03H-003
23 -1 630 060 3781 PLATE 1 659R--03B-069
24 411 140 7406 SCR FLT 5X20 2 M5X20 FLT
25 411 113 7501 SCR TRS 4X10 2 M4X10 TRS
26 630 013 8986 MECH PARTS 2 659R--03H-012
27 630 039 1763 HINGE 2 659R--03B-055
28 411 113 9109 SCR TRS 5X10 12 M5X10 TRS
30 630 038 9571 BLOCK 1 659R--03B-057
30 -1 630 039 6973 BRACKET 1 659R--03B-058
31 411 141 4107 WASHER V 5X10X1 4 FW5
32 411 141 6705 WASHER SPR 5 4 SW5
33 630 000 7800 BOLT,HEX-SCT 3 M5X35
33 -1 630 000 7763 BOLT,HEX-SCT 1 M5X16
34 630 035 6694 SPRING 2 659R--03H-001
35 630 038 9609 PIN,HINGE 4 659R--03B-056
36 630 000 8944 SET SCREW 4 M5X6 SET
39 630 050 7454 BLOCK 1 659R--03B-101
40 411 141 4305 WASHER V 6X12.5X1.6 2 FW6
41 411 141 3001 WASHER SPR 6 2 SW6
42 630 000 7923 BOLT,HEX-SCT 2 M6X35
43 630 039 2104 HOOK 1 659R--03B-102
44 630 038 9861 SPRING,TORSION 1 659R--03B-103
45 630 000 7800 BOLT,HEX-SCT 1 M5X35
46 630 000 7824 BOLT,HEX-SCT 1 M5X45
47 411 141 0505 NUT HEX 5 2 M5
49 630 058 2178 BRACKET 1 659R--03B-068
50 630 058 0457 SWITCH,LIMIT 1 659R--03H-006
51 411 119 2104 WASHER V 4X9X0.8 2 FW4 F
NOTE

MODEL TCM-3100J
9811-001
12- 5
Key No. PART No. PART NAME Q'ty REMARKS
52 411 008 1706 WASHER SPR 4 2 SW4 F
53 411 161 9007 SCR PAN 4X35 2 M4X35 PAN
54 630 001 0220 WASHER 2 BW5
55 411 141 6705 WASHER SPR 5 2 SW5
56 630 000 7756 BOLT,HEX-SCT 2 M5X12
57 630 062 0528 BRACKET 1 659R--03B-067
58 411 141 4008 WASHER V 4X9X0.8 2 FW4
59 411 141 2905 WASHER SPR 4 2 SW4
60 630 000 7619 BOLT,HEX-SCT 2 M4X8
61 411 113 5002 SCR FLT 4X12 2 M4X12 FLT
62 630 071 6399 BRACKET 1 659R--03B-066
63 411 141 4008 WASHER V 4X9X0.8 2 FW4
64 411 141 2905 WASHER SPR 4 2 SW4
65 630 000 7619 BOLT,HEX-SCT 2 M4X8
66 411 113 9109 SCR TRS 5X10 1 M5X10 TRS
NOTE