Cable trailing unit_20211118_083904 - 第6页
Cable trailing unit Page 6 / 8 18.11.2021

Cable trailing unit
Page 5 / 8 18.11.2021

Cable trailing unit
Page 6 / 8 18.11.2021

Cable trailing unit
Page 7 / 8 18.11.2021
Pos. Item no. Description Part marking
03043805-02 MODULE TRAILING-CABLE UNIT S-D
2 03039527-01 TRAILING CABLE UNIT SIPLACE S-D
PORTAL 1
SPARE PART
3 03039526-01 CHAIN S-D PORTAL 1
4 03046873-01 DISTANCE BOLT I/A M3X20
5 03046876-01 DISTANCE BOLT I/A M3X40
6 03046944-01 DISTANCE BOLT I/I M3X10
7 03043282-01 CONNECTION TRAILING-CABLE UNIT
8 03043060-01 CABLE SUPPORT PORTAL, F-D
9 03042995-01 MOUNT
10 03020516-01 CLAMPING HYBRID CABLE B = 30
11 03044462-01 PROTECTION BAND INSIDE, S-D, P1
12 03044463-01 PROTECTION BAND MIDDLE, S-D, P1
13 03044464-01 PROTECTION BAND OUTSIDE, S-D,
P1
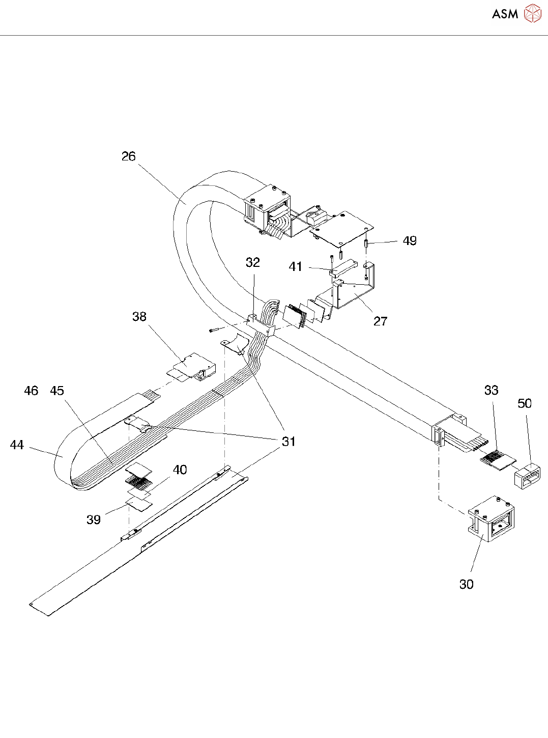
14 03044523-01 SEVENFOLD-TUBE Y-AXIS, S-D, P1
15 03044632-01 KLEMMUNG X-HALTER
16 03020530-01 CLAMPING PLATE 1.0 W 30 SPARE PART
17 03005863-01 ADHESIVE TAPE CABLE TRAILING
18 03039142-01 CABLE SET TRAILING CABLE P1 S
19 00305458-01 BK-MOD421/2 CONNECTOR PLUG
34POLE
*
20 03045268-01 PROTECTION BAND PORTAL, S/F-D
21 03045270-01 SEVENFOLD-TUBE X-AXIS, S-D
PORTAL 1
22 00318551S03 SEVENFOLD TUBE PK-3, BLACK 4
METER
SPARE PART
23 03046505-01 C4-BOARD-MOUNT CPL.
24 03042511-01 STRAIN RELIEF
25 03039530-01 TRAILING CABLE UNIT SIPLACE D2
PORTAL 2
SPARE PART
26 03039529-01 CHAIN S-D PORTAL 2
27 03038886-01 MOUNT
29 03040752-01 PLATE
30 03043282-01 CONNECTION TRAILING-CABLE UNIT
31 03043060-01 CABLE SUPPORT PORTAL, F-D
32 03042995-01 MOUNT