Components changeover table mobile productivity lift_20211123_080628 - 第6页
Components changeover table mobile productivity lift Page 6 / 18 23.11.2021

Components changeover table mobile productivity lift
Page 5 / 18 23.11.2021

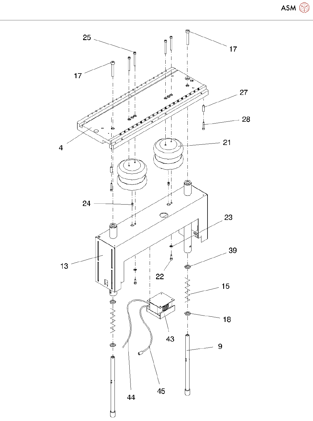
Components changeover table mobile productivity lift
Page 6 / 18 23.11.2021

Components changeover table mobile productivity lift
Page 7 / 18 23.11.2021