00192556-01 - 第153页
Sk ö tselinstruktion SIPLACE 80S-20/F4 4 Vad g ö r jag ... Programvers ion SR.407.xx Utg å va 0f1/2001 SE 4.8 Komponentv ä xlingsbord, flyttbart 153 4.8.3 Komponentv ä xlingsbord - dockning V ARNING Kontrol lera att pla …

4 Vad gör jag ... Skötselinstruktion SIPLACE 80S-20/F4
4.8 Komponentväxlingsbord, flyttbart Programversion SR.407.xx Utgåva 0f1/2001 SE
152
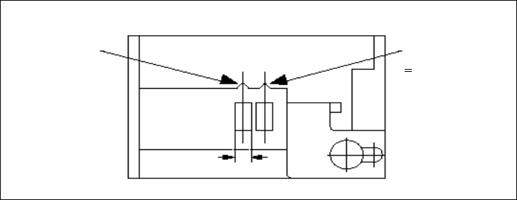
Text till bild 4.8 - 2
(1) Anslutning för kommunikationsgränssnitt
(2) Anslutning för spänningsmatning till komponentväxlingsbord
(3) Tryckluftsanslutning
(4) Komponentbordsskiva
(5) Knappar för lyftning/nedsänkning av komponentbordsskiva
(6) Spärrhylsa
(7) Fällbar bygel
(8) Hål för centrertappar
(9) Centrertappar
(10) Anliggningsytor för komponentväxlingsbordets glidskenor
(11) Horisontell spännanordning
4
4
Å I menyn MAIN VIEW (grundvy), klicka på STOP PROCESSING PCB
(Stoppa bearbetning).
Å Kretskortet som är under bearbetning färdigställs. Därefter aktiveras ikonerna för menyer för
enskilda funktioner.
Å Klicka på önskad ikon SINGLE FUNCTIONS GANTRY X (Enskilda funktioner för portal X)
(Portal 1 eller 2).
Å Klicka på ikonen GANTRY FUNCTIONS (Portalfunktioner).
Å I menyn som öppnas, klicka på GO TO SET-UP POSITION (Ställ i uppsättningsläge).
Å Aktuellt placeringshuvud ställs över kretskortstransportören, så att det inte kan skadas vid byte
av komponentbord.
Å Öppna skyddskåpan för aktuell portal.
Å Öppna sidostyckena.
Å Öppna horisontella spännanordningarna (pos 11)
Å Dra båda spärrhylsorna (pos 6) samtidigt mot dig och fäll upp bygeln (pos 7). Därvid spärras
komponentbordsskivan när den ställs i övre ändläget.
Å Tryck på knappen (pos 5) för lyftning av komponentbordsskivan (pos 4) tills komponentbords-
skivan når sitt övre ändläge.
Å Lossa kontaktdonet för spänningsmatning (pos 2) till komponentväxlingsbordet.
Å Lossa kontaktdonet för styrkabeln (pos 1).
Å Lossa kontaktdonet för tryckluftsmatningen (pos 3).
Å Dra ut komponentbordet.

Skötselinstruktion SIPLACE 80S-20/F4 4 Vad gör jag ...
Programversion SR.407.xx Utgåva 0f1/2001 SE 4.8 Komponentväxlingsbord, flyttbart
153
4.8.3 Komponentväxlingsbord - dockning
VARNING
Kontrollera att placeringshuvudet står utanför området för komponentväxlingsbordet. 4
SE UPP!
Se vid dockning av komponentväxlingsbord till att komponentbordsskivan står i övre ändläget och
att bygeln (pos 7) är uppfälld. 4
Å Korta av tomband framför matarenheterna.
Å Kontrollera att anliggningsytan (pos 10) för komponentbordsskivan är ren.
Å Skjut försiktigt in komponentväxlingsbordet i automaten.
Å Anslut kontaktdonet för tryckluftsmatningen (pos 3).
Å Anslut kontaktdonet för styrkabeln (pos 1).
Å Anslut spänningsmatningskabeln (pos 2) för komponentväxlingsbordet.
Å Dra båda spärrhylsorna (pos 6) samtidigt mot dig och fäll sedan ned bygeln (pos 7) för kom-
ponentväxlingsbordet så att komponentbordsskivan kan sänkas ned.
Å Kontrollera att centrerhålen i komponentbordsskivan står mitt för centrertapparna i automaten.
Å Tryck på knappen (pos 5) tills komponentbordsskivan når övre ändläget.
Å Släpp upp knappen. Komponentbordsskivan sänks ned
Å Se till att centrertapparna går in i centrerhålen i komponentbordsskivan och att komponent-
bordsskivan är helt nedsänkt.
Å Fäll upp bygeln (pos 7) för komponentväxlingsbordet.
Å Spärra båda horisontella spännanordningarna (pos 11).
Å Stäng sidostyckena och skyddskåpan.
Å Starta automaten med startknappen.
4

4 Vad gör jag ... Skötselinstruktion SIPLACE 80S-20/F4
4.9 Hur man undviker spårfel Programversion SR.407.xx Utgåva 0f1/2001 SE
154
4.9 Hur man undviker spårfel
4.9.1 Allmänt
Å Se till att området vid matarenheterna är rent och att det inte finns några lösa komponenter i
matarområdet resp under matarenheterna.
Å Se till att anliggningsytorna på matarenheterna och särskilt på komponentbordens magnetske-
nor är rena och utan ojämnheter.
Å Fyll på komponenter i god tid.
Å Skarva banden i god tid. Detta innebär i regel att skarvmaterial ska förberedas när det återstår
ca 1,5 m band på rullen.
Å Handskas försiktigt med matarenheterna när de sätts in i eller tas bort från komponentbordet
eftersom det rör sig om känslig precisionsutrustning.
Å Se till att inte komma åt programknapparna när matarenheterna sätts in. Annars finns det risk
att t ex stegningen för 8mm S-matare ändras från 4 till 2 mm.
Å Stäng luckorna på matarenheterna eftersom de lätt kan skadas när de är öppna.
Å För S-matare, kontrollera att komponenterna plockas från rätt ställe beroende på storlek (se
exempel nedan).
4
Exempel för 8mm S-matare 4
4
Å Kontrollera att alla kontaktdon för matarenheterna anslutits till rätt uttag.
Plockningsläge för
Plockningsläge för
> 3 mm
komponenter
<
3 mm
komponenter
Bredd