P-107-002e - 第106页
在线预览 P-107-002e PDF 文档。



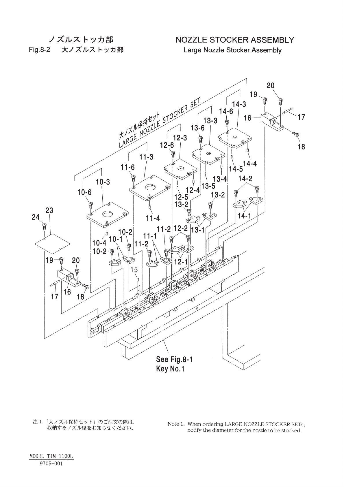
Key No. PART No. PART NAME Q'ty REMARKS REGISTERED No.
10 -2 630 000 7466 BOLT,HEX-SCT 2 M2X6
10 -4 616 122 3135 SPRING PIN 1 1CC2SD1000300
10 -6 630 000 7503 BOLT,HEX-SCT 4 M3X6
11 -2 630 000 7466 BOLT,HEX-SCT 2 M2X6
11 -4 616 122 3135 SPRING PIN 1 1CC2SD1000300
11 -6 630 000 7503 BOLT,HEX-SCT 4 M3X6
12 -2 630 000 7466 BOLT,HEX-SCT 2 M2X6
12 -4 616 122 3135 SPRING PIN 1 1CC2SD1000300
12 -5 616 125 6850 SPRING PIN 2 1CC2SD1000040
12 -6 630 000 7503 BOLT,HEX-SCT 2 M3X6
13 -2 630 000 7466 BOLT,HEX-SCT 2 M2X6
13 -4 616 122 3135 SPRING PIN 1 1CC2SD1000300
13 -5 616 125 6850 SPRING PIN 2 1CC2SD1000040
13 -6 630 000 7503 BOLT,HEX-SCT 2 M3X6
14 -2 630 000 7466 BOLT,HEX-SCT 2 M2X6
14 -4 616 122 3135 SPRING PIN 1 1CC2SD1000300
14 -5 616 125 6850 SPRING PIN 2 1CC2SD1000040
14 -6 630 000 7503 BOLT,HEX-SCT 2 M3X6
15 616 123 3516 SPRING PIN 2 648FB-21H-518 1CC2SD1000440
16 616 125 6799 SUPPORTER 2 648FB-21B-016 1CC2FC1501431
17 616 125 6812 FIBER 1 648FB-21H-514 1CC4V23500290
18 630 000 7503 BOLT,HEX-SCT 2 M3X6
19 630 000 7534 BOLT,HEX-SCT 2 M3X12
20 630 000 7503 BOLT,HEX-SCT 2 M3X6
23 616 125 6805 COVER 1 648FB-21B-017 1CC2CA0505670
24 630 000 7503 BOLT,HEX-SCT 2 M3X6
NOTE
8-2
9705-001
MODEL TIM-1100L