P-107-002e - 第136页
在线预览 P-107-002e PDF 文档。

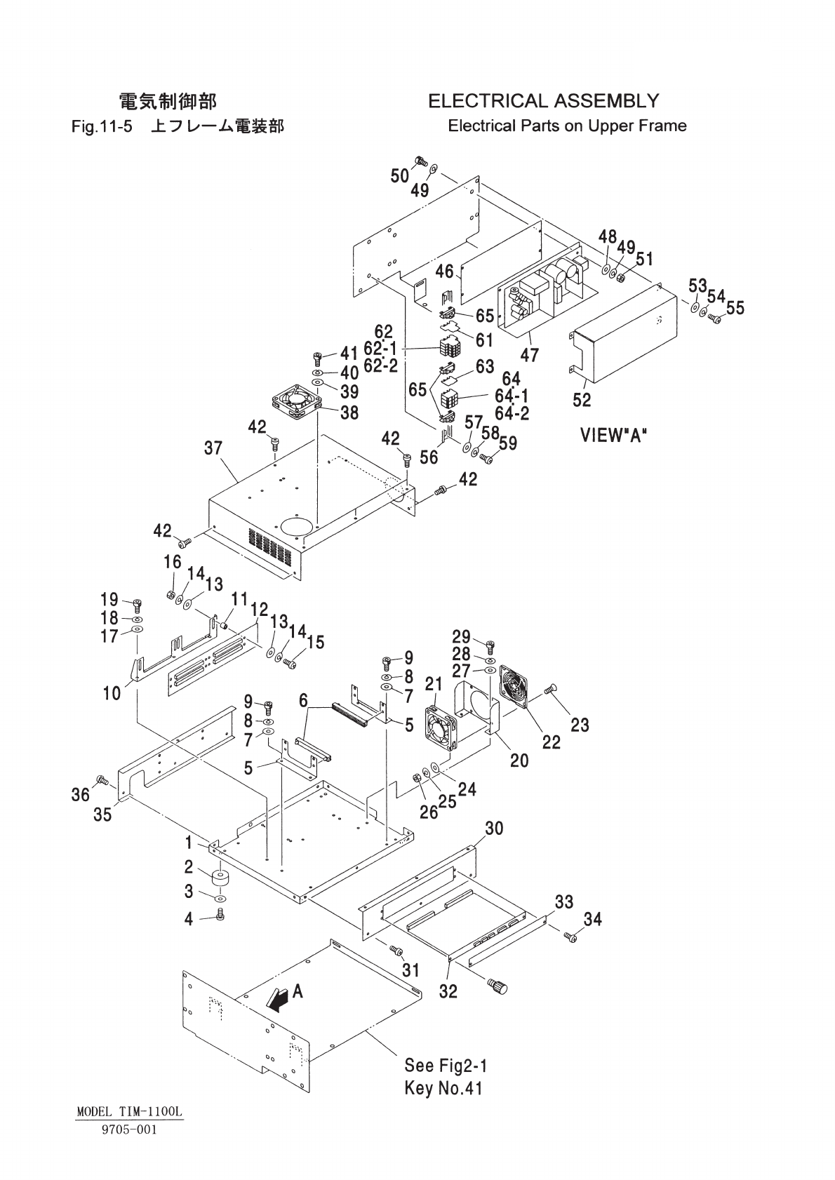
Key No. PART No. PART NAME Q'ty REMARKS REGISTERED No.
1 630 067 6013 BRACKET 1 648BC-21B-015
2 616 122 2817 DRIVER UNIT 1 648JF-21D-509 1CC4U21000550
3 411 042 0703 SCR PAN 3X8 4 M3X8 PAN
4 630 062 9064 UNIT,DRIVER 1 648JF-21D-514
5 630 062 9071 UNIT,DRIVER 1 648JF-21D-510
6 411 088 1702 WASHER V 5X10X1 4 FW5 F
7 411 008 2109 WASHER SPR 5 4 SW5 F
8 411 113 2803 SCR PAN 5X8 4 M5X8 PAN
9 616 125 9578 NOISE FILTER 2 648GB-21D-532 1CC4F30500310
10 411 119 1909 WASHER V 3X7X0.5 8 FW3 F
11 411 086 4408 WASHER SPR 3 8 SW3 F
12 411 042 0703 SCR PAN 3X8 8 M3X8 PAN
13 411 141 4503 WASHER V 8X17X1.6 3 FW8
14 411 141 3100 WASHER SPR 8 3 SW8
15 630 000 8012 BOLT,HEX-SCT 3 M8X20
NOTE
11-4
9705-001
MODEL TIM-1100L


Key No. PART No. PART NAME Q'ty REMARKS REGISTERED No.
1 616 125 6645 BOTTOM 1 648GK-21V-001 1CC2FA2500021
2 616 122 3678 FOOT 4 648GK-21D-511 1CC2CG0500330
3 411 119 1909 WASHER V 3X7X0.5 4 FW3 F
4 411 041 8908 SCR PAN 3X6 4 M3X6 PAN
5 616 122 3623 BRACKET 2 648GK-21V-006 1CC2FC1005560
6 616 121 5918 GUIDE RAIL 2 648GK-21D-503 1CC4J34500050
7 411 141 4008 WASHER V 4X9X0.8 4 FW4
8 411 141 2905 WASHER SPR 4 4 SW4
9 630 000 7619 BOLT,HEX-SCT 4 M4X8
10 616 122 3616 BRACKET 1 648GK-21V-005 1CC2FC1005550
11 616 121 5598 SPACER 8 648GK-21D-508 1CC4S60500140
12 630 055 3710 P.C.B,MOUNT 1 648GK-21U-502
13 411 141 3704 WASHER V 2.5X6.5X0.5 8 FW2.5 F
14 411 141 2707 WASHER SPR 2.5 8 SW2.5 F
15 411 142 5004 SCR PAN 2.5X8 8 M2.5X8 PAN
16 411 140 9608 NUT HEX 2.5 8 M2.5
17 411 141 4008 WASHER V 4X9X0.8 3 FW4
18 411 141 2905 WASHER SPR 4 3 SW4
19 630 000 7619 BOLT,HEX-SCT 3 M4X8
20 616 122 3630 BRACKET 2 648GK-21V-007 1CC2FC1005570
21 616 122 3654 COOLING FAN 1 648GK-21D-509 1CC4U2A100210
22 616 122 3661 FILTER(FAN) 1 648GK-21D-510 1CC2BC1600030
23 411 140 7109 SCR FLT 3X12 4 M3X12 FLT
24 411 141 3902 WASHER V 3X7X0.5 4 FW3
25 411 141 2806 WASHER SPR 3 4 SW3
26 411 140 9905 NUT HEX 3 4 M3
27 411 141 4008 WASHER V 4X9X0.8 2 FW4
28 411 141 2905 WASHER SPR 4 2 SW4
29 630 000 7619 BOLT,HEX-SCT 2 M4X8
30 616 122 3593 PANEL 1 648GK-21V-003 1CC2CA1000220
31 411 051 1708 SCR TRS 4X6 3 M4X6 TRS
32 630 067 8079 P.C.B,MOUNT 1 648GK-21U-501
33 616 122 3647 COVER 1 648GK-21V-008 1CC2CA0504920
34 411 051 1708 SCR TRS 4X6 2 M4X6 TRS
35 616 122 3586 PANEL 1 648GK-21V-002 1CC2CA1000210
36 411 051 1708 SCR TRS 4X6 3 M4X6 TRS
37 630 065 5094 COVER(TOP) 1 648GK-21V-004
38 616 122 3654 COOLING FAN 1 648GK-21D-509 1CC4U2A100210
39 411 141 4008 WASHER V 4X9X0.8 4 FW4
40 411 141 2905 WASHER SPR 4 4 SW4
41 630 000 7626 BOLT,HEX-SCT 4 M4X10
42 411 051 1708 SCR TRS 4X6 8 M4X6 TRS
46 630 065 3656 SPACER 1 648GK-21V-009
47 630 059 1859 UNIT,POWER 1 648GK-21D-504
48 411 119 2104 WASHER V 4X9X0.8 4 FW4 F
49 411 008 1706 WASHER SPR 4 8 SW4 F
50 630 043 9489 MACHINE SCREW 4 648GK-21D-512
51 411 141 0307 NUT HEX 4 4 M4
52 630 065 3649 COVER 1 648GK-21V-010
53 411 119 2104 WASHER V 4X9X0.8 4 FW4 F
NOTE
11-5
9705-001
MODEL TIM-1100L