P-107-002e - 第149页
在线预览 P-107-002e PDF 文档。

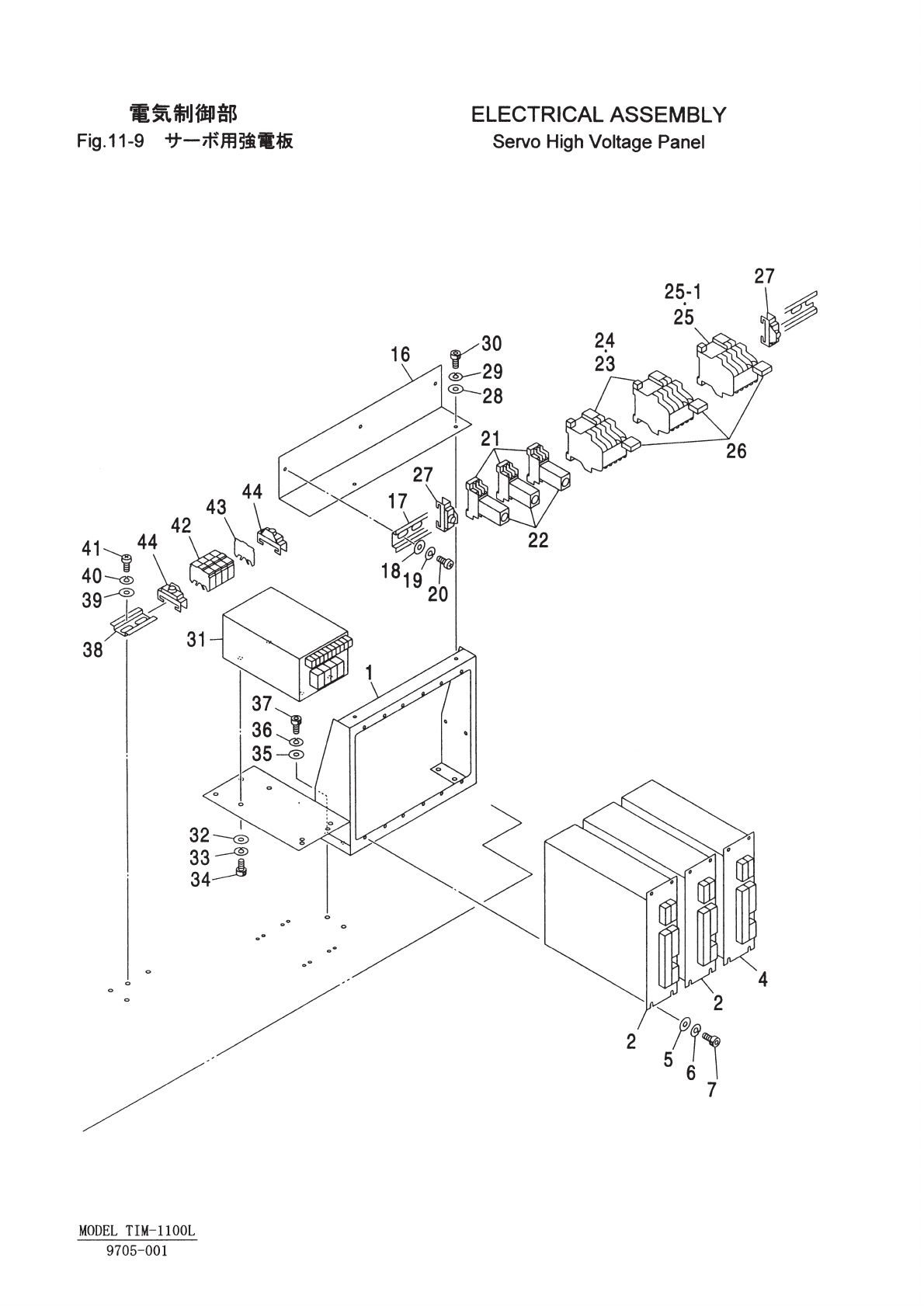
Key No. PART No. PART NAME Q'ty REMARKS REGISTERED No.
60 616 900 0028 FUSE 125V 5A 4 648GB-21D-514 F51S5R0A1FGNB
63 616 121 3525 END PLATE 1 648GB-21D-512 1CC4J36400090
64 616 121 3600 TERMINAL HOLDER 2 648GB-21D-523 1CC4J36200010
66 411 119 2104 WASHER V 4X9X0.8 8 FW4 F
67 411 008 1706 WASHER SPR 4 8 SW4 F
68 411 043 5004 SCR PAN 4X8 8 M4X8 PAN
69 630 059 2009 EM-SWITCH 1 648GC-21D-507
70 411 119 2104 WASHER V 4X9X0.8 4 FW4 F
71 411 008 1706 WASHER SPR 4 4 SW4 F
72 411 043 5004 SCR PAN 4X8 4 M4X8 PAN
76 411 141 4305 WASHER V 6X12.5X1.6 3 FW6
77 411 141 3001 WASHER SPR 6 3 SW6
78 630 000 7886 BOLT,HEX-SCT 3 M6X16
86 411 119 2104 WASHER V 4X9X0.8 23 FW4 F
87 411 008 1706 WASHER SPR 4 23 SW4 F
88 411 043 5004 SCR PAN 4X8 23 M4X8 PAN
NOTE
11-8
9705-001
MODEL TIM-1100L

