P-107-002e - 第159页
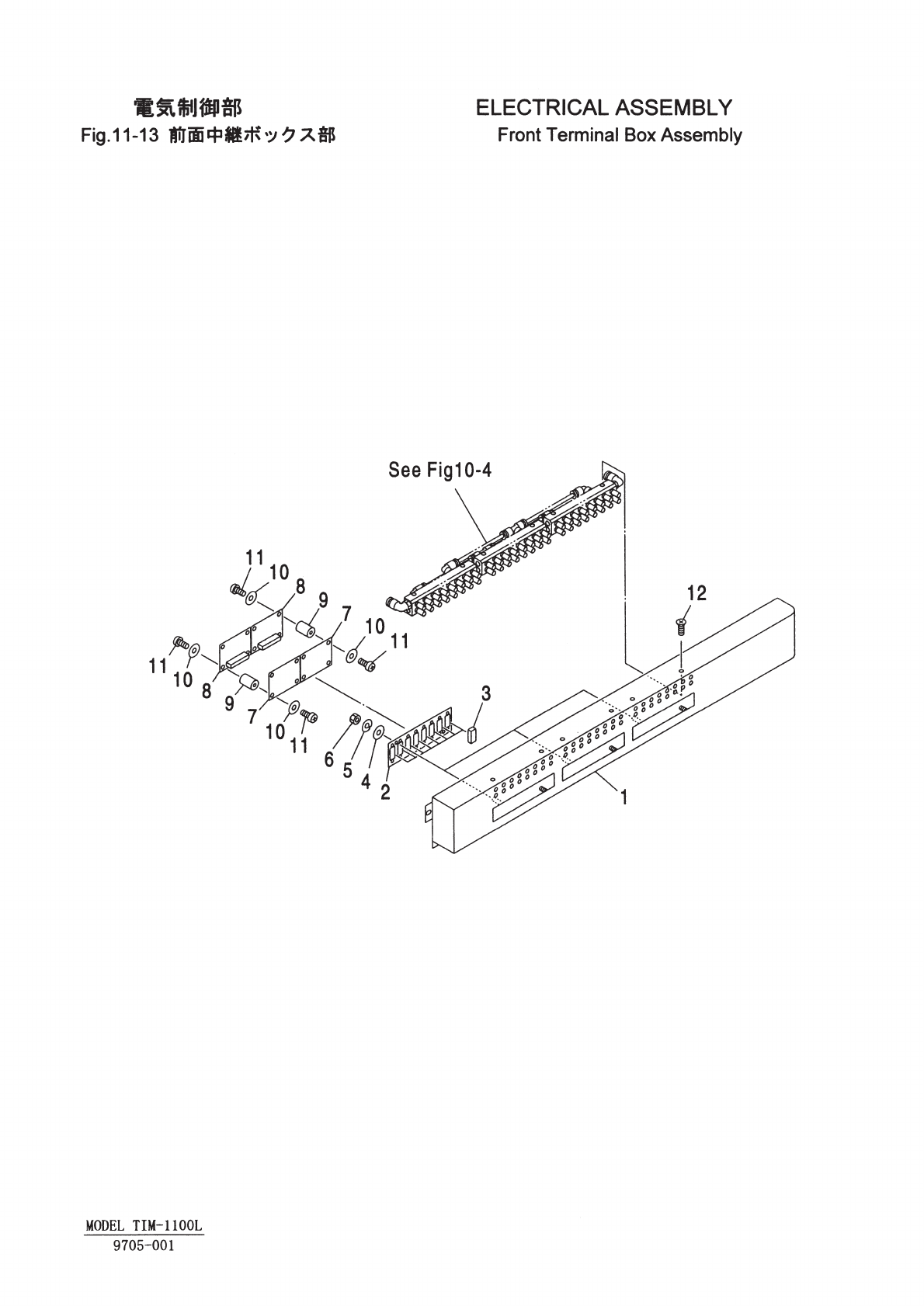
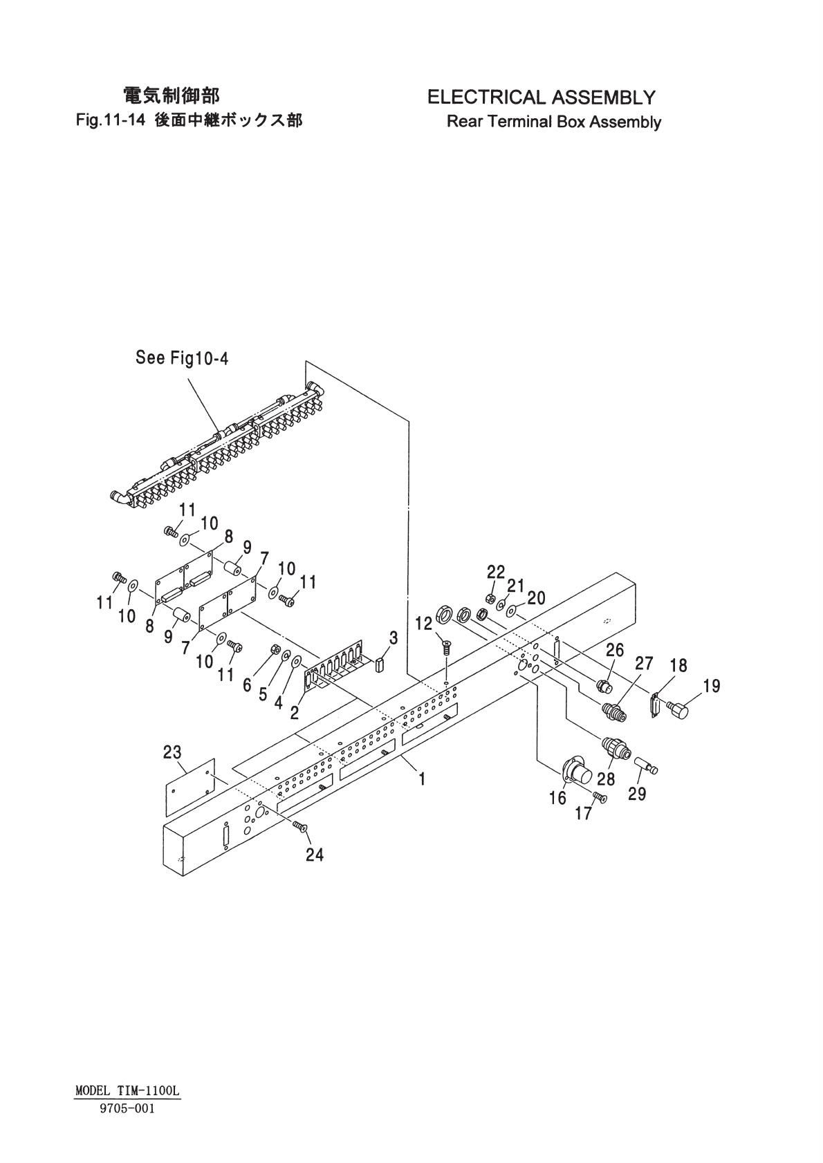
Key No. PART No. PART NAME Q'ty REMARKS REGISTERED No. 1 616 121 9688 BOX 1 648GH-21B-001 1CC2CA2500600 2 616 121 9695 BRACKET 3 648GH-21B-002 1CC2FC1005530 3 616 121 4706 CONNECTOR 24 648HG-21D-511 1CC4J13006190 4 …


Key No. PART No. PART NAME Q'ty REMARKS REGISTERED No.
1 616 121 9688 BOX 1 648GH-21B-001 1CC2CA2500600
2 616 121 9695 BRACKET 3 648GH-21B-002 1CC2FC1005530
3 616 121 4706 CONNECTOR 24 648HG-21D-511 1CC4J13006190
4 411 141 4008 WASHER V 4X9X0.8 6 FW4
5 411 141 2905 WASHER SPR 4 6 SW4
6 411 141 0307 NUT HEX 4 6 M4
7 616 901 4810 PRINTED BOARD 6 648HG-21D-501 1CC4B18000121
8 616 123 8603 PRINTED BOARD ASSY 6 1CC0B18100061
9 630 061 2646 ACCESSORY,P.C.B 18 648HG-21D-524
10 411 119 1909 WASHER V 3X7X0.5 18 FW3 F
11 411 041 8908 SCR PAN 3X6 18 M3X6 PAN
12 411 108 7103 SCR FLT 3X10 6 M3X10 FLT
NOTE
11-13
9705-001
MODEL TIM-1100L
