P-107-002e - 第31页
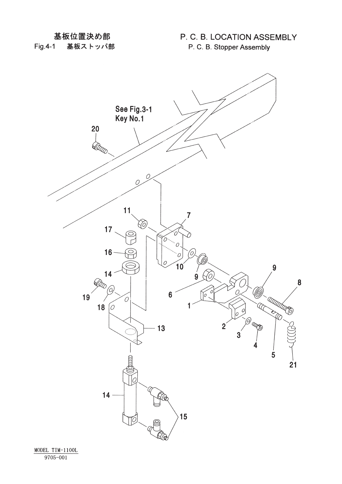
Key No. PART No. PART NAME Q'ty REMARKS REGISTERED No. 1 616 121 8230 ARM 1 648EB-21B-001 1CC2FD0500860 2 616 121 8247 STOPPER 1 648EB-21B-002 1CC2GH0501640 3 411 141 2806 WASHER SPR 3 2 SW3 4 630 000 7510 BOLT,HEX-…


Key No. PART No. PART NAME Q'ty REMARKS REGISTERED No.
1 616 121 8230 ARM 1 648EB-21B-001 1CC2FD0500860
2 616 121 8247 STOPPER 1 648EB-21B-002 1CC2GH0501640
3 411 141 2806 WASHER SPR 3 2 SW3
4 630 000 7510 BOLT,HEX-SCT 2 M3X8
5 616 121 8254 HOOK 1 648EB-21B-003 1CC2CC3500570
6 411 141 0505 NUT HEX 5 1 M5
7 630 058 9467 BLOCK 1 648EB-21B-006
8 630 000 7664 BOLT,HEX-SCT 1 M4X20
9 616 111 8790 BALL BEARING 1 648EB-21H-503 1CC2GF4000740
10 616 111 8363 WASHER 1 648EB-21H-505 1CC2SB0500400
11 411 141 0307 NUT HEX 4 1 M4
13 616 121 8261 HOLDER 1 648EB-21B-005 1CC2FC0507080
14 630 066 8889 CYLINDER 1 648EB-21H-501
15 616 111 8226 SPEED CONTROLLER 1 648EB-21H-502 1CC2BC0800141
16 411 141 0505 NUT HEX 5 1 M5
17 616 111 8721 PUSHER 1 648EB-21B-004 1CC2GH1000240
18 411 141 3100 WASHER SPR 8 2 SW8
19 630 000 7619 BOLT,HEX-SCT 2 M4X8
20 630 000 7633 BOLT,HEX-SCT 2 M4X12
21 616 111 8530 SPRING 1 648EB-21H-506 1CC2GM0502030
NOTE
4-1
9705-001
MODEL TIM-1100L
