P-107-002e - 第32页
在线预览 P-107-002e PDF 文档。

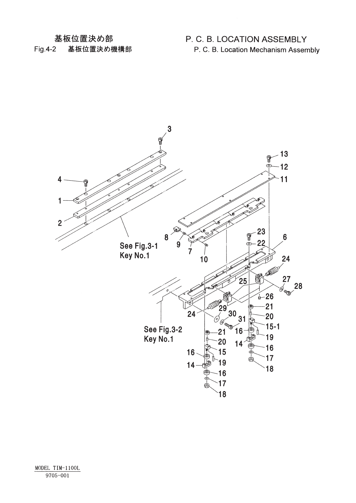
Key No. PART No. PART NAME Q'ty REMARKS REGISTERED No.
1 616 121 8230 ARM 1 648EB-21B-001 1CC2FD0500860
2 616 121 8247 STOPPER 1 648EB-21B-002 1CC2GH0501640
3 411 141 2806 WASHER SPR 3 2 SW3
4 630 000 7510 BOLT,HEX-SCT 2 M3X8
5 616 121 8254 HOOK 1 648EB-21B-003 1CC2CC3500570
6 411 141 0505 NUT HEX 5 1 M5
7 630 058 9467 BLOCK 1 648EB-21B-006
8 630 000 7664 BOLT,HEX-SCT 1 M4X20
9 616 111 8790 BALL BEARING 1 648EB-21H-503 1CC2GF4000740
10 616 111 8363 WASHER 1 648EB-21H-505 1CC2SB0500400
11 411 141 0307 NUT HEX 4 1 M4
13 616 121 8261 HOLDER 1 648EB-21B-005 1CC2FC0507080
14 630 066 8889 CYLINDER 1 648EB-21H-501
15 616 111 8226 SPEED CONTROLLER 1 648EB-21H-502 1CC2BC0800141
16 411 141 0505 NUT HEX 5 1 M5
17 616 111 8721 PUSHER 1 648EB-21B-004 1CC2GH1000240
18 411 141 3100 WASHER SPR 8 2 SW8
19 630 000 7619 BOLT,HEX-SCT 2 M4X8
20 630 000 7633 BOLT,HEX-SCT 2 M4X12
21 616 111 8530 SPRING 1 648EB-21H-506 1CC2GM0502030
NOTE
4-1
9705-001
MODEL TIM-1100L


Key No. PART No. PART NAME Q'ty REMARKS REGISTERED No.
1 616 125 6683 PLATE 1 648EC-21B-001 1CC2FB0507021
2 616 125 6690 PLATE 1 648EC-21B-002 1CC2FB0507031
3 630 000 7633 BOLT,HEX-SCT 3 M4X12
4 630 000 7602 BOLT,HEX-SCT 4 M4X6
6 616 122 2947 PLATE 1 648EC-21B-003 1CC2FB0507041
7 616 122 2954 PLATE 1 648EC-21B-004 1CC2FB0507050
8 616 125 6706 CLAW 6 648EC-21B-005 1CC2JA3000830
9 616 111 8332 SPRING 6 648EC-21H-506 1CC2GM0502000
10 616 111 8349 SPRING 5 648EC-21H-507 1CC2GM0502010
11 616 122 2978 PLATE 1 648EC-21B-006 1CC2FB0507060
12 411 141 2806 WASHER SPR 3 6 SW3
13 630 000 7510 BOLT,HEX-SCT 6 M3X8
14 616 122 2992 BLOCK 2 648EC-21B-008 1CC2FB1002810
15 616 122 2985 LEVER 1 648EC-21B-007 1CC2CC0501140
15 -1 616 122 3012 LEVER 1 648EC-21B-010 1CC2CC0501150
16 616 111 8509 BALL BEARING 4 648EC-21H-503 1CC2GF4000781
17 616 111 8363 WASHER 2 648EC-21H-509 1CC2SB0500400
18 616 111 8356 NUT 2 648EC-21H-508 1CC2SA1500840
19 616 900 0059 PIN PARALLEL 4X15 2 648EC-21H-505 SPGNN40150KN-
20 616 122 3029 SHAFT 2 648EC-21H-504 1CC2GK0502113
21 616 111 8295 BALL BEARING 2 648EC-21H-502 1CC2GF4000730
22 411 141 2806 WASHER SPR 3 2 SW3
23 630 000 7558 BOLT,HEX-SCT 2 M3X16
24 616 111 8271 CYLINDER 2 648EC-21H-501 1CC2BA0500870
25 616 122 3005 HOUSING 2 648EC-21B-009 1CC2GF2000760
26 630 000 8920 SET SCREW 1 M4X6 SET
27 411 141 2806 WASHER SPR 3 4 SW3
28 630 000 7510 BOLT,HEX-SCT 4 M3X8
29 630 001 0220 WASHER 3 BW5
30 411 141 6705 WASHER SPR 5 3 SW5
31 630 000 7770 BOLT,HEX-SCT 3 M5X20
NOTE
4-2
9705-001
MODEL TIM-1100L