P-107-002e - 第67页
在线预览 P-107-002e PDF 文档。

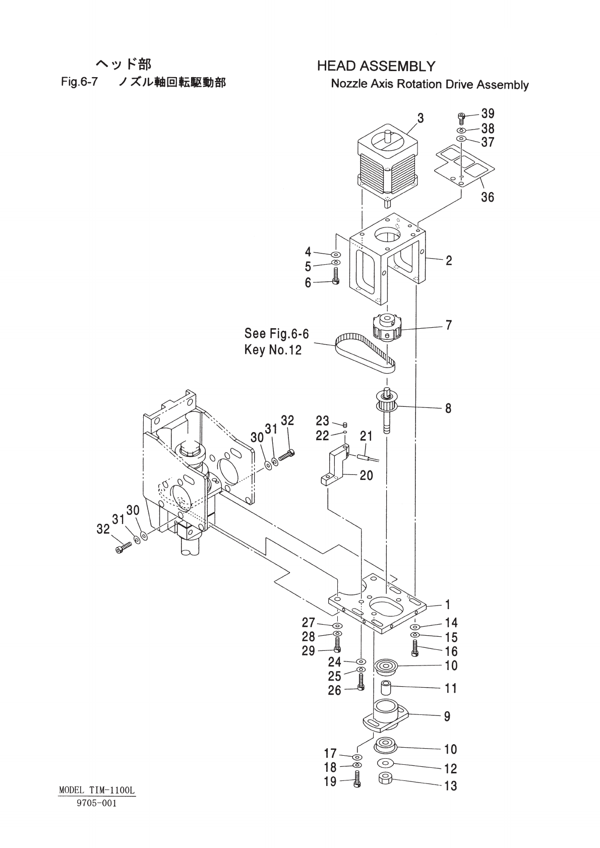
Key No. PART No. PART NAME Q'ty REMARKS REGISTERED No.
53 411 141 3902 WASHER V 3X7X0.5 2 FW3
54 411 141 2806 WASHER SPR 3 2 SW3
55 630 000 7572 BOLT,HEX-SCT 2 M3X25
56 411 141 4008 WASHER V 4X9X0.8 4 FW4
57 411 141 2905 WASHER SPR 4 4 SW4
58 630 000 7688 BOLT,HEX-SCT 4 M4X30
59 411 141 4008 WASHER V 4X9X0.8 1 FW4
60 411 141 2905 WASHER SPR 4 1 SW4
61 630 000 7671 BOLT,HEX-SCT 1 M4X25
NOTE
6-6
9705-001
MODEL TIM-1100L

