P-107-002e - 第74页
在线预览 P-107-002e PDF 文档。

Key No. PART No. PART NAME Q'ty REMARKS REGISTERED No.
1 616 125 8977 HOLDER 1 648HB-21B-035 1CC2FC0507211
2 630 067 6044 BLOCK(LEVER) 2 648HB-21B-037
3 616 122 2671 BALL BEARING 8 648HB-21H-508 1CC2GF4000430
4 616 122 2442 PIN 4 648HB-21B-041 1CC2SD0502370
5 616 900 0172 RING E 1 8 648HB-21H-509 SCRET10KF----
6 616 122 2435 HOOK 2 648HB-21B-039 1CC2CC3500550
7 616 125 9165 SPRING 2 648HB-21H-510 1CC2GM0505130
8 630 000 7527 BOLT,HEX-SCT 1 M3X10
NOTE
6-9
9705-001
MODEL TIM-1100L


Key No. PART No. PART NAME Q'ty REMARKS REGISTERED No.
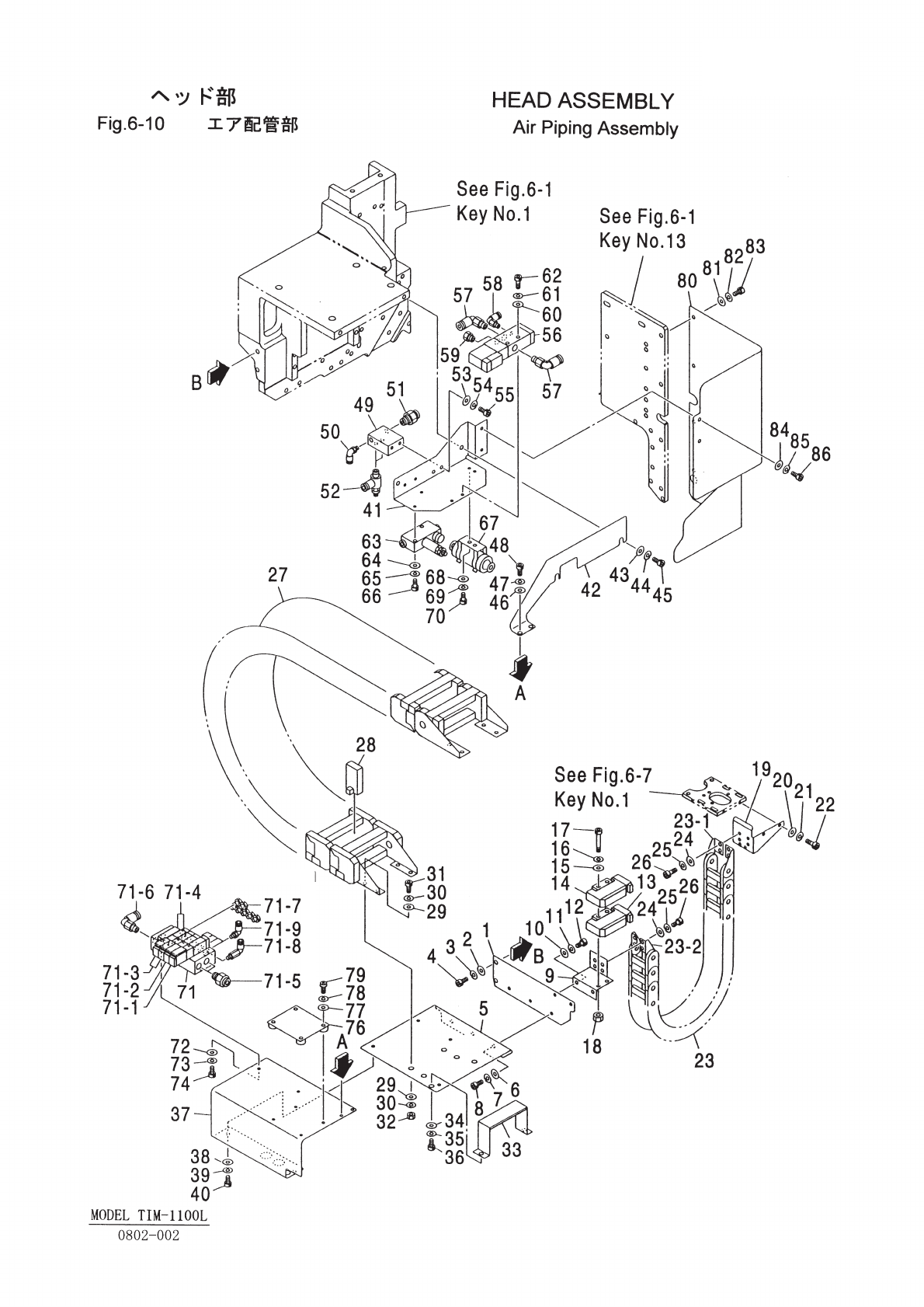
1 630 053 7611 BRACKET 1 648HH-21B-001
2 411 141 4107 WASHER V 5X10X1 2 FW5
3 411 141 6705 WASHER SPR 5 2 SW5
4 630 000 7749 BOLT,HEX-SCT 2 M5X10
5 630 053 7628 BRACKET 1 648HH-21B-0011
6 411 141 4008 WASHER V 4X9X0.8 3 FW4
7 411 141 2905 WASHER SPR 4 3 SW4
8 630 000 7626 BOLT,HEX-SCT 3 M4X10
9 616 122 0189 BRACKET 1 648HH-21B-007 1CC2FC1005631
10 411 141 4008 WASHER V 4X9X0.8 2 FW4
11 411 141 2905 WASHER SPR 4 2 SW4
12 630 000 7619 BOLT,HEX-SCT 2 M4X8
13 616 115 2305 AMP 1 648CC-21H-502 1CC4V23200340
14 616 122 2275 AMP 1 648CC-21H-504 1CC4V23200360
15 411 141 3902 WASHER V 3X7X0.5 2 FW3
16 411 141 2806 WASHER SPR 3 2 SW3
17 630 000 7589 BOLT,HEX-SCT 2 M3X30
18 411 140 9905 NUT HEX 3 2 M3
19 616 125 7215 BRACKET 1 648HH-21B-011 1CC2FC1005641
20 411 141 3902 WASHER V 3X7X0.5 2 FW3
21 411 141 2806 WASHER SPR 3 2 SW3
22 630 000 7527 BOLT,HEX-SCT 2 M3X10
23 616 122 0226 BEAR(CABLEBEAR) 1 648HH-21H-501 1CC2CJ3500390
23 -1 616 122 0233 HOLDER 1 648HH-21H-502 1CC2FC0503960
23 -2 616 122 0240 HOLDER 1 648HH-21H-503 1CC2FC0503901
24 411 141 4008 WASHER V 4X9X0.8 4 FW4
25 411 141 2905 WASHER SPR 4 4 SW4
26 630 000 7626 BOLT,HEX-SCT 4 M4X10
27 630 054 4282 WIRE PARTS 1 648BC-21H-504
28 630 054 4299 WIRE PARTS 10 648BC-21H-514
29 411 141 4305 WASHER V 6X12.5X1.6 4 FW6
30 411 141 3001 WASHER SPR 6 4 SW6
31 630 000 7893 BOLT,HEX-SCT 4 M6X20
32 411 141 0703 NUT HEX 6 4 M6
33 630 053 7727 BRACKET 1 648HH-21B-015
34 411 141 4008 WASHER V 4X9X0.8 2 FW4
35 411 141 2905 WASHER SPR 4 2 SW4
36 630 000 7619 BOLT,HEX-SCT 2 M4X8
37 630 053 7635 BRACKET(SV) 1 648HH-21B-028
38 411 141 4008 WASHER V 4X9X0.8 4 FW4
39 411 141 2905 WASHER SPR 4 2 SW4
40 630 000 7619 BOLT,HEX-SCT 2 M4X8
41 616 125 7208 BRACKET 1 648HH-21B-003 1CC2FC1005622
42 630 053 7666 BRACKET 1 648HH-21B-029
43 411 141 4107 WASHER V 5X10X1 2 FW5
44 411 141 6705 WASHER SPR 5 2 SW5
45 630 000 7756 BOLT,HEX-SCT 2 M5X12
46 411 141 4008 WASHER V 4X9X0.8 2 FW4
47 411 141 2905 WASHER SPR 4 2 SW4
48 630 000 7619 BOLT,HEX-SCT 2 M4X8
NOTE
6-10
0802-002
MODEL TIM-1100L