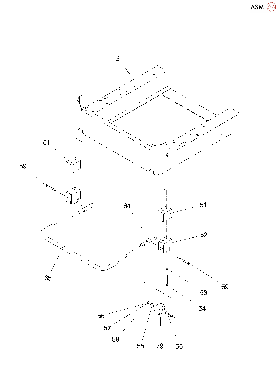
Components changeover table F4_F5-HM mobile prod. Lift_20211119_090822 - 第5页
Components changeover table F4/F5-HM mobile prod. Lift Page 5 / 17 19.11.2021

Components changeover table F4/F5-HM mobile prod. Lift
Page 4 / 17 19.11.2021

Components changeover table F4/F5-HM mobile prod. Lift
Page 5 / 17 19.11.2021

Components changeover table F4/F5-HM mobile prod. Lift
Page 6 / 17 19.11.2021