Config vacuum pump_20211122_064939 - 第8页
Config vacuum pump Page 8 / 21 22.11.2021

Config vacuum pump
Page 7 / 21 22.11.2021

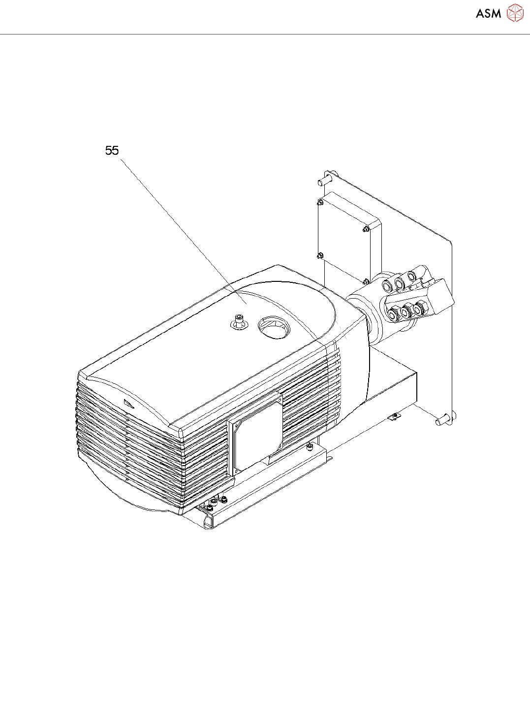
Config vacuum pump
Page 8 / 21 22.11.2021

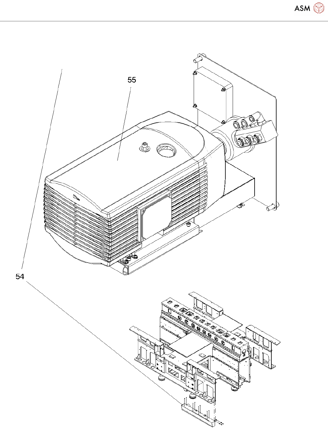
Config vacuum pump
Page 9 / 21 22.11.2021
Config vacuum pump Page 8 / 21 22.11.2021


