5OM-1841-001w_F8S - 第125页
5OM-1841 4-1-19 1605-001 1 2 3 4 5 6 7 8 9 GND HEAD ILB(1 1) GND GND GND FG GND GND GND GND FG 1 2 3 4 5 6 7 8 9 GND GND GND GND FG 1 2 3 4 5 6 7 8 9 U02(UC17) HEAD ILB(1 1) IO [B1-1C] :1 CN4 CN5 CN6 X01…

5OM-1841
4-1-181605-001
1
2
3
4
5
6
7
8
9
10
XY Beam Emergency Stop (11)
24V(A)
Do
24V(A)
Do
24V(A)
Do
24V(A)
Do
XY Beam Emergency Stop (12)
Head Emergency Stop(11)
Head Emergency Stop(12)
Safety Relay K4 Auxiliary Output
To Motion Ctrl(S1)
1
2
3
4
5
6
7
8
9
10
XY Beam Emergency Stop (21)
24V(A)
Do
24V(A)
Do
24V(A)
Do
24V(A)
Do
XY Beam Emergency Stop (22)
Head Emergency Stop(21)
Head Emergency Stop(22)
Safety Relay K4 Auxiliary Output
To Motion Ctrl(S2)
CPU2 : U82
(Motion Control Board)
CN8
CN9
1
2
3
4
5
6
7
8
9
10
24V(A)
Do
24V(A)
Do
24V(A)
Do
24V(A)
Do
24V(A)
Do
Feeder Base
CN27
1
2
3
4
5
6
7
8
9
10
11
12
UP_RXD_0(+)
GND
LVDS UP PORT
UP_RXD_0(-)
UP_TXD_0(+)
GND
GND
GND
FG
FG
FG
FG
UP_TXD_0(-)
DN_TXD_0(+)
GND
LVDS DN PORT
DN_TXD_0(-)
DN_RXD_0(+)
GND
GND
GND
FG
FG
FG
FG
DN_RXD_0(-)
1
2
3
4
5
6
7
8
9
10
11
12
GND
LVDS T PORT
GND
GND
GND
FG
FG
FG
FG
1
2
3
4
5
6
7
8
9
10
11
12
U85 (High-Speed I/O Host Board)
X8504
[44-3B]
:1
CN1
CN2
CN3
24A3
24A3
24A3
24A3
GND(A)
24A3
24A3
24A3
24A3
GND(A)
X0108
X0109
X0101
X0102
X0103
:23
:1
:48
:2
:47
:22
:23
:1
:48
:2
:23
:1
:48
:2
:47
:22
:23
:1
:48
:2
CPU2 : U83
(Motion Control Board)
[42-2B]
X8203
[42-2C]
X8204
[43-2B]
X8303
[43-2C]
X8304
U01
IO P.C.B
:2
:3
:4
:5
:6
:7
:8
:9
Reserve
GND
FG
GND
GND
GND
Front Side Bundled Connector
X1300C1
[30-3C]
:1
:2
:3
:4
:5
:6
:7
:8
:9
GND
FG
GND
GND
GND
Safety Circuit
:
Auxiliary Output(Monitor)
GND(A)
K4-X1(CN15)
Do
IL(The inner logic)
Safety Circuit
:
Auxiliary Output(Monitor)
Do
GND(A)
T_TXD_0(+)
T_TXD_0(-)
T_RXD_0(+)
T_RXD_0(-)

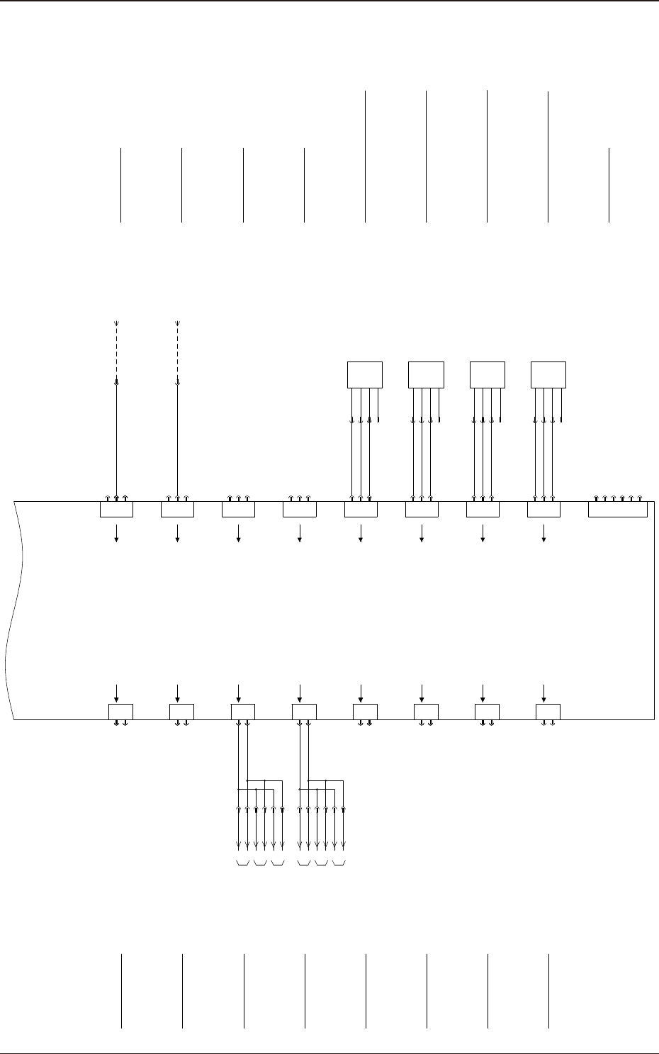
5OM-1841
4-1-191605-001
1
2
3
4
5
6
7
8
9
GND
HEAD ILB(11)
GND
GND
GND
FG
GND
GND
GND
GND
FG
1
2
3
4
5
6
7
8
9
GND
GND
GND
GND
FG
1
2
3
4
5
6
7
8
9
U02(UC17) HEAD ILB(11)
IO
[B1-1C]
:1
CN4
CN5
CN6
X0104
X0105
X0106
U01
IO P.C.B
:2
:3
:5
:4
:Case
GND
FG
GND
GND
GND
IO
[B1-3C]
:1
:2
:3
:5
:4
GND
FG
GND
GND
GND
GND
GND
GND
GND
FG
1
2
3
4
5
6
7
8
9
CN7
X0107
HEAD ILB(12)
HEAD ILB(21)
HEAD ILB(22)
IO
[B1-1C]
:1
:2
:3
:5
:4
GND
FG
GND
GND
GND
IO
[B1-3C]
:1
:2
:3
:5
:4
GND
FG
GND
GND
GND
U02(UC17) HEAD ILB(12)
U02(UC17) HEAD ILB(21)
U02(UC17) HEAD ILB(22)
T_TXD_0(+)
T_TXD_0(-)
T_RXD_0(+)
T_RXD_0(-)
T_TXD_0(+)
T_TXD_0(-)
T_RXD_0(+)
T_RXD_0(-)
T_TXD_0(+)
T_TXD_0(-)
T_RXD_0(+)
T_RXD_0(-)
T_TXD_0(+)
T_TXD_0(-)
T_RXD_0(+)
T_RXD_0(-)
:Case
:Case
:Case
GND(B)
Di
HEAD(11) ILB
CN11
X0111
OP
:1
Head Interlock(11)
GND(B)
Di
HEAD(12) ILB
CN12
X0112
OP
:1
Head Interlock(12)
Head Interlock(22)
GND(B)
Di
HEAD(22) ILB
CN14
X0114
OP
:1
GND(B)
Di
HEAD(21) ILB
(Robot Cable)
CN13
X0113
OP
:1
Head Interlock(21)
1
2
1
2
1
2
1
2
[B1-1C]
(Robot Cable)
[B1-3C]
(Robot Cable)
X10202
:C1
[B1-1C]
(Robot Cable)
X10202
:C1
[B1-3C]
X10202
:C1
X10202
:C1
U02(UC17) HEAD ILB(11)
U02(UC17) HEAD ILB(12)
U02(UC17) HEAD ILB(21)
U02(UC17) HEAD ILB(22)

5OM-1841
4-1-201605-001
U01
IO P.C.B
Reserve
1
2
24V(A)
Do
Reserve
1
2
24V(A)
Do
CN57
X0157
1
2
Reserve
1
2
24V(A)
Do
CN56
X0156
1
2
Reserve
1
2
24V(A)
Do
CN55
X0155
1
2
2
24V(A)
Do
CN54
X0154
2
11
1
2
24V(A)
Do
CN53
X0153
1
2
CN52
1
2
24V(A)
Do
Reserve
X0152
1
2
Reserve
CN51
X0151
2
24V(A)
Do
2
11
CN44
X0144
1
2
3
GND
24V(B)
Di
CN43
X0143
1
2
3
GND
24V(B)
Di
Reserve
CN45
X0145
1
2
3
GND
24V(B)
Di
Reserve
Reserve
Reserve
Reserve
Transfer Emergency Stop B
Transfer Emergency Stop A
Reserve
Reserve
Transfer Interlock(A Lane)
CN58
X0158
Transfer Interlock(B Lane)
Reserve
X10143
:1
:1
N-X1125 :1
X10144
Reserve
CN46
X0146
1
2
3
GND
24V(B)
Di
CN47
X0147
1
2
3
GND
24V(B)
Di
CN49
X0149
1
2
3
GND
24V(B)
Di
CN50
X0150
1
2
3
GND
24V(B)
Di
Reserve
Rejected Component Box Present/Absent Sensor (11) OP
Rejected Component Box Present/Absent Sensor (22) OP
Rejected Component Box Present/Absent Sensor(12) OP
JTAG
CN60
X0160
2
3
TDI
5
6
4
1
TMS
3.3V
GND
TCK
TDO
Exclusive for JTAG
CN48
X0148
1
2
3
GND
24V(B)
Di
Rejected Component Box Present/Absent Sensor (21) OP
B233
OUT1
+
OUT2
-
W
BK
BL
BR
B235
OUT1
+
OUT2
-
W
BK
BL
BR
B236
OUT1
+
OUT2
-
W
BK
BL
BR
B234
OUT1
+
OUT2
-
W
BK
BL
BR
11-DUST
:3
:4
:2
:1
21-DUST
:3
:4
:2
:1
22-DUST
:3
:4
:2
:1
12-DUST
:3
:4
:2
:1
Transfer Driver
N-X301
[C3-2B]
Width Variable Driver
N-X209
[C2-4B]
Backup Driver (OP)
N-X409
[C4-4B]
X10153
:2
:5
:6
:1
:9
:10
:2
:1
:2
:1
:2
:1
Transfer Driver
N-X301
[C3-2B]
Width Variable Driver
N-X209
[C2-4B]
Backup Driver (OP)
N-X409
[C4-4B]
X10154
:2
:5
:6
:1
:9
:10
:2
:1
:2
:1
:2
:1
[C7-4C]
U14(UB95) Transfer I/O
N-X1125 :1
[C6-4C]
U08(UB95) Transfer I/O