5OM-1841-001w_F8S - 第66页
5OM-1841 气路图及实际贴装图 1-1-10 1605-001 8 9 9 7 10 7 No. Name Q’ty No. Name Q’ty No. Name Q’ty No. Name Q’ty 7 Solenoid V alve 2 8 Solenoid V alve 1 9 Cylinder 2 10 Cylinder 1

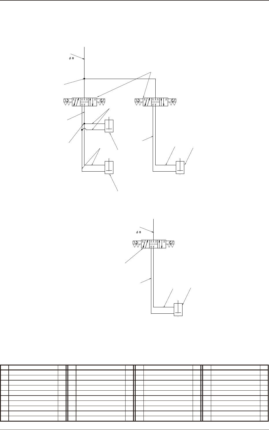
5OM-1841
气路图及实际贴装图
1-1-9
1605-001
From Main Body
The right side in front of the equipment
Pipe
A
B
Positioning U/D
Left Side Cylinder
Right Side Cylinder
Cutter Blade Slide Laying Of The Pipes
Cutter Blade Slide Laying Of The Pipes
x2
400mm
300mmx2
B
A
A
B
x2
2000mm
2400mm
2850mm(Yellow)
2400mm(Yellow)
From Main Body
EA
EB
P
750mmx2
2850mm
The left side in front of the equipment
A
EA
B
EB
P
A
B
A
B
EA
EB
P
Cutter Unit(Left Side)Cylinder
Cutter Unit(Right Side)Cylinder
A
B
Positioning
Positioning
Cutter Unit Piping Diagram
Cutter Unit Piping Diagram
Positioning Piping Diagram
x2
KQ2U06-00A
KQ2U08-00A
1
3
8
1
1
2
2
5
4
3
9
9
10
10
1
7
1
Pipe
No. Name Q’ty No. Name Q’ty No. Name Q’ty No. Name Q’ty
1 Tube φ 6 1
2 Tube φ 8 1
3 Tube φ 6(Y) 1
4 Union Y 2
5 Union Y 1
7 Solenoid Valve 2
8 Solenoid Valve 1
9 Cylinder 2
10 Cylinder 2

5OM-1841
气路图及实际贴装图
1-1-10
1605-001
8
9
9
7
10
7
No. Name Q’ty No. Name Q’ty No. Name Q’ty No. Name Q’ty
7 Solenoid Valve 2
8 Solenoid Valve 1
9 Cylinder 2
10 Cylinder 1

5OM-1841
气路图及实际贴装图
1-1-11
1605-001
(03) (03)
(02)
(04)
(03)
(02) (01)
Shutter 3 Open/Close
Stocker 3 U/D
(01)
(02) (01)
3
4A
5
2B
1
Shutter 1 Open/Close
Stocker 1 U/D
Shutter 2 Open/Close
Stocker 2 U/D
3
4A
5
2B
1
Nozzle Stocker(For 2-1,2-2 Areas)
Nozzle Stocker Unit
(For 1-1,1-2 Areas)
Standard Stocker
Deformed Stocker(Option)
3
4A
5
2B
1 3
4A
5
2B
1
From Main Body
400mm
950mm
3
3
3
2
9
9
1
1
(03)
(02)
(03)
(02) (01)
(01)
3
2B
1
4A
5
(04)
Stocker 2 U/D
Shutter 2 Open/Close
Shutter 1 Open/Close
Stocker 1 U/D
From Main Body
400mm
950mm
Nozzle Stocker(For 2-1,2-2 Areas)
3
2B
1
4A
5
3
2B
1
4A
5
3
3
2
1
1
Nozzle Stocker Unit
(For 1-1,1-2 Areas)
No. Name Q’ty No. Name Q’ty No. Name Q’ty No. Name Q’ty
1 Tube φ 8 1
2 Tube φ 6 1
3 Tube φ 4 1
9 Union Y 1