NPM-W2S 20161226 - 第251页
Ref No. Remarks R 1 Q'ty 13 デュアルコンベア対応ユニット(本体側):NPM-W2 Dual Convey or Support Unit (For Main Body ):NPM -W 2 イラスト No. Part No. 品 名 品 番 数量 R 2 パーツリスト Kit No. キット品番 Kit Name キット名称 N610169280AA Part Nam e 備 考 セク ショ ンNo…

13
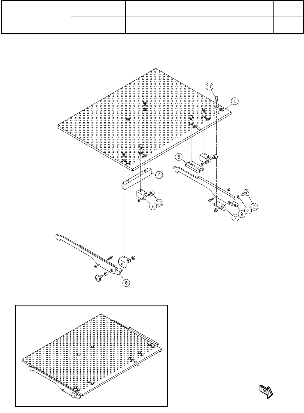
デュアルコンベア対応ユニット(本体側):NPM-W2
Dual Conveyor Support Unit (For Main Body):NPM-W2
パーツレイアウト
Kit No.
キット品番
Kit Name
キット名称
N610169280AA
セクションNo.
PARTS LAYOUT
Section No.
--
O65
( KN610169280AA-00 )

Ref
No.
Remarks R
1
Q'ty
13
デュアルコンベア対応ユニット(本体側):NPM-W2
Dual Conveyor Support Unit (For Main Body):NPM-W2
イラスト
No.
Part No.
品 名品 番 数量
R
2
パーツリスト
Kit No.
キット品番
Kit Name
キット名称
N610169280AA
Part Name
備 考
セクションNo.
PARTS LIST
Section No.
R
3
Ring I/O Load Board #2 Kit:NPM-W2
1
1 N610169309AA
PIN
6
2 N510020618AA MMS6-15
JOINT
2
3 N510066452AA KQ2U06-99A
O66
--
( KN610169280AA-00 )

14
基板下受けブロックデュアル(シングル対応):NPM-W
Board Support Block Dual(for Single):NPM-W
パーツレイアウト
Kit No.
キット品番
Kit Name
キット名称
N610134594AB
セクションNo.
PARTS LAYOUT
Section No.
--
O67
( KN610134594AB-01 )