NPM-W2S 20161226 - 第64页
12 XY軸F側配線:NPM-W2S XY -Ax is Front Side W iring:NPM-W 2S パーツレイアウト Kit No. キット 品番 Kit Name キット名称 MTKA014142AA セクションNo. PARTS LAYOUT Section No. - - S41 ( KMTKA014142AA-00 )

Ref
No.
Remarks R
1
Q'ty
11
銘板・警告ラベル(X軸):NPM-W2S
Label(X-Axis):NPM-W2S
イラスト
No.
Part No.
品 名品 番 数量
R
2
パーツリスト
Kit No.
キット品番
Kit Name
キット名称
MTKA013720AA
Part Name
備 考
セクションNo.
PARTS LIST
Section No.
R
3
LABEL
1
1 N510040879AA
S
PC013801
S40
--
( KMTKA013720AA-01 )

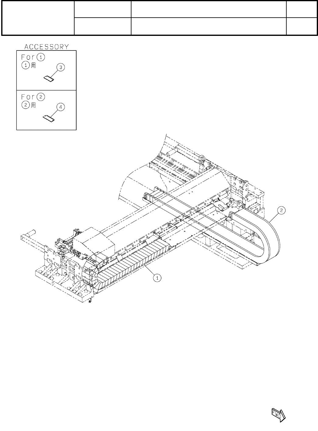
12
XY軸F側配線:NPM-W2S
XY-Axis Front Side Wiring:NPM-W2S
パーツレイアウト
Kit No.
キット品番
Kit Name
キット名称
MTKA014142AA
セクションNo.
PARTS LAYOUT
Section No.
--
S41
( KMTKA014142AA-00 )

Ref
No.
Remarks R
1
Q'ty
12
XY軸F側配線:NPM-W2S
XY-Axis Front Side Wiring:NPM-W2S
イラスト
No.
Part No.
品 名品 番 数量
R
2
パーツリスト
Kit No.
キット品番
Kit Name
キット名称
MTKA014142AA
Part Name
備 考
セクションNo.
PARTS LIST
Section No.
R
3
CABLE-BEAR
1
1 N510056967AA TKR0200W50R55-TKX32LINKS PIA PKA
CABLE-BEAR
1
2 MTNW000900AA TKR0200W60R55-TK(ZC020.2143)
CABLE-SUPPORT
4
3 N210142601AA
CABLE-SUPPORT
4
4 N210142695AA
S42
--
( KMTKA014142AA-00 )