NPM-W2S 20161226 - 第656页
145-G 下受けピン自動交換ユニット:NPM-W Support Pin Automatic Change Unit:NPM -W パーツレイアウト Kit No. キット 品番 Kit Name キット名称 N610145977AA セクションNo. PARTS LAYOUT Section No. - - O471 ( KN610145977AA-04A-7 )

Ref
No.
Remarks R
1
Q'ty
145-F
下受けピン自動交換ユニット:NPM-W
Support Pin Automatic Change Unit:NPM-W
イラスト
No.
Part No.
品 名品 番 数量
R
2
パーツリスト
Kit No.
キット品番
Kit Name
キット名称
N610145977AA
Part Name
備 考
セクションNo.
PARTS LIST
Section No.
R
3
Stopper Unit
1
1 N610149812AA
SHAFT
8
2 N210172667AB
STOPPER
8
3 MTPA002719AA
POST
4
4 N210176220AA
SCREW
12
5 XXE6D20FT
Hexagon socket set screw Cup point M6X20-45H SOB
SPACER
8
6 MTPA003400AA
O470
--
( KN610145977AA-04A-6 )

145-G
下受けピン自動交換ユニット:NPM-W
Support Pin Automatic Change Unit:NPM-W
パーツレイアウト
Kit No.
キット品番
Kit Name
キット名称
N610145977AA
セクションNo.
PARTS LAYOUT
Section No.
--
O471
( KN610145977AA-04A-7 )

Ref
No.
Remarks R
1
Q'ty
145-G
下受けピン自動交換ユニット:NPM-W
Support Pin Automatic Change Unit:NPM-W
イラスト
No.
Part No.
品 名品 番 数量
R
2
パーツリスト
Kit No.
キット品番
Kit Name
キット名称
N610145977AA
Part Name
備 考
セクションNo.
PARTS LIST
Section No.
R
3
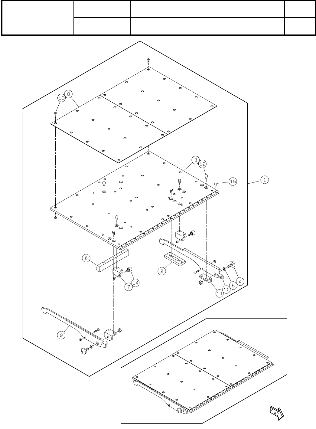
Board Support Block
2
1 N610145010AB
BLOCK
1
2 N210165840AA
PLATE
1
3 N210170101AB
PIN
2
4 N210161075AA
COLLAR
2
5 N210156596AA
BRACKET
1
6 N210170229AB
BRACKET
2
7 N210161077AA
PLATE
2
8 N610152323AA
LEVER
1
9 N210161078AB
LEVER
1
10 N210161079AB
BRACKET
2
11 N210156599AA
BOLT
12
12 N510035101AA LH0406 Trivalent Chromate
BOLT
30
13 N510017610AA
Hexagon socket Flat head bolt M3X10-10.9 A2J (Trivalent)
CAM-FOLLOWER
2
14 KXF00BFAA00 CF3UU-A
BOLT
22
15 XVE3B4VW Hexagon socket head cap screw M3X4-A2-70
O472
--
( KN610145977AA-04A-7 )