NPM-W2S 20161226 - 第68页
14 ヘッドカメラ:NPM Head Camera:NPM パーツレイアウト Kit No. キット 品番 Kit Name キット名称 N610041187AA セクションNo. PARTS LAYOUT Section No. - - S45 ( KN610041187AA-08 )

Ref
No.
Remarks R
1
Q'ty
13
XY軸制御:NPM-W2S
XY-Axis (H):NPM-W2S
イラスト
No.
Part No.
品 名品 番 数量
R
2
パーツリスト
Kit No.
キット品番
Kit Name
キット名称
MTKA014141AA
Part Name
備 考
セクションNo.
PARTS LIST
Section No.
R
3
PCB
1
1 N610112763AB
S
NPM highly accurate beam LED control PCB
NOISE-FILTER
4
2 J0KG00000014
S
ZCAT3035-1330
SHIELD
1
3 KXFP6GNSA00 FGC-8-M4
NOISE-FILTER
1
4 N263ZCAT-027
S
ZCAT1518-0730
SCREW
8
5XYN4+J8FN
Cross recessed Pan head machine screw with SW & Small round-plain was
S44
--
( KMTKA014141AA-00 )

14
ヘッドカメラ:NPM
Head Camera:NPM
パーツレイアウト
Kit No.
キット品番
Kit Name
キット名称
N610041187AA
セクションNo.
PARTS LAYOUT
Section No.
--
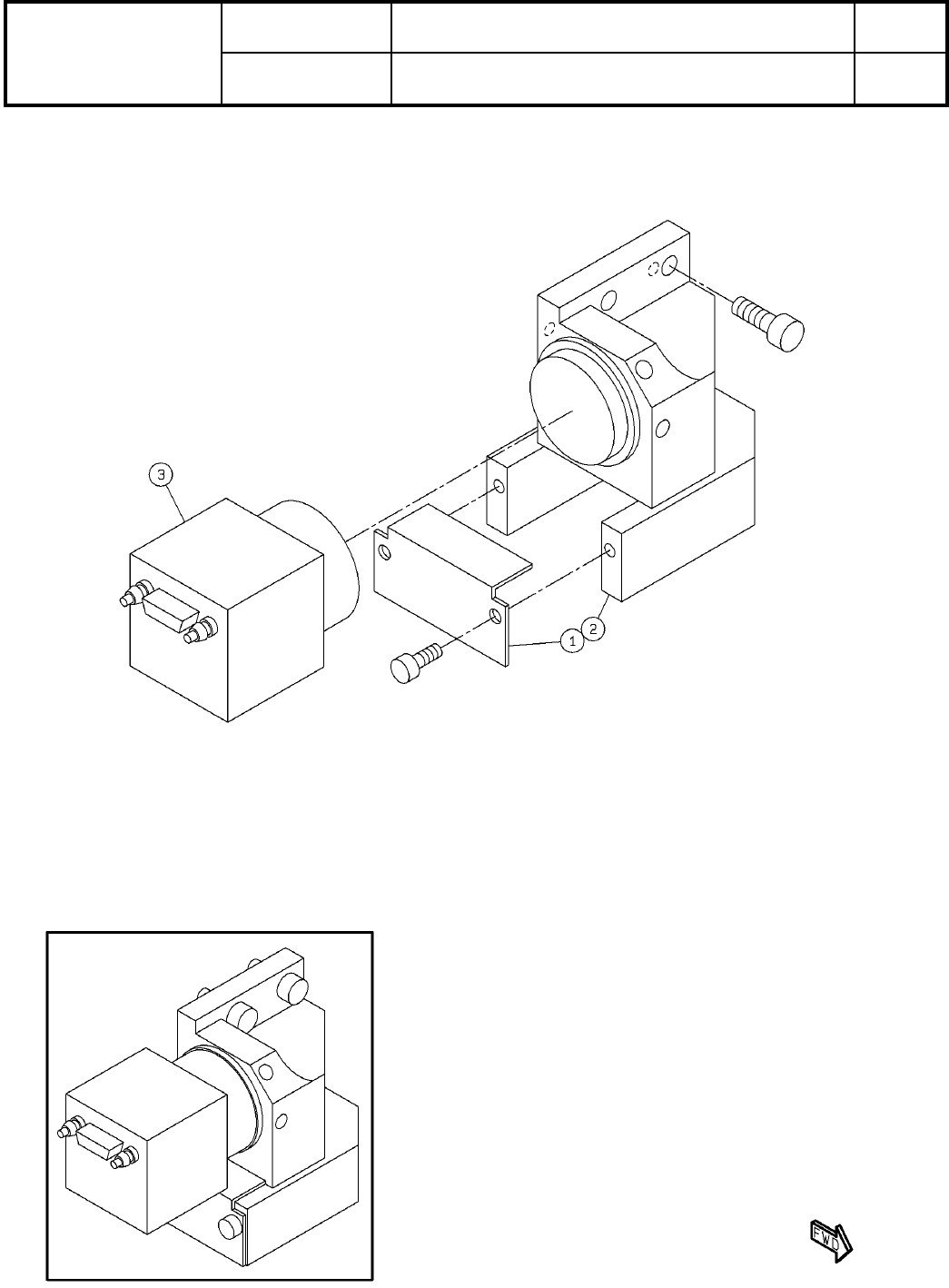
S45
( KN610041187AA-08 )

Ref
No.
Remarks R
1
Q'ty
14
ヘッドカメラ:NPM
Head Camera:NPM
イラスト
No.
Part No.
品 名品 番 数量
R
2
パーツリスト
Kit No.
キット品番
Kit Name
キット名称
N610041187AA
Part Name
備 考
セクションNo.
PARTS LIST
Section No.
R
3
BRACKET
1
1 N210067363AA
LENS
1
2 N510027781AA OKP-46X
CAMERA
1
3 N510029003AA
S
CSCX30BC3-10
S46
--
( KN610041187AA-08 )