Insert Switched Mode Power Supply_20211118_042446 - 第10页
Insert Switched Mode Power Supply Page 10 / 15 18.11.2021

Insert Switched Mode Power Supply
Page 9 / 15 18.11.2021

Insert Switched Mode Power Supply
Page 10 / 15 18.11.2021

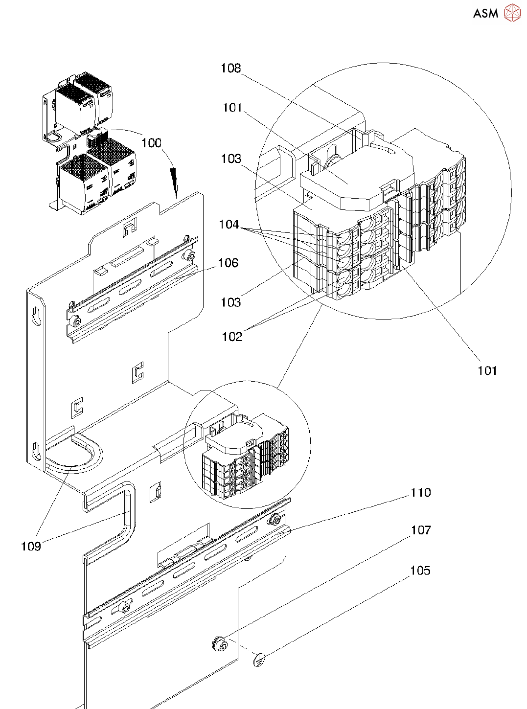
Insert Switched Mode Power Supply
Page 11 / 15 18.11.2021
Pos. Item no. Description Part marking
1 03119265S03 ASSY INSERT TX SERIES SMPS
MGCU
SPARE PART
3 03121279-01 PLUG-IN UNIT SHEET CPL.
03110655-05 CABLE SET SMPS TX
03124975-02 CABLE SET POWER SUPPLIES SMPS
TX
03112091-02 CABLE SUPPLY PS1 TO CAP
160/300V
03112092-02 CABLE DIAGNOSTICS PS1 TO CAP
5V/DATA
29000421-01 RESISTOR KO 1K00 0.3W 5.0%
0207
03112093-02 CABLE CAP OUTPUT DC160/300V
03112094-03 CABLE PS2 POWER SUPPLY DC 42V
03112095-03 CABLE PS3/PS4 PWR SUPPLY DC
27V AND 24V
03112141-02 CABLE 400VAC POWER-SUPPLY 1,
2, 3, 4, PE
03070135-01 TERMINAL BLOCK GY 4-COND.
4MM² 2004-1401
03070137-01 GROUND TERM. BLOCK 4-CON.
4MM² 2004-1407
03070138-01 END/INTERMEDIATE PL. 1MM OG
2004-1492
03124976-03 CABLE SET CONNECTOR FIELD-FDC
SMPS TX
03122907-03 CABLE HARNESS FUSING BOARD FD
TO FDC
03102557-01 DYNAMIC D-3100D RECEPTACLE
2X3-PIN
03070135-01 TERMINAL BLOCK GY 4-COND.
4MM² 2004-1401
03077409-01 FUSE CLAMP 10A LED
281-611/281-541
03077410-01 FUSE CLAMP 10A LED
281-611/281-542
03078043-01 MICRO FUSE 5X20 / T 2.5A /
CERAMIC
03078843-01 MICRO FUSE 5X20 / T 6,3A /
CERAMIC
03112140-02 CABLE: 400VAC ELEKTRIC SLIDE IN