Trailing cable 1_3_20211124_022849 - 第5页

Trailing cable 1/3 Page 5 / 5 24.11.2021 Pos. Item no. Description Part marking 29 00335113-01 PORTAL CABLE S50: TRACK Y1/ MOTOR X1/Y1 30 00335114-01 PORTAL CABLE S50:TRACK Y1 / MOTOR X1/Y1 31 00345185-01 Y-CONNECTION SI…

100%1 / 5
Trailing cable 1/3
Page 3 / 5 24.11.2021
Trailing cable 1/3
Page 4 / 5 24.11.2021
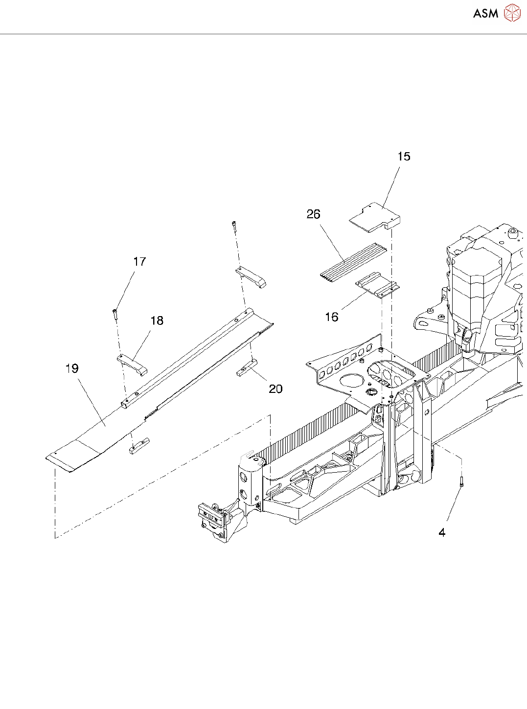
Pos. Item no. Description Part marking
00337850-07 CABLE SET, GANTRY 1 AND 3 SPARE PART
2 03017774-01 CABLE SUPPORT SPARE PART
3 00845019-01 HEXAGON SOCKET HEAD CAP
SCREW
4 00845013-01 HEXAGON SOCKET HEAD CAP
SCREW M3 X 6-8.8
5 00345017-01 INTERMEDIATE PLATE
6 00318601-03 COVER X-CABLE TRAIL.UNIT FOR
7-FOLD TUBE
SPARE PART
7 00845017-01 HEXAGON SOCKET HEAD CAP
SCREW
8 00322964-01 DISTANCE BOLT M3*10 I/I 6KT5.5
ST ZINC-C.
9 00342936-02 C4-BOARD HOLDER LEFT
10 00337345-01 SPACER BOLT M3*40 I/A 6KT5.5 ST
ZINC-PL.
STANDARD PARTS
11 00329094-01 CABLE GUIDE LI45 HI16,5
12 00330201-01 Y-TRAILING UNIT HOLDER
13 00329717-01 HOSE STRAP GUIDE - Y
14 00330200-01 Y-CABLE CLAMPING
15 00325198-03 X-CABLE CLAMP SPARE PART
16 00329831-01 HOSE STRAP GUIDE - X
17 00845015-01 HEXAGON SOCKET HEAD CAP
SCREW M3 X 10-8.8
18 00329195-02 TERMINAL STRIP
19 00329932-02 CABLE SHEET
20 00329936-01 CLAMPING PIECE
21 00333666-01 HOSE STRAP GUIDE - Y
22 00333855-01 INTERMEDIATE LAYER
23 00333144-01 SPACER
24 00337343-01 COVER TAPE SPARE PART
25 00318551S03 SEVENFOLD TUBE PK-3, BLACK 4
METER
SPARE PART
26 00318551S03 SEVENFOLD TUBE PK-3, BLACK 4
METER
SPARE PART
27 00308279-01 DISTANCE BOLT M3X20 I/O HEX5,5
ST ZC
STANDARD PARTS
28 00335112-01 PORTAL CABLE S50:TRACK Y1 /
MOTOR X1
Trailing cable 1/3
Page 5 / 5 24.11.2021
Pos. Item no. Description Part marking
29 00335113-01 PORTAL CABLE S50: TRACK Y1/
MOTOR X1/Y1
30 00335114-01 PORTAL CABLE S50:TRACK Y1 /
MOTOR X1/Y1
31 00345185-01 Y-CONNECTION SINGLE
00375274-01 CABLE PROTECT.FOIL 450MM FOR
HS GANTRY
SPARE PART
00375274-01 CABLE PROTECT.FOIL 450MM FOR
HS GANTRY
SPARE PART
00345521-01 SPIRAL HOSE TYPE 3
32 00352986-01 ADHESIVE TAPE SPARE
33 00345733-01 4 WAY DISTRIBUTOR SPARE PART
34 00335414-03 X/Y DISTRIBUTOR HS50 SPARE PART
35 00335136-02 ENDPOSITION PROXIMITY 2 Y-AXIS SPARE PART
36 00335137-02 LIMIT PROX.SWITCH 1 REFER.POINT
Y-AXIS
SPARE PART
37 00335138-02 DISTANCE SENSOR HS50 SPARE PART
00330277-01 LIGHT BARRIER
38 00355018-01 STOP BUFFER
39 00301040-01 ELASTOMER SPRING 25*10,5*50
(90 SHORE A)
SPARE PART
40 00305650-01 SLEEVE SPARE PART
41 00845077-01 HEXAGON SOCKET HEAD CAP
SCREW
43 00343442-05 INCREMENTAL SHAFT ENCODER Y-
AXIS
44 00343892-01 CABLE CLAMP
45 00316378-01 SPACER BOLT, TYPE B I/A-M3X10-ST
ZN
STANDARD PARTS
46 00845013-01 HEXAGON SOCKET HEAD CAP
SCREW M3 X 6-8.8
Powered by TCPDF (www.tcpdf.org)