P-207-001 - 第51页
MODEL TCM-X100 0107-001 Key No. P AR T No. P AR T NAME Q’ ty REMARKS NOTE 49 E-7 60 5 630 097 7318 B O X 1 765E--010-605 60 7 630 093 3482 BR AC KE T 1 765E--010-607 60 8 630 000 7503 BO L T ,HEX-SCT 4 765E--010-608 60 9…

MODEL TCM-X100
0212-002
48
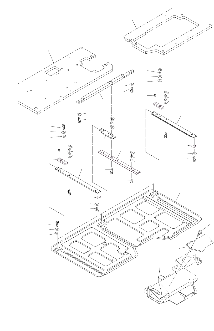
ਛ㑆ࡌࠬㇱ MIDDLE BASE SECTION
Fig. E-7
ㇱຠឃㇱޔࡁ࠭࡞⪭ਅᬌㇱ
Component Discharger,
Nozzle Drop Detector
Key No.201
See Fig.EB-3
See Fig.EC-1
Key No.1
607
624
617
625
626
627
612
608
609
610
613
608
609
610
610
609
620
616
622
611
605
Fig.E-7
4797L
TCM-X300
TCM-X200-002
4797A-002

MODEL TCM-X100
0107-001
Key No. PART No. PART NAME Q’ty REMARKS
NOTE
49
E-7
605 630 097 7318 BOX 1 765E--010-605
607 630 093 3482 BRACKET 1 765E--010-607
608 630 000 7503 BOLT,HEX-SCT 4 765E--010-608
609 411 141 2806 WASHER SPR 3 6 765E--010-609
610 411 141 3902 WASHER V 3X7X0.5 6 765E--010-610
611 630 094 0640 BLOCK 1 765E--010-611
612 630 094 5515 PLATE 1 765E--010-612
613 411 039 2604 SCR PAN 2X6 2 765E--010-613
616 630 086 4472 SENSOR,PROXIMITY 1 BPX29 765E--010-616
617 630 092 9317 ASSY,SENSOR,PROXIMITY 1 BPX29 Amp 765E--010-617
620 630 000 7527 BOLT,HEX-SCT 2 765E--010-620
622 630 091 3927 PLATE 1 765E--010-622
624 630 000 7510 BOLT,HEX-SCT 1 765E--010-624
625 411 113 0809 SCR PAN 3X25 2 765E--010-625
626 411 086 4408 WASHER SPR 3 2 765E--010-626
627 411 119 1909 WASHER V 3X7X0.5 2 765E--010-627

MODEL TCM-X100
0212-002
50
ਛ㑆ࡌࠬㇱ MIDDLE BASE SECTION
Fig. E-8 ㇱຠ⪭ਅ㒐ᱛࠞࡃ
Component Drop Prevension Cover
Fig.E-8
TCM-X100-002
Key No.5
See Fig.E-1
See Fig.E-1
Key No.23
Key No.1
See Fig.EC-1
707
720
708
717
715
712
709
709
709
708
707
720
703
709
703
709
717
708
743
707
706
723
713
743
713
710
726
714
712
721
715
722
738
739
737
741
742
740
741
742
740
741
742
740
716
725
705