P-207-001 - 第54页
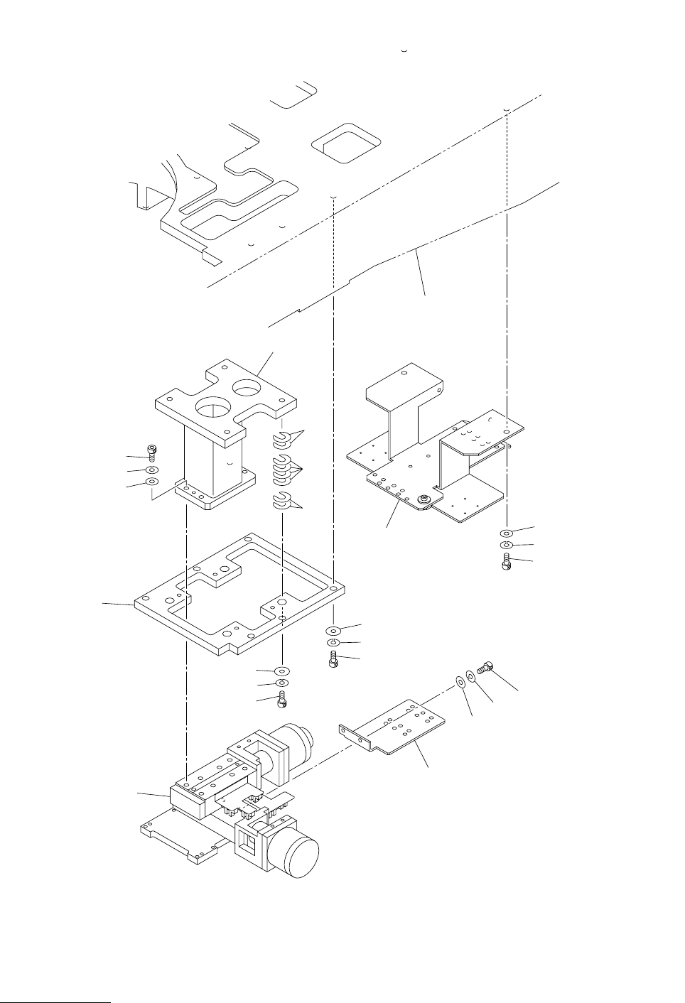
MODEL TCM-X100 0212-002 52 ⼂࡙࠾࠶࠻ㇱ RECOGNITION UNIT SECTION Fig. EB-2 ࠬࠦࡊ XY ࡙࠾࠶࠻ Scope XY Unit 119 111 120 108 112 108 112 121 115 114 113 107 109 108 106 105 104 See Fig.L-1 Key No.12 118 117 103 110 102 101 Fig.EB-2 …

MODEL TCM-X100
0212-002
Key No. PART No. PART NAME Q’ty REMARKS
NOTE
51
E-8
703 411 141 6705 WASHER SPR 5 4 765E--010-703
705 630 114 7833 SUPPORT(R) 1 765E--010-705
706 630 000 7602 BOLT,HEX-SCT 3 765E--010-706
707 411 141 2905 WASHER SPR 4 7 765E--010-707
708 411 141 4008 WASHER V 4X9X0.8 7 765E--010-708
709 630 000 7749 BOLT,HEX-SCT 9 765E--010-709
710 630 113 3362 COVER 1 765E--010-710
712 630 115 0529 SPRING,FLAT 2 765E--010-712
713 630 070 9902 MACHINE SCREW 4 765E--010-713
714 630 091 4597 SUPPORT 1 765E--010-714
715 630 112 2892 SUPPORT 2 765E--010-715
716 630 114 7840 SUPPORT(L) 1 765E--010-716
717 630 112 2908 PLUNGER 2 765E--010-717
720 630 000 7619 BOLT,HEX-SCT 4 765E--010-720
721 630 100 9568 PLATE 1 765E--010-721
722 630 114 9653 SUPPORT 1 765E--010-722
723 411 002 2600 SCR FLT 3X6 4 765E--010-723
725 630 114 6133 GUIDE 1 765E--010-725
726 630 071 9161 BOLT,HEX-SCT 2 765E--010-726
727 630 113 9616 HOLDER 1 765E--010-727
728 630 113 9586 HANDLE 1 765E--010-728
729 630 001 3962 SPRING,COMP 1 765E--010-729
730 630 114 9707 BRACKET 1 765E--010-730
731 630 000 7626 BOLT,HEX-SCT 2 765E--010-731
732 411 141 2905 WASHER SPR 4 2 765E--010-732
733 411 141 4008 WASHER V 4X9X0.8 2 765E--010-733
734 630 000 7756 BOLT,HEX-SCT 2 765E--010-734
735 411 141 6705 WASHER SPR 5 2 765E--010-735
736 630 029 1391 WASHER 2 765E--010-736
737 630 114 9714 COLLAR 2 T0.5 765E--010-737
738 630 114 9721 COLLAR 2 T0.3 765E--010-738
739 630 114 9738 COLLAR 4 T0.1 765E--010-739
740 630 114 9745 COLLAR 10 T0.1 765E--010-740
741 630 114 9752 COLLAR 5 T0.3 765E--010-741
742 630 114 9769 COLLAR 10 T0.5 765E--010-742
743 411 141 5609 WASHER F 2.5X5X0.5 4 765E--010-743

MODEL TCM-X100
0212-002
52
⼂࡙࠾࠶࠻ㇱ RECOGNITION UNIT SECTION
Fig. EB-2 ࠬࠦࡊ XY ࡙࠾࠶࠻ Scope XY Unit
119
111
120
108
112
108
112
121
115
114
113
107
109
108
106
105
104
See Fig.L-1
Key No.12
118
117
103
110
102
101
Fig.EB-2
TCM-X200-002
4797A-002
4797L
TCM-X300

MODEL TCM-X100
0212-002
Key No. PART No. PART NAME Q’ty REMARKS
NOTE
53
EB-2
101 630 086 4236 BASE(SCOPE XY) 1 765EB-010-101
102 630 088 8690 BASE(SCOPE XY) 1 765EB-010-102
103 630 086 2591 COLLAR(0.5) 8 T0.5 765EB-010-103
104 630 000 8036 BOLT,HEX-SCT 4 765EB-010-104
105 411 141 3100 WASHER SPR 8 4 765EB-010-105
106 630 001 0244 WASHER 4 765EB-010-106
107 630 000 7916 BOLT,HEX-SCT 6 765EB-010-107
108 411 141 3001 WASHER SPR 6 12 765EB-010-108
109 630 001 0237 WASHER 6 765EB-010-109
110 630 087 2156 COLLAR(0.1) 16 T0.1 765EB-010-110
111 630 098 2695 COLLAR(0.05) 8 T0.05 765EB-010-111
112 411 141 4305 WASHER V 6X12.5X1.6 6 765EB-010-112
113 630 000 7756 BOLT,HEX-SCT 2 765EB-010-113
114 411 141 6705 WASHER SPR 5 2 765EB-010-114
115 411 141 4107 WASHER V 5X10X1 2 765EB-010-115
117 630 093 9941 BRACKET 1 765EB-010-117
118 630 092 0512 BRACKET 1 765EB-010-118
119 630 099 6128 UNIT(SCOPE-XY) 1 MPM28(CX),MPM29(CY),BPH1-8
765EB-010-119
120 630 000 7893 BOLT,HEX-SCT 4 765EB-010-120
121 630 000 7886 BOLT,HEX-SCT 2 765EB-010-121