P-207-001 - 第59页
MODEL TCM-X100 0212-002 Key No. P AR T No. P AR T NAME Q’ ty REMARKS NOTE 57 EB-7 60 1 630 000 7770 BO L T ,HEX-SCT 4 765EB-010-601 602 41 1 141 6705 WA SH ER S PR 5 4 765EB-010-602 603 41 1 141 4107 WA SH ER V 5 X1 0X 1…

MODEL TCM-X100
0107-001
56
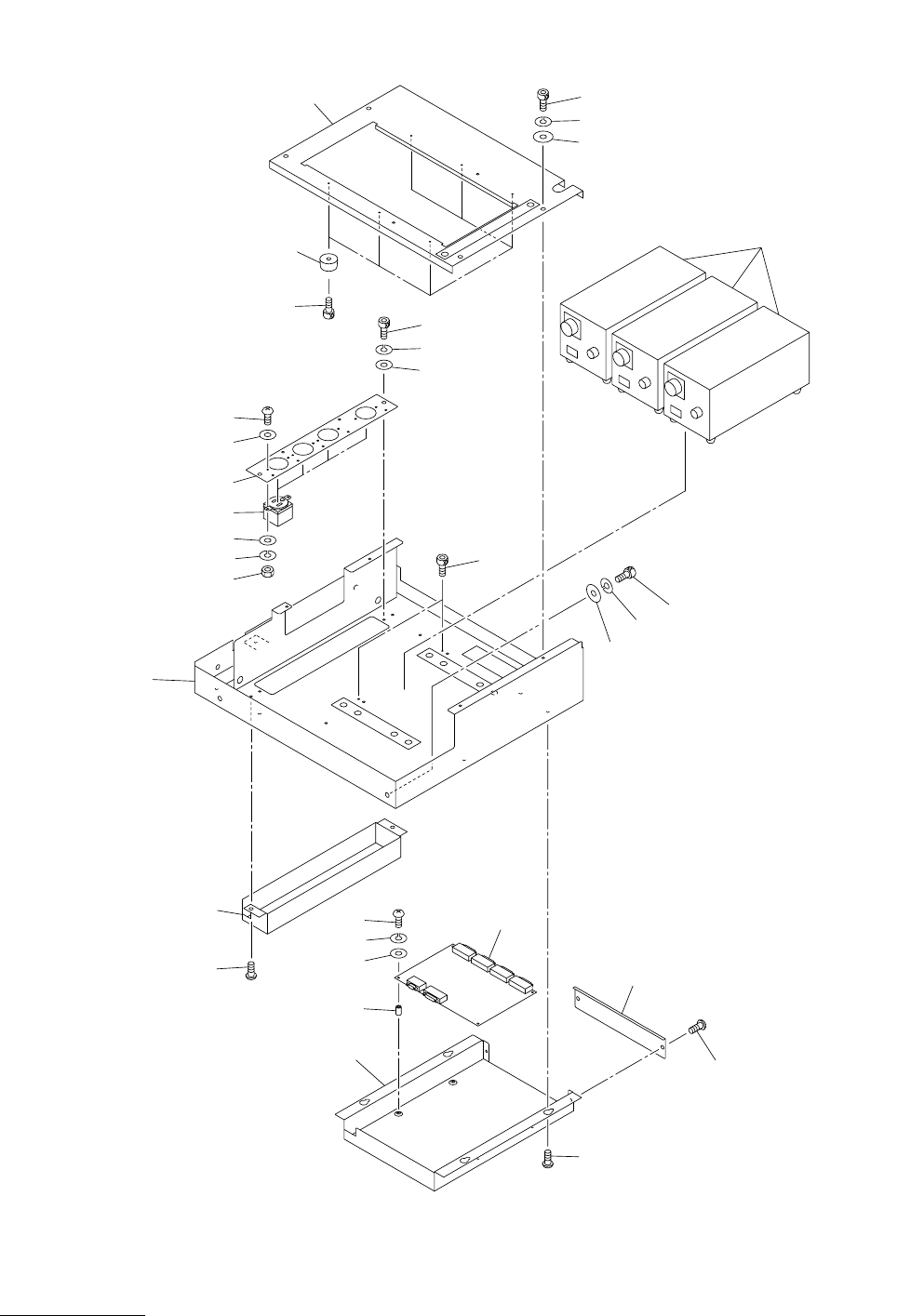
⼂࡙࠾࠶࠻ㇱ RECOGNITION UNIT SECTION
Fig. EB-7 ㇱຠ⼂ࠞࡔ Recognition Camera
Fig.EB-7
TCM-X200
4797A
TCM-X100J
4797S
TCM-X100AL
Key No.119
See Fig.EB-2
601
602
603
654
655
656
652
604
606
605
606
605
604
656
655
653
651
651
651
See Fig.EB-2
Key No.117

MODEL TCM-X100
0212-002
Key No. PART No. PART NAME Q’ty REMARKS
NOTE
57
EB-7
601 630 000 7770 BOLT,HEX-SCT 4 765EB-010-601
602 411 141 6705 WASHER SPR 5 4 765EB-010-602
603 411 141 4107 WASHER V 5X10X1 4 765EB-010-603
604 411 039 2604 SCR PAN 2X6 8 765EB-010-604
605 411 141 2509 WASHER SPR 2 8 765EB-010-605
606 411 141 3605 WASHER V 2X5X0.3 8 765EB-010-606
651 630 099 2328 ASSY,SCOPE UNIT 1 #KD-4812US 765EB-010-651
652 630 099 2304 LIGHTING UNIT 1 #SRP48T-1650S 765EB-010-652
653 630 000 7503 BOLT,HEX-SCT 2 765EB-010-653
654 630 000 7558 BOLT,HEX-SCT 2 765EB-010-654
655 411 141 2806 WASHER SPR 3 4 765EB-010-655
656 411 141 5807 WASHER F 3X6X0.5 4 765EB-010-656

MODEL TCM-X100
0107-001
58
⼂࡙࠾࠶࠻ㇱ RECOGNITION UNIT SECTION
Fig. EB-8 ㇱຠ⼂ᾖ࡙࠾࠶࠻ Recognition Lighting Unit
Fig.EB-8
TCM-X200
4797A
TCM-X100AL
763
762
761
766
762
763
772
771
770
772
773
772
771
774
766
762
767
753
778
769
752
764
765
768
751-10
751
768
755
768
760
758
759
776
754
.