Components carriage D4_20211123_070301 - 第8页
Components carriage D4 Page 8 / 10 23.11.2021

Components carriage D4
Page 7 / 10 23.11.2021

Components carriage D4
Page 8 / 10 23.11.2021

Components carriage D4
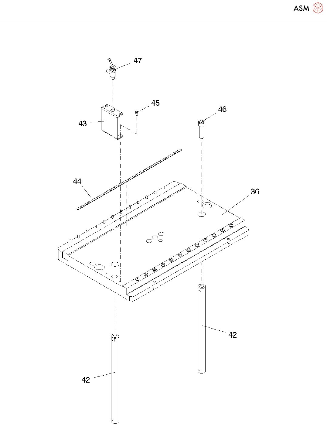
Page 9 / 10 23.11.2021
Pos. Item no. Description Part marking
00119821-04 COMPONENTS CARRIAGE SIPLACE
HS-D
1 03046321-05 COMPONENTS CARRIAGE SIPLACE
D4
2 03046322-03 UNDERCARRIAGE COMPLETE / COT
D4
3 03078567-01 CONNECTING ROD COMPLETE
4 03046327-01 WASTE CONTAINER COMPLETE
/COT D4
SPARE PART
6 03044744-01 PROFILE COVER CAP
8 03051843-02 GUIDE ROD COMPL. / COT D4
9 03051845-02 SUPPORT FOR ROLLERS COMPL.
/COT D4
10 03044810-02 SLIDE PLATE LEFT SIDE
11 03044809-02 SLIDE PLATE RIGHT SIDE
12 03050200-03 SIDE PANEL RIGHT SIDE
13 03044811-03 SIDE PANEL LEFT SIDE
14 03051900-01 GRID ANGLE REAR / COT D4
15 03051731-01 GRID ANGLE INSIDE / COT D4
16 03011658-01 PARTITION PLATE /TAPEREEL
CONTAINER COMP
SPARE PART
17 03079534-01 DISTANZE TUBE 27,5 MM
21 03045109-01 DIN912-M8 X 16-A2-70
22 03050690-01 DIN912-M8 X 45-8.8, VERZ.DSP
31 03044881-01 FIXED CHASTERS SPARE PART
32 03079532-01 TENTE TWIN WHEEL SWIVEL
2970DYK050P30
34 03046385-02 HEIGHT ADJUSTMENT / COT D4
35 03046423-01 TABLE COMPLETE / COT D4
36 03044579-01 COMPONENTS TABLE TABLE PLATE
COMPLETE /COT D4
37 03044578-01 TABLE PLATE / COT D4
38 03050524-01 SPERICAL CAP
39 00337194-01 COMPONENTS TABLE PLATE
CENTERING BUSH
40 00303447-01 DRILL BUSHING ANALOG DIN 172-A
18X16
STANDARD PARTS
41 00619866-01 PARALLEL PIN 5M5 X 16-ST