TR6DNR_维修调整 - 第22页
维修调整要领书 3-7 3- 6. 电源灯的更换 按压插座部①的 A 部卡爪(两侧)予以拆下。 取下环②后拆下镜头部分③。 ①、②、③ POW ER LAMP CABLE ASM (货号: 40045008 ) 3- 7. 风扇电动机的更换 请拆下 MAIN 电路板①。 请取下 A 的 2 个螺丝,把风扇电动机②连同托架一起卸下,更换风扇电动机。 ② AC FAN MOTO R ASM (货号: 40045016 )

维修调整要领书
3-6
3-5. 步进电动机驱动器的更换
请拆下 A 部的螺丝更换驱动器。
更换后请根据下图进行开关的设定。
设置值是 X 轴、Y 轴、梭动器全部通用的。
⑤、⑥、⑦步进电动机驱动器(货号:40045711)
0
1
2
3
4
5
6
7
8
9
A
B
C
D
E
F
0
1
2
3
4
5
6
7
8
9
A
B
C
D
E
F
0
1
2
3
4
5
6
7
8
9
A
B
C
D
E
F
1
2
F
S.S
RUN
STP
1 2 3 4
F/R
LV
PD
EORG
設定値
OFF
ON
ON
OFF
X
轴
Y
轴
梭动器
设定值

维修调整要领书
3-7
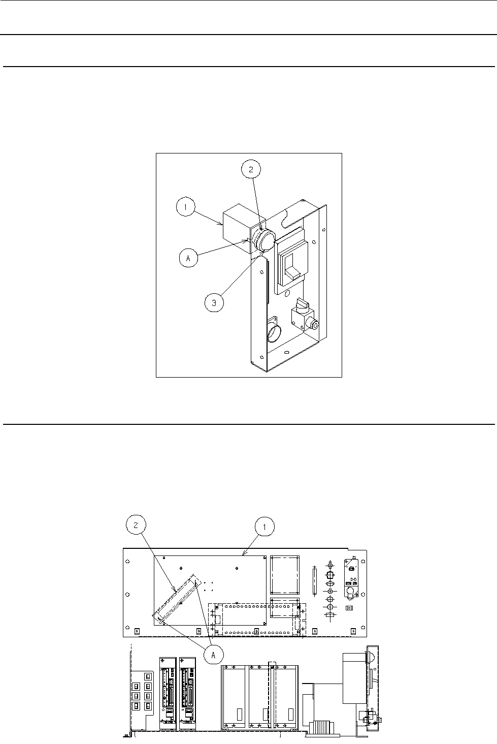
3-6. 电源灯的更换
按压插座部①的 A 部卡爪(两侧)予以拆下。
取下环②后拆下镜头部分③。
①、②、③POWER LAMP CABLE ASM(货号:40045008)
3-7. 风扇电动机的更换
请拆下 MAIN 电路板①。
请取下 A 的 2 个螺丝,把风扇电动机②连同托架一起卸下,更换风扇电动机。
②AC FAN MOTOR ASM(货号:40045016)

维修调整要领书
3-8
3-8. Y 装置风扇电动机的更换
请利用安装螺丝 A 拆下 Y RAIL BASE A①。
请更换风扇电动机②。
②FAN MOTOR (Y MOTOR) ASM(货号:40045148)
3-9. X 装置风扇电动机的更换
请拆下 XF COVER 及 X COVER,把风扇①连同托架一起拆下,更换风扇。
①FAN MOTOR (X MOTOR) ASM(货号:40045135)