TR6DNR_维修调整 - 第77页
维修调整要领书 5-6 5- 6. 传送带电动机的更换 请拆下 C COVER B6D ,更换电动机。 请以( A )的螺丝连同托架一起拆下,以( B )的螺丝拆下电动机⑥。 卸下电动机时请小心操作,以免损伤小型马达减速器。 组装时皮带轮( C )要符合图示的尺寸。 ⑥传送电动机(货号: 40045718 )

维修调整要领书
5-5
5-5. 梭动器电动机的更换
请拆下梭动器装置。(参照 1-3)
请以(A)的螺丝拆下 S MOTOR ASM⑤。
请换装皮带轮(B),S MOTOR ASM⑤与皮带轮(B)的空隙要做到是 10.2mm。
更换后,请进行皮带张力调整。
安装梭动器装置时请检查 X 轴吸盘与梭动器吸盘的位置有没有偏离。(参照 1-3)
⑤S MOTOR ASM(货号:40045063)
10.2mm

维修调整要领书
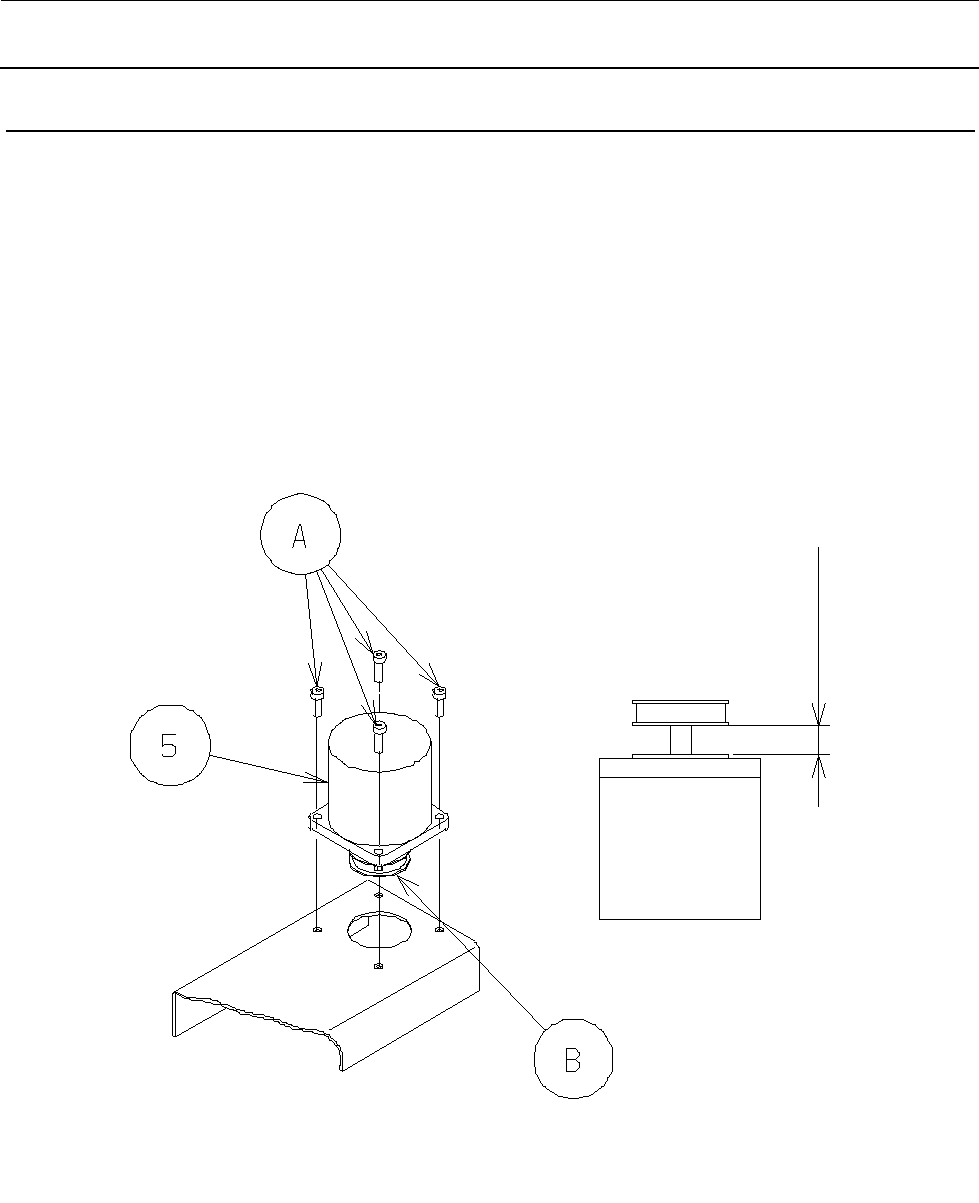
5-6
5-6. 传送带电动机的更换
请拆下 C COVER B6D,更换电动机。
请以(A)的螺丝连同托架一起拆下,以(B)的螺丝拆下电动机⑥。
卸下电动机时请小心操作,以免损伤小型马达减速器。
组装时皮带轮(C)要符合图示的尺寸。
⑥传送电动机(货号:40045718)

维修调整要领书
5-7
5-7. 自动调整宽度电动机的更换(选项:自动调整宽度)
请拆下 C COVER B6D,更换电动机。
请以(A)的螺丝连同托架一起拆下,以(B)的螺丝拆下电动机⑦。
皮带轮(C)与电动机轴要装配得成为同一平面。
更换后,请进行皮带张力调整。
⑦自动调整宽度电动机(货号:40045712)
同一面
(8.1mm)
同一平面