TR6DNR_维修调整 - 第81页
维修调整要领书 6-3 6- 3. 梭动器皮带 ( TR6 DNR 标准 ) 的更换及调整 请从 S 传递机构 BR ①上拆下皮带 BR ②, 更换皮带③ 。( 安装扭矩: 29.4N ・ cm , 螺丝锁定: LOCT ITE 粘结剂 277 ) 更换后,请进行皮带张力调整。 将滑架移动到左端的位置后,请利用张力调整螺丝④调整为以下值。 P= 0.9 8N ( 1 00g ),挠曲 =8 mm ※ 使用声波式皮带张力计时 单位重量: …

维修调整要领书
6-2
6-2. Y 轴皮带的更换及调整
请将传送带的轨道调到最小宽度之后拆下 Y COVER。
拆下 Y RAIL BASE A 更换皮带。(参照 5-4)
请拆下空转轮 BR①,接着拆下皮带 BR②更换皮带。(安装扭矩:29.4N・cm,螺丝锁定:LOCTITE
粘结剂 277)
更换皮带后,请将滑架向左右移动,检查皮带有无摆动。
如有摆动时,有可能是空转滚柱未成垂直,故请移动空转轮 BR①进行调整。
接着请进行皮带的张力调整。
将滑架移动到下图所示位置后,请利用张力调整螺丝④调整为以下值。
P=0.98N(100g),挠曲=5mm
※ 使用声波式皮带张力计时
单位重量: 0.00127N/cm
2
皮带宽度: 6mm
跨距: 409.3mm
皮带张力: 16N(1.6kgf)
③Y 皮带(货号:E1210717000)
409.3mm
204mm
5mm
P=0.98
N

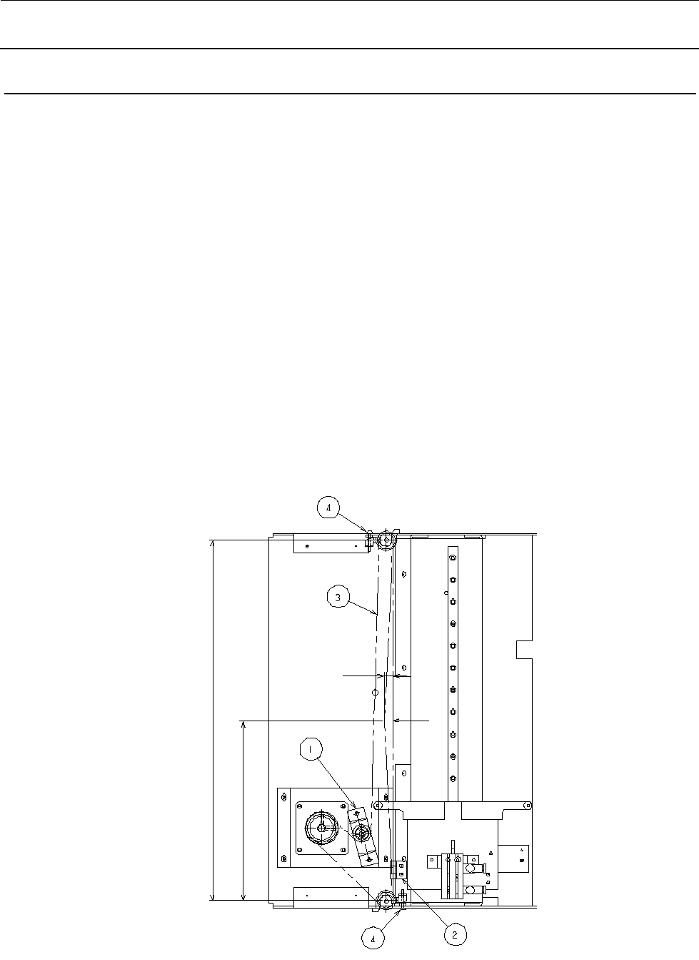
维修调整要领书
6-3
6-3. 梭动器皮带(TR6DNR 标准)的更换及调整
请从 S 传递机构 BR①上拆下皮带 BR②,更换皮带③。( 安装扭矩:29.4N・cm,螺丝锁定:LOCTITE
粘结剂 277)
更换后,请进行皮带张力调整。
将滑架移动到左端的位置后,请利用张力调整螺丝④调整为以下值。
P=0.98N(100g),挠曲=8mm
※ 使用声波式皮带张力计时
单位重量: 0.00127N/cm
2
皮带宽度: 6mm
跨距: 586mm
皮带张力: 15.78N(1.61kgf)
③S 皮带(货号:E2126723000)
586mm
293mm

维修调整要领书
6-4
6-4. 梭动器皮带(TR6DER Ex 尺寸及 TR6DNV)的更换及调整
请从 S 传递机构 BR①上拆下皮带 BR②,更换皮带③。( 安装扭矩:29.4N・cm,螺丝锁定:LOCTITE
粘结剂 277)
更换后,请进行皮带张力调整。
将滑架移动到左端的位置后,请利用张力调整螺丝④调整为以下值。
P=0.98N(100g),挠曲=9mm
※ 使用声波式皮带张力计时
单位重量: 0.00127N/cm
2
皮带宽度: 6mm
跨距: 663.6mm
皮带张力: 15.78N(1.61kgf)
③S 皮带(E)(货号:E21234723000)
663.6mm
331.8mm