1G4C-E-MP4-2 - 第30页
Ref No. Remark s R 1 Q'ty 㪉㪋 㜞 ㅦශ↪䊜䉺䊦䉴䉨䊷䉳䉶䉾䊃 㩿㪣㪔㪋㪏㪇㪀 Metal Sq ueegee Set for H igh-Speed Print (L = 480) 䍐䍵䍛䍢 㪥㫆㪅 Part No. ຠ䇭䇭ฬ ຠ⇟ ᢙ㊂ R 2 䊌䊷䉿䊥䉴䊃 Kit N o . 䉨䉾䊃ຠ ⇟ Kit Name 䉨䉾䊃ฬ⒓ KXFX03C4A00 Part Name 䇭䇭䇭⠨ 䍜䍖䍚䍌䍻㪥㫆㪅 …

㪉㪋
㜞
ㅦශ↪䊜䉺䊦䉴䉨䊷䉳䉶䉾䊃㩿㪣㪔㪋㪏㪇㪀
Metal Squeegee Set for High-Speed Print (L = 480)
䊌䊷䉿䊧䉟䉝䉡䊃
Kit N
o
.
䉨䉾䊃ຠ
⇟
Kit Name
䉨䉾䊃ฬ⒓
KXFX03C4A00
䍜䍖䍚䍌䍻㪥㫆㪅
PARTS LAYOUT
Section No.
S55
--:(:%#

Ref
No.
Remarks
R
1
Q'ty
㪉㪋
㜞
ㅦශ↪䊜䉺䊦䉴䉨䊷䉳䉶䉾䊃㩿㪣㪔㪋㪏㪇㪀
Metal Squeegee Set for High-Speed Print (L = 480)
䍐䍵䍛䍢
㪥㫆㪅
Part No.
ຠ䇭䇭ฬຠ⇟ ᢙ㊂
R
2
䊌䊷䉿䊥䉴䊃
Kit N
o
.
䉨䉾䊃ຠ
⇟
Kit Name
䉨䉾䊃ฬ⒓
KXFX03C4A00
Part Name
䇭䇭䇭⠨
䍜䍖䍚䍌䍻㪥㫆㪅
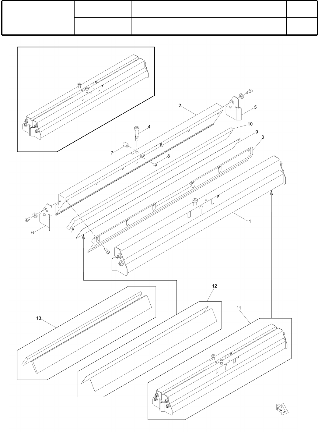
PARTS LIST
Section No.
R
3
HOLDER
1
1 N210010852AA
A
HOLDER
1
2 N210010853AA
A
HOLDER
2
3 KXFB00KTA00
BOLT
2
4 KXFB08MDA00
GUIDE
2
5 KXFB00GEA00
GUIDE
2
6 KXFB00GDA00
BALL-BUTTON
2
7 KXF0167AA00 BBT8
SCREW
2
8 XXE5D8FT
Hexagon socket set screw Cup point M5X8-45H SOB
METAL-SQUEEGEE
2
9 KXF0E430A00 (DA KXF0E430A00)
SQUEEGEE
2
10 KXF0E433A00 (DA KXF0E433A00)
KIT
1
11 N610004766AA
KIT
1
12 N610004797AA
KIT
1
13 N610004803AA
S56
--:(:%#

㪉㪌
㜞
ㅦශ↪䊜䉺䊦䉴䉨䊷䉳䉶䉾䊃㩿㪣㪔㪊㪌㪇㪀
Metal Squeegee Set for High-Speed Print (L = 350)
䊌䊷䉿䊧䉟䉝䉡䊃
Kit N
o
.
䉨䉾䊃ຠ
⇟
Kit Name
䉨䉾䊃ฬ⒓
KXFX03ABA00
䍜䍖䍚䍌䍻㪥㫆㪅
PARTS LAYOUT
Section No.
S57
--:(:#$#