SPV - 第139页
Ref No. Remark s R 1 Q'ty 14 スキージヘッド制御: SPV Squeegee Head (H ):SPV イラスト No. Part No. 品 名 品 番 数量 R 2 パーツリスト Kit No. キット品 番 Kit Name キット名称 N610168652AA Part Nam e 備 考 セクションNo. PARTS LIST Section No. R 3 Sensor Conn ec…

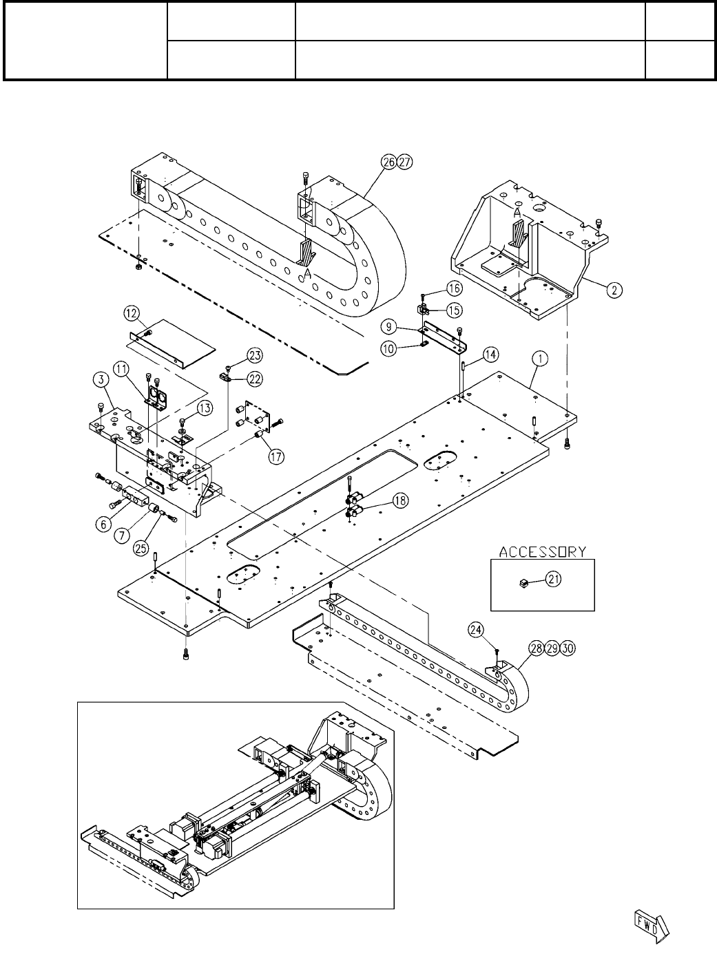
14
スキージヘッド制御:SPV
Squeegee Head (H):SPV
パーツレイアウト
Kit No.
キット品番
Kit Name
キット名称
N610168652AA
セクションNo.
PARTS LAYOUT
Section No.
-
-
S93
( KN610168652AA-01 )

Ref
No.
Remarks R
1
Q'ty
14
スキージヘッド制御:SPV
Squeegee Head (H):SPV
イラスト
No.
Part No.
品 名品 番 数量
R
2
パーツリスト
Kit No.
キット品番
Kit Name
キット名称
N610168652AA
Part Name
備 考
セクションNo.
PARTS LIST
Section No.
R
3
Sensor Connection Board
1
1 N610096014AA PNF0A8-AA
SCREW
5
2XYN4+J8FN
Cross recessed Pan head machine screw with SW & Small round-plain wa
S94
-
-
( KN610168652AA-01 )

15
マスククリーニング:SPV
Mask Cleaning:SPV
パーツレイアウト
Kit No.
キット品番
Kit Name
キット名称
MTKA000250AA
セクションNo.
PARTS LAYOUT
Section No.
-
-
S95
( KMTKA000250AA-08-1 )