SPV - 第224页
26 銘板・警告ラベル( 全体カバー・メイン機 ):SPV Label(W hole Cov er-M ain Ma chine):SPV パーツレイアウト Kit No . キット品番 Kit Name キット名称 MTKA000241AA セクションNo. PARTS LAYOUT Section No. - - S177 ( KMTKA000241AA-07 -4 )

Ref
No.
Remarks R
1
Q'ty
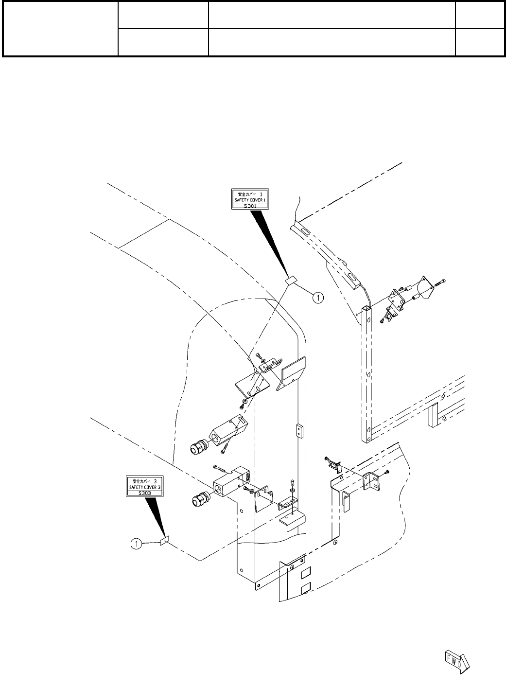
26
銘板・警告ラベル(全体カバー・メイン機):SPV
Label(Whole Cover-Main Machine):SPV
イラスト
No.
Part No.
品 名品 番 数量
R
2
パーツリスト
Kit No.
キット品番
Kit Name
キット名称
MTKA000241AA
Part Name
備 考
セクションNo.
PARTS LIST
Section No.
R
3
LABEL
1
1 MTPL000108AB
S176
-
-
( KMTKA000241AA-07-3 )

26
銘板・警告ラベル(全体カバー・メイン機):SPV
Label(Whole Cover-Main Machine):SPV
パーツレイアウト
Kit No.
キット品番
Kit Name
キット名称
MTKA000241AA
セクションNo.
PARTS LAYOUT
Section No.
-
-
S177
( KMTKA000241AA-07-4 )

Ref
No.
Remarks R
1
Q'ty
26
銘板・警告ラベル(全体カバー・メイン機):SPV
Label(Whole Cover-Main Machine):SPV
イラスト
No.
Part No.
品 名品 番 数量
R
2
パーツリスト
Kit No.
キット品番
Kit Name
キット名称
MTKA000241AA
Part Name
備 考
セクションNo.
PARTS LIST
Section No.
R
3
LABEL
1
1 MTPL000108AB
S178
-
-
( KMTKA000241AA-07-4 )