SPV - 第421页
Ref No. Remark s R 1 Q'ty 74 メタルスキージセット (L=270):SPD Metal Sq ueegee Set(L=270):SP D イラスト No. Part No. 品 名 品 番 数量 R 2 パーツリスト Kit No. キット品 番 Kit Name キット名称 N610129978AA Part Nam e 備 考 セクションNo. PARTS LIST Section No. R…

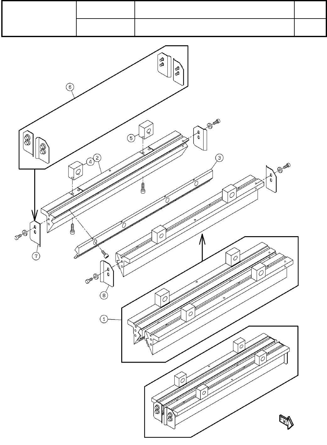
74
メタルスキージセット(L=270):SPD
Metal Squeegee Set(L=270):SPD
パーツレイアウト
Kit No.
キット品番
Kit Name
キット名称
N610129978AA
セクションNo.
PARTS LAYOUT
Section No.
--
O189
( KN610129978AA-01 )

Ref
No.
Remarks R
1
Q'ty
74
メタルスキージセット(L=270):SPD
Metal Squeegee Set(L=270):SPD
イラスト
No.
Part No.
品 名品 番 数量
R
2
パーツリスト
Kit No.
キット品番
Kit Name
キット名称
N610129978AA
Part Name
備 考
セクションNo.
PARTS LIST
Section No.
R
3
KIT
1
1 N610129979AA
HOLDER
2
2 N210152811AB
HOLDER
2
3 N210102540AB
BLOCK
2
4 N210093068AA
BLOCK
2
5 N210093069AA
SQUEEGEE
2
6 N510047261AA
A
PFOS_Free Dimpie metal squeegee 270X40X0.2(DDA)
KIT
1
7 N610059137AA
GUIDE
2
8 N210074395AB
GUIDE
2
9 N210074396AB
O190
--
( KN610129978AA-01 )

75
プラスチックスキージセット(L=370):SPD
Plastic Squeegee Set(L=370):SPD
パーツレイアウト
Kit No.
キット品番
Kit Name
キット名称
N610129980AA
セクションNo.
PARTS LAYOUT
Section No.
--
O191
( KN610129980AA-01 )