SPV - 第424页
76 プラスチック スキージセット( L=270): SPD Plastic Squeegee Se t(L=270):SPD パーツレイアウト Kit No . キット品番 Kit Name キット名称 N610129982AA セクションNo. PARTS LAYOUT Section No. - - O193 ( KN610129982AA-00 )

Ref
No.
Remarks R
1
Q'ty
75
プラスチックスキージセット(L=370):SPD
Plastic Squeegee Set(L=370):SPD
イラスト
No.
Part No.
品 名品 番 数量
R
2
パーツリスト
Kit No.
キット品番
Kit Name
キット名称
N610129980AA
Part Name
備 考
セクションNo.
PARTS LIST
Section No.
R
3
KIT
1
1 N610129981AA
HOLDER
2
2 N210152812AA
HOLDER
2
3 N210144024AA
BLOCK
2
4 N210093068AA
BLOCK
2
5 N210093069AA
KIT
1
6 N610059137AA
GUIDE
2
7 N210074395AB
GUIDE
2
8 N210074396AB
O192
--
( KN610129980AA-01 )

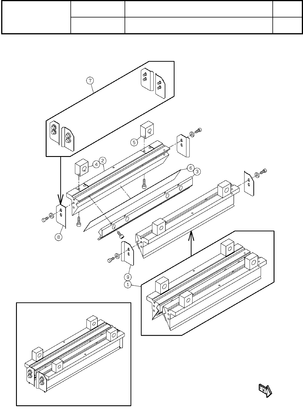
76
プラスチックスキージセット(L=270):SPD
Plastic Squeegee Set(L=270):SPD
パーツレイアウト
Kit No.
キット品番
Kit Name
キット名称
N610129982AA
セクションNo.
PARTS LAYOUT
Section No.
--
O193
( KN610129982AA-00 )

Ref
No.
Remarks R
1
Q'ty
76
プラスチックスキージセット(L=270):SPD
Plastic Squeegee Set(L=270):SPD
イラスト
No.
Part No.
品 名品 番 数量
R
2
パーツリスト
Kit No.
キット品番
Kit Name
キット名称
N610129982AA
Part Name
備 考
セクションNo.
PARTS LIST
Section No.
R
3
KIT
1
1 N610129983AA
HOLDER
2
2 N210152813AA
HOLDER
2
3 N210102540AB
BLOCK
2
4 N210093068AA
BLOCK
2
5 N210093069AA
SQUEEGEE
2
6 N510006649AA
A
270X40X0.5
KIT
1
7 N610059137AA
GUIDE
2
8 N210074395AB
GUIDE
2
9 N210074396AB
O194
--
( KN610129982AA-00 )