SPV - 第429页
Ref No. Remark s R 1 Q'ty 78 アドバンストメタ ルスキージ( 出代切替タイプ )セット(L =270) SP 18用 A dvanced M etal Squeegee (D ecawa Sw itch Type) Set(L =270) イラスト No. Part No. 品 名 品 番 数量 R 2 パーツリスト Kit No. キット品 番 Kit Name キット名称 N610088161A…

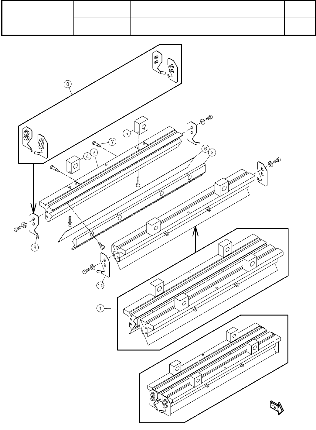
78
アドバンストメタルスキージ(出代切替タイプ)セット(L=270) SP18用
A
dvanced Metal Squeegee (Decawa Switch Type) Set(L=270)
パーツレイアウト
Kit No.
キット品番
Kit Name
キット名称
N610088161AA
セクションNo.
PARTS LAYOUT
Section No.
--
O197
( KN610088161AA-03 )

Ref
No.
Remarks R
1
Q'ty
78
アドバンストメタルスキージ(出代切替タイプ)セット(L=270) SP18用
A
dvanced Metal Squeegee (Decawa Switch Type) Set(L=270)
イラスト
No.
Part No.
品 名品 番 数量
R
2
パーツリスト
Kit No.
キット品番
Kit Name
キット名称
N610088161AA
Part Name
備 考
セクションNo.
PARTS LIST
Section No.
R
3
KIT
1
1 N610088167AA
HOLDER
2
2 N210107816AA
HOLDER
2
3 N210102540AB
BLOCK
2
4 N210093068AA
BLOCK
2
5 N210093069AA
SQUEEGEE
2
6 N510047261AA
A
PFOS_Free Dimpie metal squeegee 270X40X0.2(DDA)
BOLT
12
7 N510017381AA
Hexagon socket head cap screw M4X8-10.9 A2J (Trivalent)
BOLT
8
8 N510017351AA
Hexagon socket head cap screw M4X16-10.9 A2J (Trivalent)
WASHER
8
9 N510018497AA
Round finish plain washer 4 10H A2J (Trivalent)
WASHER
12
10 N510018479AA
Small round-plain washer 4 10H A2J (Trivalent)
BOLT
4
11 N510032515AA MMSB4.5-10
PLATE
2
12 N210107817AA
BOLT
2
13 N510017376AA
Hexagon socket head cap screw M4X6-10.9 A2J (Trivalent)
KIT
1
14 N610040374AA
BLOCK
1
15 N210050698AA
BLOCK
1
16 N210050700AA
PIN
4
17 N210008119AC
PIN
4
18 N210008118AB
BRACKET
4
19 N210051570AA
PIN
8
20 N510020572AA MMS1-10
SPRING
4
21 N510020797AA 87UF3-10
SPRING
4
22 N510020800AA 87UL4-10
KIT
1
23 N610059137AA
GUIDE
2
24 N210074395AB
GUIDE
2
25 N210074396AB
BOLT
8
26 N510017344AA
Hexagon socket head cap screw M4X10-10.9 A2J (Trivalent)
WASHER
8
27 N510020099AA Thick washer M4
O198
--
( KN610088161AA-03 )

79
メタルスキージセット(出代18mm ブレード厚0.3mm):L=370
Metal Squeegee Set(Decawa18mm Blade0.3mm):L=370
パーツレイアウト
Kit No.
キット品番
Kit Name
キット名称
N610154801AA
セクションNo.
PARTS LAYOUT
Section No.
--
O199
( KN610154801AA-02 )