SPV - 第432页
80 メタルスキージ セット(出代18mm ブレード厚0. 3mm):L =270 Meta l Squeegee Set(D ecaw a18mm Blade0.3mm):L =270 パーツレイアウト Kit No . キット品番 Kit Name キット名称 N610154810AA セクションNo. PARTS LAYOUT Section No. - - O201 ( KN610154810AA-01 )

Ref
No.
Remarks R
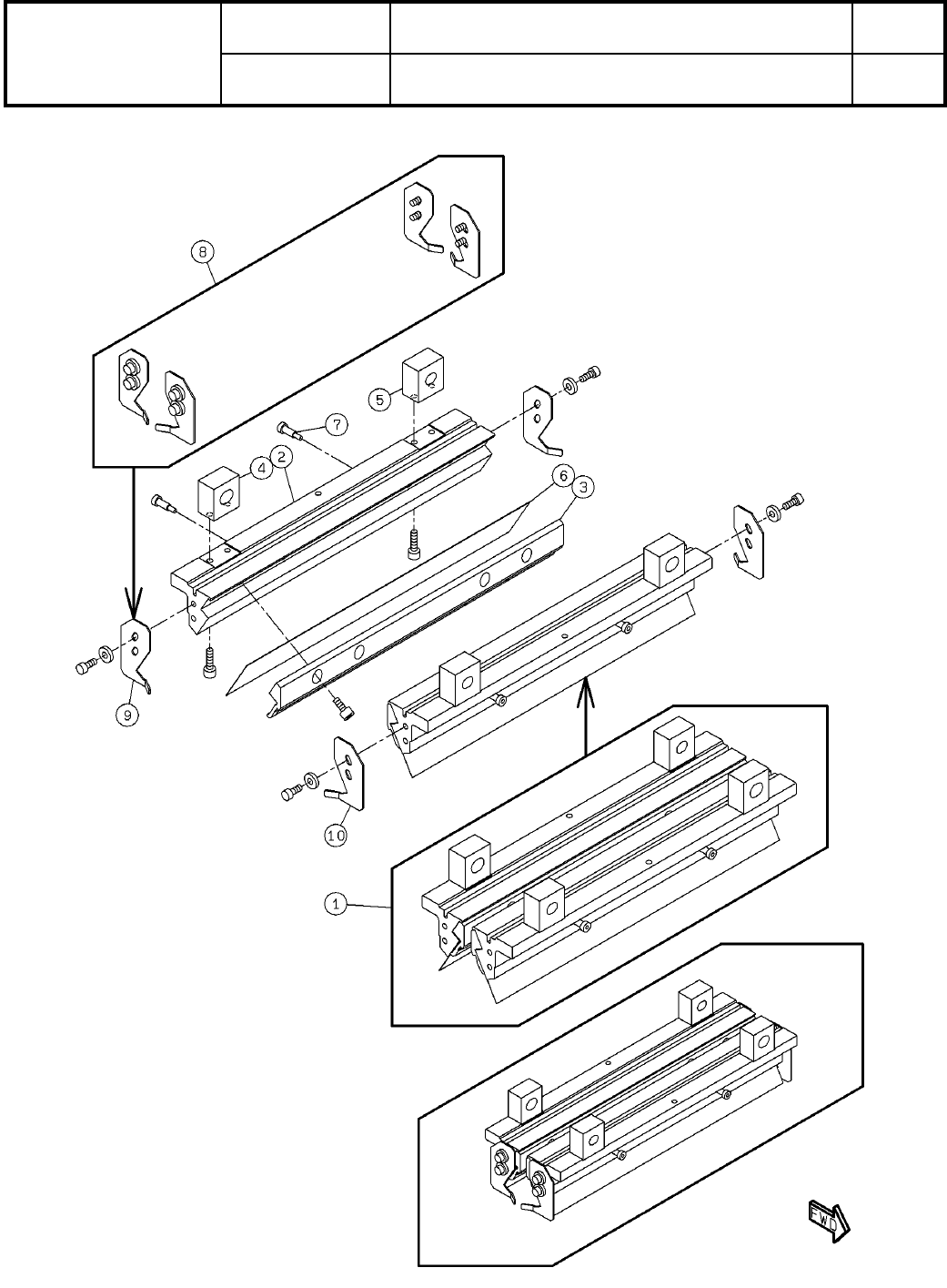
1
Q'ty
79
メタルスキージセット(出代18mm ブレード厚0.3mm):L=370
Metal Squeegee Set(Decawa18mm Blade0.3mm):L=370
イラスト
No.
Part No.
品 名品 番 数量
R
2
パーツリスト
Kit No.
キット品番
Kit Name
キット名称
N610154801AA
Part Name
備 考
セクションNo.
PARTS LIST
Section No.
R
3
KIT
1
1 N610154802AA
HOLDER
2
2 N210182258AA
HOLDER
2
3 N210144024AA
BLOCK
2
4 N210093068AA
BLOCK
2
5 N210093069AA
SQUEEGEE
2
6 N510065898AA
PFOS_Free metal squeegee(Teflon Coating) 370X40X0.3
BOLT
4
7 N510032515AA MMSB4.5-10
KIT
1
8 N610154845AA
GUIDE
2
9 N210182289AA
GUIDE
2
10 N210182290AA
O200
--
( KN610154801AA-02 )

80
メタルスキージセット(出代18mm ブレード厚0.3mm):L=270
Metal Squeegee Set(Decawa18mm Blade0.3mm):L=270
パーツレイアウト
Kit No.
キット品番
Kit Name
キット名称
N610154810AA
セクションNo.
PARTS LAYOUT
Section No.
--
O201
( KN610154810AA-01 )

Ref
No.
Remarks R
1
Q'ty
80
メタルスキージセット(出代18mm ブレード厚0.3mm):L=270
Metal Squeegee Set(Decawa18mm Blade0.3mm):L=270
イラスト
No.
Part No.
品 名品 番 数量
R
2
パーツリスト
Kit No.
キット品番
Kit Name
キット名称
N610154810AA
Part Name
備 考
セクションNo.
PARTS LIST
Section No.
R
3
KIT
1
0 N610154811AA
HOLDER
2
1 N210182260AA
HOLDER
2
2 N210102540AB
BLOCK
2
3 N210093068AA
BLOCK
2
4 N210093069AA
SQUEEGEE
2
5 N510065897AA
A
PFOS_Free metal squeegee(Teflon Coating) 270X40X0.3
BOLT
4
6 N510032515AA MMSB4.5-10
KIT
1
11 N610154845AA
GUIDE
2
12 N210182289AA
GUIDE
2
13 N210182290AA
O202
--
( KN610154810AA-01 )