SPV - 第514页
19 本体部(背面機 ):SPV Main Body (Sub Machine):SPV パーツレイアウト Kit No . キット品番 Kit Name キット名称 MTKA000234AA セクションNo. PARTS LAYOUT Section No. - - S183 ( KMTKA000234AA-06 -1 )

Standard Parts
標準部品
NM-EJP8A
Exclusive Parts
専用部品

19
本体部(背面機):SPV
Main Body(Sub Machine):SPV
パーツレイアウト
Kit No.
キット品番
Kit Name
キット名称
MTKA000234AA
セクションNo.
PARTS LAYOUT
Section No.
-
-
S183
( KMTKA000234AA-06-1 )

Ref
No.
Remarks R
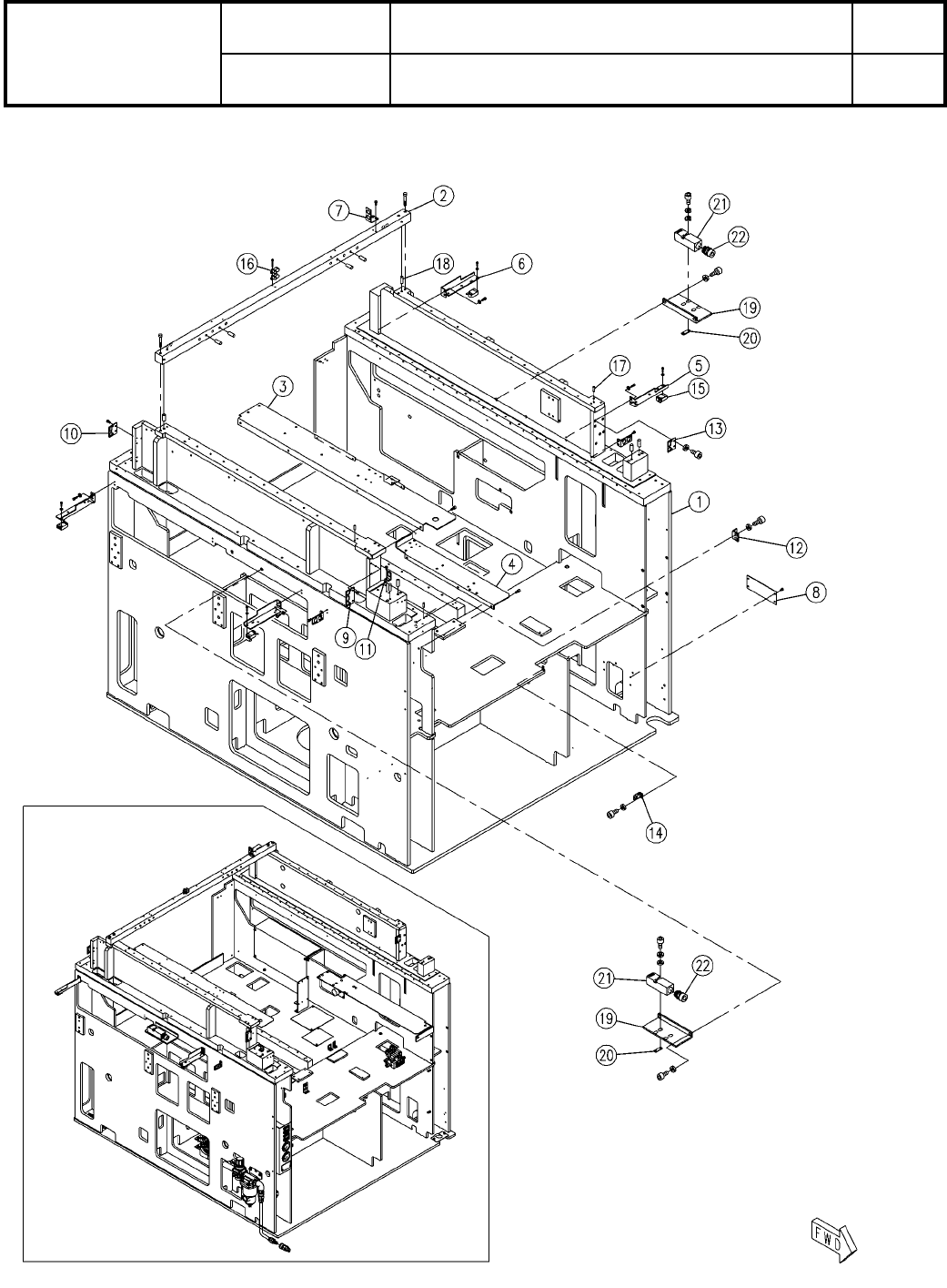
1
Q'ty
19
本体部(背面機):SPV
Main Body(Sub Machine):SPV
イラスト
No.
Part No.
品 名品 番 数量
R
2
パーツリスト
Kit No.
キット品番
Kit Name
キット名称
MTKA000234AA
Part Name
備 考
セクションNo.
PARTS LIST
Section No.
R
3
FRAME
1
1 MTKP000537AH
BAR
1
2 MTPA001879AD
BRACKET
1
3 MTPB000996AF
BRACKET
1
4 MTPB001000AB
BRACKET
2
5 MTPB005305AA
BRACKET
2
6 MTPB005306AA
BRACKET
2
7 N210097322AA
COVER
1
8 MTPB004414AB
BRACKET
1
9 MTPB002895AB
BRACKET
1
10 MTPB002896AB
BRACKET
2
11 KXFB02ALA00
BRACKET
2
12 MTPB004406AA
BRACKET
1
13 MTPB004501AB
BRACKET
1
14 KXFB0AQFA00
SENSOR(400-1300mm)
2
15 MTKP000585AA
JOINT
2
16 N510066629AA KQ2U04-00A
PIN
3
17 KXF052NAA00 SPP4-10
PIN
10
18 N510020618AA MMS6-15
BRACKET
2
19 MTPB005301AA
NUT-PLATE
2
20 KXFB03UPA00
SWITCH
2
21 N510056987AA
S
HS5D-02RNP
JOINT
2
22 KXF06F4AA00 53015030-WM
S184
-
-
( KMTKA000234AA-06-1 )