SPV - 第583页
Ref No. Remark s R 1 Q'ty 25 銘板・警告ラベル (全体カバー・背面機): SP V Label(W hole Cover-Su b Machine):SPV イラスト No. Part No. 品 名 品 番 数量 R 2 パーツリスト Kit No. キット品 番 Kit Name キット名称 MTKA000242AA Part Nam e 備 考 セクションNo. PARTS LIST Sect…

25
銘板・警告ラベル(全体カバー・背面機):SPV
Label(Whole Cover-Sub Machine):SPV
パーツレイアウト
Kit No.
キット品番
Kit Name
キット名称
MTKA000242AA
セクションNo.
PARTS LAYOUT
Section No.
-
-
S251
( KMTKA000242AA-07-5 )

Ref
No.
Remarks R
1
Q'ty
25
銘板・警告ラベル(全体カバー・背面機):SPV
Label(Whole Cover-Sub Machine):SPV
イラスト
No.
Part No.
品 名品 番 数量
R
2
パーツリスト
Kit No.
キット品番
Kit Name
キット名称
MTKA000242AA
Part Name
備 考
セクションNo.
PARTS LIST
Section No.
R
3
LABEL
1
1 MTPL000108AB
S252
-
-
( KMTKA000242AA-07-5 )

26
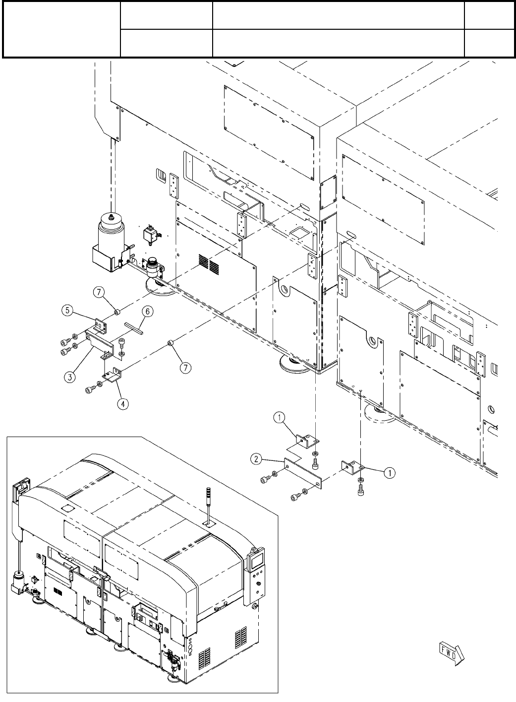
親子連結対応配線保護ブラケット:SPV
Cable Protection Bracket:SPV
パーツレイアウト
Kit No.
キット品番
Kit Name
キット名称
MTKA000325AA
セクションNo.
PARTS LAYOUT
Section No.
--
S253
( KMTKA000325AA-02 )